施工阶段质量控制程序.doc

上传人:p** 文档编号:1051628 上传时间:2024-06-26 格式:DOC 页数:4 大小:93KB
下载 相关 举报
施工阶段质量控制程序.doc_第1页
第1页 / 共4页
施工阶段质量控制程序.doc_第2页
第2页 / 共4页
施工阶段质量控制程序.doc_第3页
第3页 / 共4页
施工阶段质量控制程序.doc_第4页
第4页 / 共4页
亲,该文档总共4页,全部预览完了,如果喜欢就下载吧!
资源描述

《施工阶段质量控制程序.doc》由会员分享,可在线阅读,更多相关《施工阶段质量控制程序.doc(4页珍藏版)》请在第壹文秘上搜索。

1、附图二 施工阶段质量控制程序加倍复试或换材料承包单位申报材料合格证、复验单审批开工申请、下达开工令承包单位申报施工方案 修 监 理 审 批改 不合格 不合格 分部、分项工程施工 整改 整 施工试验及监理取样 改附:隐验单预检单质量保证资料分项工程质量评定表 各分项、隐蔽工程自检 不合格填报工序质量报验单(附分项工程质量评定表) 合格监理工程师现场检查、及抽检30%点及审查试验报告及抽检30%不合格 合格 签发工序质量报验单并在自检资料上签字 进入下一道工序施工 分部工程完成 签改 分项(隐蔽)工序质量报验单和分项工程质量评定表填写分部工程报验 承包单位 附内业资料检查 监理工程师 现场检查 监

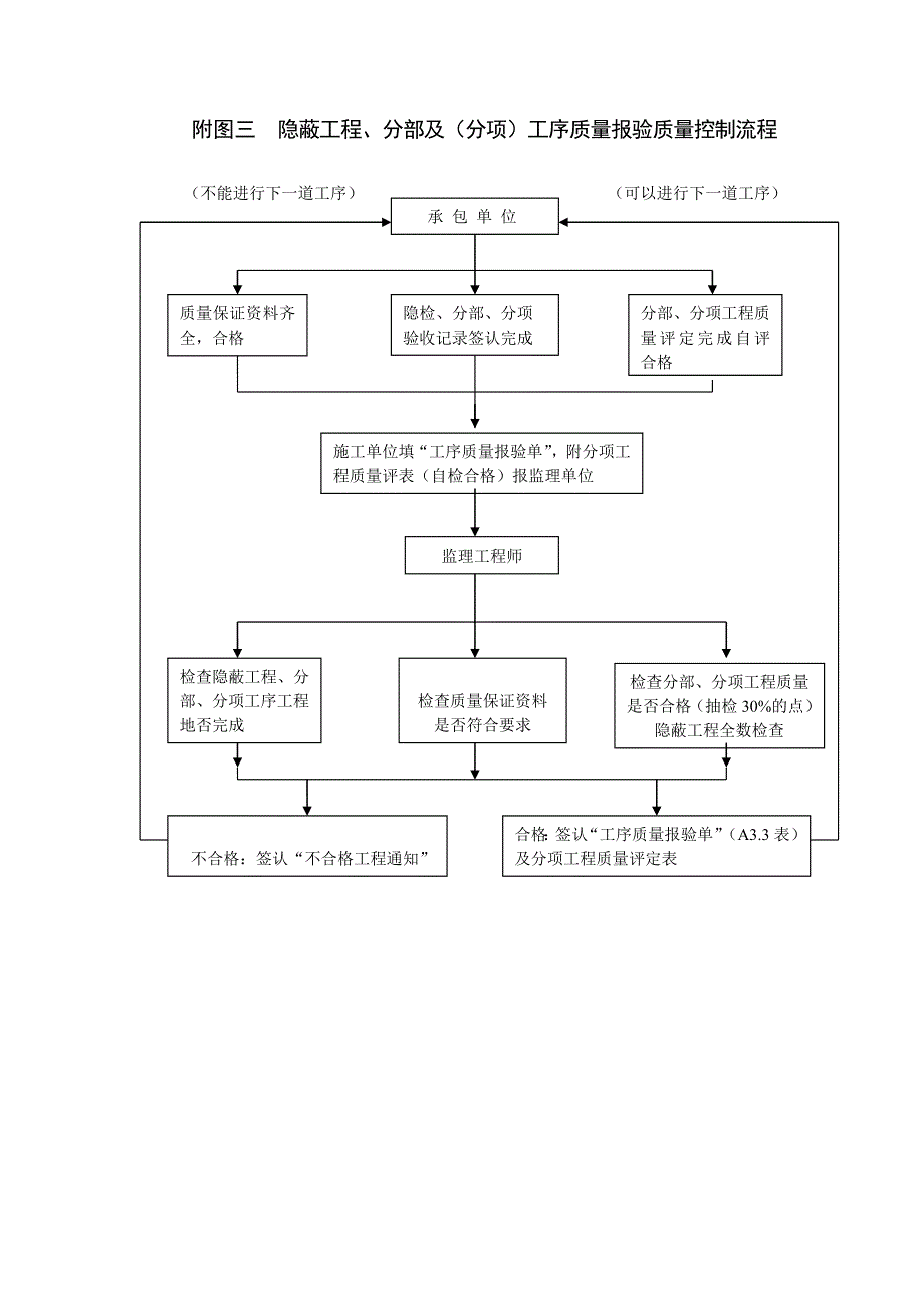
2、理工程师 检 查 结 果 不合格 合格 签发分部工程检验认可书(A3.3表) 监理工程师附图三 隐蔽工程、分部及(分项)工序质量报验质量控制流程 承 包 单 位(不能进行下一道工序) (可以进行下一道工序)质量保证资料齐全,合格隐检、分部、分项验收记录签认完成分部、分项工程质量评定完成自评合格施工单位填“工序质量报验单”,附分项工程质量评表(自检合格)报监理单位报监理单位 监理工程师检查分部、分项工程质量是否合格(抽检30%的点)隐蔽工程全数检查检查质量保证资料是否符合要求检查隐蔽工程、分部、分项工序工程地否完成合格:签认“工序质量报验单”(A3.3表)及分项工程质量评定表不合格:签认“不合格

3、工程通知” 方案设计、修改 设计单位图四:桩基工程监理流程图设计合理性监理工程师 NO设计经济师监理工程师 NO技术参数的选择监理工程师 NO施工单位招投标监理参加开工准备施工单位开工申请施工单位审核开工条件监理工程师 NO签发开工令监理工程师试件养护试验监理检查做混凝土试件监理旁站制备混凝土监理旁站材料配比、计量监理检查原材料抽检质检部门材料试验承包商自检钢筋笼制作监理检查泥浆调制监理检查钻孔设备状态监理检查施工钻孔监理检查 NO成孔质量检查、清淤监理检查钢筋笼安放监理检查下导管监理检查第二次清孔监理复查浇柱混凝土监理旁站混凝土养护施工单位桩基质量检测监理旁站NO分析原因、采取措施监理参加下

4、道工序 桩基质量评定 监理参加附表一目 录序号资料名称页 码备 注一桩基工程施工、技术管理资料1工程概况2工程地质钻探报告(勘察报告)3工程测量、定位放线记录4图纸会审记录5施工组织设计或施工方案6设计变更7工程开、竣工报告8技术交底资料9预制桩进场验收记录10钢桩进场验收记录11桩基工程验收记录12桩基复测记录13桩竣工图14桩基质量事故处理记录15桩基工程竣工验收记录二桩基工程质量保证资料16钢材合格证、试验报告汇总表17钢材合格证、试验报告18钢材焊接试验报告、焊条(剂)合格证汇总表19钢材焊接试验报告、焊条(剂)合格证20水泥出厂合格证、试验报告汇总表21水泥出厂合格证、试验报告22砼

5、外加剂及试配单23砼配合比通知单24砼粗细骨料试验报告25砼试块试验报告汇总表26砼试验报告27砼强度等级评定28砼强度非破损及其它测试认证报告29桩合格证汇总表30桩合格证31桩试打记录32桩裁荷试验报告和桩身质量检测报告三桩基工程质量评定资料33桩基工程质量保证资料核查表34模板分项工程质量检验评定表35钢筋绑扎分项工程质量检验评定表36钢筋焊接分项工程质量检验评定表37钢筋成品分项工程质量检验评定表38砼原料和拌合物质量检验评定表39现场预制桩分项工程检验评定表40打(压)桩分项工程质量检验评定表41泥浆护壁成孔灌注桩分项工程质量检验评定表42锤击、振动沉管灌注桩分项工程质量检验评定表43螺旋钻、洛阳铲钻孔灌注桩分项工程质量检验评定表44人工挖孔灌注桩分项工程质量检验评定表

展开阅读全文
相关资源
猜你喜欢
相关搜索

当前位置:首页 > 管理/人力资源 > 质量管理

copyright@ 2008-2023 1wenmi网站版权所有

经营许可证编号:宁ICP备2022001189号-1

本站为文档C2C交易模式,即用户上传的文档直接被用户下载,本站只是中间服务平台,本站所有文档下载所得的收益归上传人(含作者)所有。第壹文秘仅提供信息存储空间,仅对用户上传内容的表现方式做保护处理,对上载内容本身不做任何修改或编辑。若文档所含内容侵犯了您的版权或隐私,请立即通知第壹文秘网,我们立即给予删除!