工程的重点、难点及其控制程序.docx

上传人:p** 文档编号:1181985 上传时间:2024-09-20 格式:DOCX 页数:2 大小:19.37KB
下载 相关 举报
工程的重点、难点及其控制程序.docx_第1页
第1页 / 共2页
工程的重点、难点及其控制程序.docx_第2页
第2页 / 共2页
亲,该文档总共2页,全部预览完了,如果喜欢就下载吧!
资源描述

《工程的重点、难点及其控制程序.docx》由会员分享,可在线阅读,更多相关《工程的重点、难点及其控制程序.docx(2页珍藏版)》请在第壹文秘上搜索。

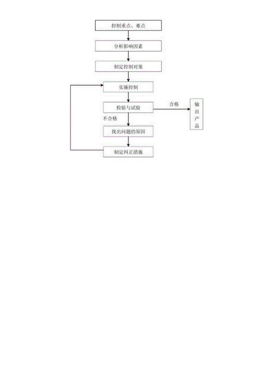
工程的重点、难点及其控制程序(一)本工程的重点通过对施工现场的考察和对施工图纸的反复研究,认为本工程的重点部位是首层电悌大堂及电悌间。(二)本工程的施工难点1、施工现场,道路情况良好,材料的运输比较方便。2、本工程施工范围大,施工内容多,因此,在施工时必须组建大项目部,安排多个施工班组同时进场施工,才能确保施工进度,从而使施工管理上增加了难度。3、由于本工程装修施工的同时,水电、土建等各项工程也在同步进行,施工范围内多工种穿插交错作业,需要协调配合的内容较多,施工难度大。4、施工过程中材料垂直运输比较困难。施工时与总包方协调,考虑利用土建塔吊及平台升降机。5、在施工过程中对一些特殊部位的处理,如地面瓷砖拼贴;卫生间防水问题;比如石材用量大,采购、运输难度大等问题。(三)针对以上工程重点、难点的控制程序根据本工程具体情况,进行综合分析,依据灵活机动原则,确定各分项工程的控制重点、难度和控制程序。控制程序见下图:

展开阅读全文
相关资源
猜你喜欢
相关搜索

当前位置:首页 > 管理/人力资源 > 工程管理

copyright@ 2008-2023 1wenmi网站版权所有

经营许可证编号:宁ICP备2022001189号-1

本站为文档C2C交易模式,即用户上传的文档直接被用户下载,本站只是中间服务平台,本站所有文档下载所得的收益归上传人(含作者)所有。第壹文秘仅提供信息存储空间,仅对用户上传内容的表现方式做保护处理,对上载内容本身不做任何修改或编辑。若文档所含内容侵犯了您的版权或隐私,请立即通知第壹文秘网,我们立即给予删除!