中学安全网格化管理体系图.docx

上传人:p** 文档编号:1267939 上传时间:2024-12-27 格式:DOCX 页数:1 大小:34.91KB
下载 相关 举报
中学安全网格化管理体系图.docx_第1页
第1页 / 共1页
亲,该文档总共1页,全部预览完了,如果喜欢就下载吧!
资源描述

《中学安全网格化管理体系图.docx》由会员分享,可在线阅读,更多相关《中学安全网格化管理体系图.docx(1页珍藏版)》请在第壹文秘上搜索。

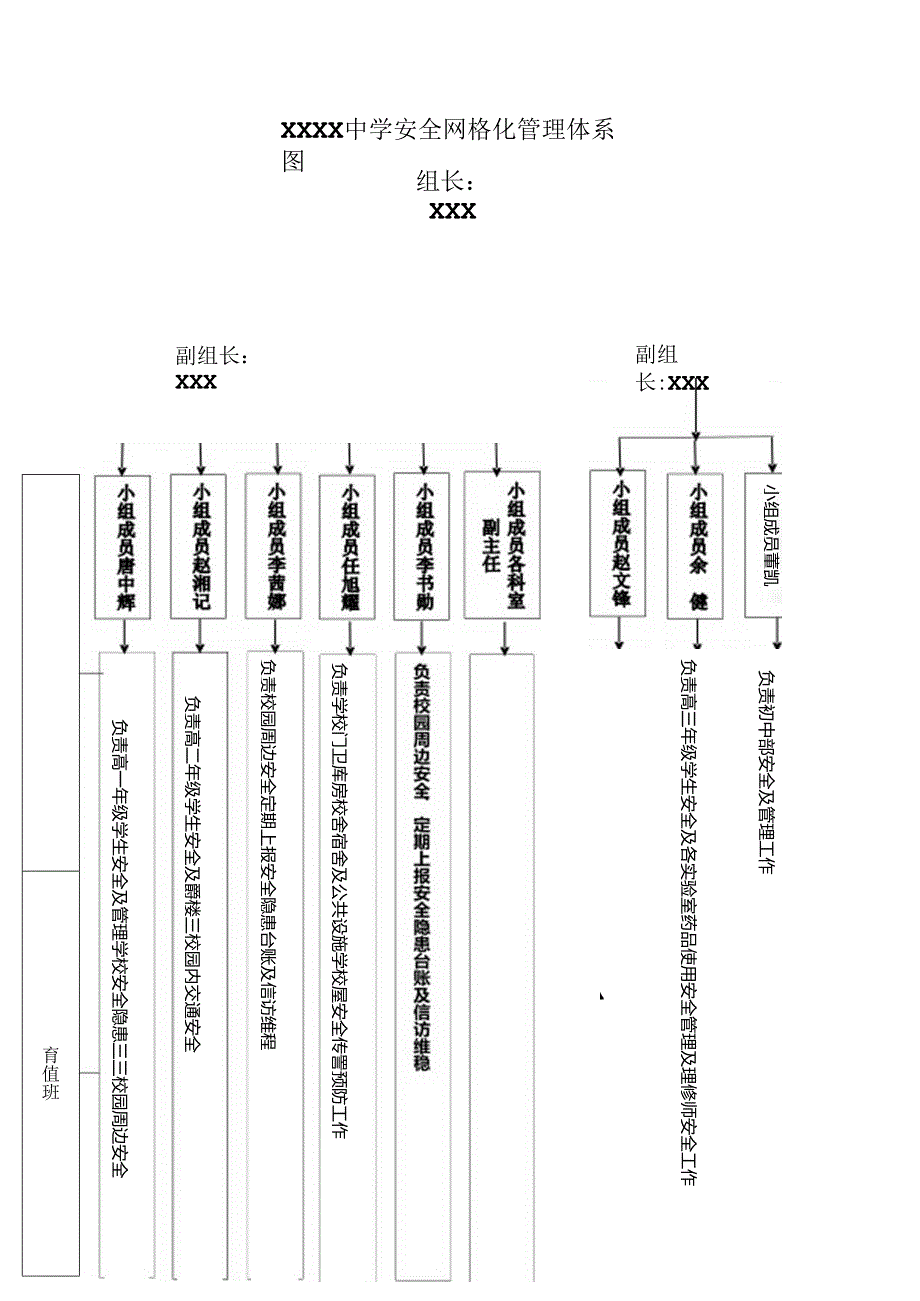
XXXX中学安全网格化管理体系图组长:XXX副组长:XXX副组长:XXX小组成员董凯负责初中部安全及管理工作负责高三年级学生安全及各实验室药品使用安全管理及理修师安全工作负责普机室阅览室音美室1家属楼及文科教师安全工作负责学校门卫库房校舍宿舍及公共设施学校屋安全传詈预防工作负责校园周边安全定期上报安全隐患台账及信访维程负责高二年级学生安全及爵楼三校园内交通安全育值班负责高一年级学生安全及管理学校安全隐患三三校园周边安全

展开阅读全文
相关资源
猜你喜欢
相关搜索

当前位置:首页 > 论文 > 管理论文

copyright@ 2008-2023 1wenmi网站版权所有

经营许可证编号:宁ICP备2022001189号-1

本站为文档C2C交易模式,即用户上传的文档直接被用户下载,本站只是中间服务平台,本站所有文档下载所得的收益归上传人(含作者)所有。第壹文秘仅提供信息存储空间,仅对用户上传内容的表现方式做保护处理,对上载内容本身不做任何修改或编辑。若文档所含内容侵犯了您的版权或隐私,请立即通知第壹文秘网,我们立即给予删除!