敷设吊线式墙壁电缆技能点教案.docx

上传人:p** 文档编号:1271345 上传时间:2024-12-27 格式:DOCX 页数:3 大小:79.17KB
下载 相关 举报
敷设吊线式墙壁电缆技能点教案.docx_第1页
第1页 / 共3页
敷设吊线式墙壁电缆技能点教案.docx_第2页
第2页 / 共3页
敷设吊线式墙壁电缆技能点教案.docx_第3页
第3页 / 共3页
亲,该文档总共3页,全部预览完了,如果喜欢就下载吧!
资源描述

《敷设吊线式墙壁电缆技能点教案.docx》由会员分享,可在线阅读,更多相关《敷设吊线式墙壁电缆技能点教案.docx(3页珍藏版)》请在第壹文秘上搜索。

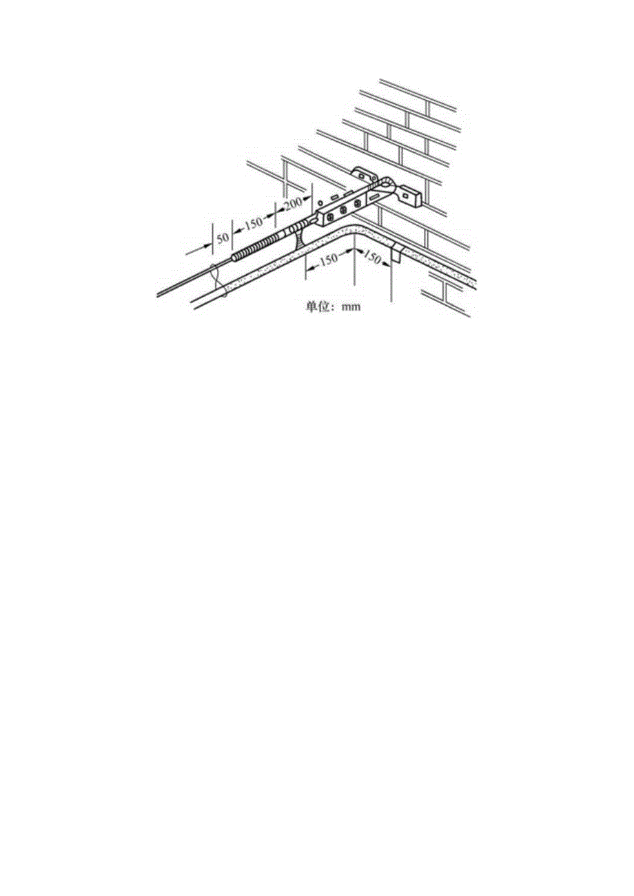
敷设吊线式墙壁电缆一、教学目标掌握吊线的敷设和吊线式墙壁电缆的敷设二、教学重点、难点吊线的敷设和吊线式墙壁电缆的敷设。三、教学过程设计1 .吊线的敷设首先介绍吊线的基本结构,然后介绍吊线垂直固定在塔壁上,两支持物间最大跨距应小于20m,其终端固定物可采用终端拉攀装置、有眼拉攀装置或双插墙担装置。具体情况如图所示。不小干2/3必要时用水泥铸牢2 .吊线式墙壁电缆的敷设吊线式堵壁电缆的吊线终湍,一般使用U型钢片,吊线式墙壁电缆各种终端、中间支持物,应装设牢固、横平竖直、整齐美观,各支撑点应尽量水平。墙壁电缆的挂钩程式和卡挂规格与架空电缆相同,具体结构如图所示。IIOI10I10I=.,/,,.,/.,=n吊线1.6mm刚纹卜5网单位:cm四、课后作业或思考题1 .简述M线的敷设要求。2 .简述吊线式墙壁电缆的敷设要求。五、本节小结本节主要讲授r吊线的敷设和墙壁式电缆的敷设。

展开阅读全文
相关资源
猜你喜欢
相关搜索

当前位置:首页 > IT计算机 > 网络与通信

copyright@ 2008-2023 1wenmi网站版权所有

经营许可证编号:宁ICP备2022001189号-1

本站为文档C2C交易模式,即用户上传的文档直接被用户下载,本站只是中间服务平台,本站所有文档下载所得的收益归上传人(含作者)所有。第壹文秘仅提供信息存储空间,仅对用户上传内容的表现方式做保护处理,对上载内容本身不做任何修改或编辑。若文档所含内容侵犯了您的版权或隐私,请立即通知第壹文秘网,我们立即给予删除!