常见气体的实验室制备.docx

上传人:p** 文档编号:1285849 上传时间:2025-01-16 格式:DOCX 页数:16 大小:207.38KB
下载 相关 举报
常见气体的实验室制备.docx_第1页
第1页 / 共16页
常见气体的实验室制备.docx_第2页
第2页 / 共16页
常见气体的实验室制备.docx_第3页
第3页 / 共16页
常见气体的实验室制备.docx_第4页
第4页 / 共16页
常见气体的实验室制备.docx_第5页
第5页 / 共16页
常见气体的实验室制备.docx_第6页
第6页 / 共16页
常见气体的实验室制备.docx_第7页
第7页 / 共16页
常见气体的实验室制备.docx_第8页
第8页 / 共16页
常见气体的实验室制备.docx_第9页
第9页 / 共16页
常见气体的实验室制备.docx_第10页
第10页 / 共16页
亲,该文档总共16页,到这儿已超出免费预览范围,如果喜欢就下载吧!
资源描述

《常见气体的实验室制备.docx》由会员分享,可在线阅读,更多相关《常见气体的实验室制备.docx(16页珍藏版)》请在第壹文秘上搜索。

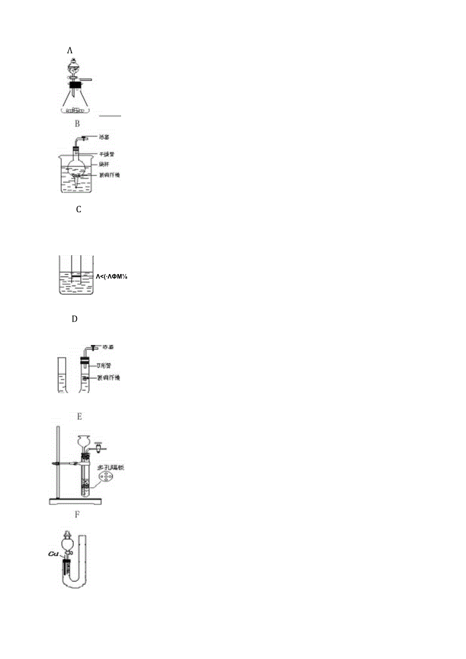
1、常见气体的试验室制备气体试验装置的设计1、装置依次:制气装置f净扮装置f反应或收集装置一除尾气装置2、安装依次:由下向上,由左向右3、操作依次:装配仪涔一检验气密性一加入药品一进行试验一拆除装置气体发生装置的类型设计原则:依据反应原理、反应物状态和反应所需条件等因素来选择反应装置,装置基本类里:装置固体反应物(加热)固液反应物(不加热)固液反应物(加热)装置示意图-JAfc=a-:0气体02、NH3、CH等HCo2、H6等。C1.2、HCkCH2=CH2等操作要点(1)试管口应稍向下倾斜,以防止产生的水蒸气在管口冷凝后倒流而引起试管裂开。(2)铁夹应夹在试管口1/3处。(3)胶塞上的导管伸入试

2、管里面不能太长,否则会阻碍气体的导出。(4)若用排水法收集气体,停止加热前.应先将导气管从水中取出.(D可通过分液漏斗来限制液体用量和气体的生成速率。(2)分液液斗可改用长颈漏斗,但漏斗颈的下口应伸入液面以下,否则起不到液封的作用。3)反应容活可视制气房的多少选择试管,广口瓶、烧瓶等。(D可通过分液漏斗来限制液体用量和气体的牛.成速率。(2)若被加热液体沸点较低,烧瓶中要加细瓷片.(;)若用排水法收集气体,停止加热前,应先将导气管从水中取出.装置气密性的检验把导管端浸入水中,用双手捂住烧瓶或试管,借手的热量使容器内的空气膨胀(或用酒精灯加热),容器内的空气则从导管口形成气泡冒出,把手(酒精灯)

3、拿开,过-会,水沿导管上升,形成小段水柱,说明装置不漏气。启普发生器:关闭活塞后,从漏斗注入肯定量的水,使漏斗内的水面高丁容器内的水面,停止加水后,漏斗中与容器中的液面差保持不再改变,说明启普发生器不漏气。几种常见气体制备装置8(如何检查装置的气密性)C=3CU(No3)2+2Not+4H:0排水法NOi乙烯浓H6O,r排水法CzHsOH170。CCH:=CHat+H0几种气体的快速制取方法制氧气:2HQ产22-2H2+CM2Na2+2H20=4Na0H+OCao制纭气:NH1.Ho=NHR+HaO制氯化氢:向浓硫酸中滴加浓盐酸制氯气:2KMnQ+1.6HC1.=2KC1.+2MnCh+5CI

4、t+8H2净化、干燥与反应装1、杂质产生缘由:反应过程中有挥发性物质,如用盐酸制取的气体中一般有HcI:从溶液中冒出的气体中含有水气。副反应或杂质参与反就引起,如制乙烯时含SO2:乙烘中的HnS等,2、装置基本类型:依据净化药品的状态及条件来设计装置适用范围液体除杂剂(不加热)固体除杂剂(不加热)固体除杂剂(加热)装置T心,e=o-4=4-示意图v4bHwm3、气体的净化剂的选择选择气体汲取剂的依据:气体的性质和杂质的性质的差异。主要考虑的是汲取效果,而不是现象。选择一种与杂质反应快而且反应完全的除杂剂。一般状况下:易溶于水的气体杂膜可用水来汲取:酸性杂质可用碱性物质汲取:碱性杂质可用酸性物质

5、汲取:水分可用干燥剂来汲取:能与杂质反应生成沉淀(或可溶物)的物质也可作为汲取剂。选用汲取剂的原则:只能汲取气体中的杂质,而不能与被提纯的气体反应。不能引入新的杂质。在密闭装置中进行,要保持装酉气体畅通:4、气体干燥剂的类型及选择常用的气体干燥剂按酸碱性可分为三类:酸性干燥剂,如浓硫酸、五辄化二磷、硅胶。酸性干燥剂能够干燥显酸性或中性的气体,如Co2、So2、No2、HC1.H2、Ch、0”CH4等气体。碱性干燥剂,如生石灰、喊石灰、固体NaoH。碱性干燥剂可以用来干燥显碱性或中性的气体,如NHhH八0”CH4等气体。中性干燥剂,如无水氯化钙等,可以干燥中性、酸性气体,如02、H2、CHS等。

6、在选用干燥剂时,显碱性的气体不能选用酸性干燥剂,显酸性的气体不能选用碱性干燥剂。有还原性的气体不能选用有氧化性的干燥剂。能与气体反应的物质不能选作干燥剂,如不能用CaCk来干燥NHI(因生成CaChSNHO,不能用浓FhSeh干燥NH3、HSHBr,H1.等。5、气体净化与干燥装置连接次序洗气装巴总是进气管插入接近瓶底,出气管口略出瓶塞。干燥管总是大口进,小口出气。一般状况下,若采纳溶液作除杂试剂,则是先除杂后干燥:若采纳加热除去杂质,则是先干燥后加热。对于有毒、有吉的气体尾气必需用适当的溶液加以汲取(或点燃),使它们变为无毒、无害、无污染的物质。如尾气Ch、So2、Br2(蒸气)等可用NaO

7、H溶液汲取:尾气H6可用CUSOa或NaOH溶液汲取:尾气Co可用点燃法,将它转化为CO?气体。收集装置I、设计原则:依据气体的溶解性或密度(1)易溶或与水反应的气体:用向上(或卜)排空气法(2)与空气成分反应或与空气虚度相近的气体:排水(液)法(3)可溶性气体考虑用排液法(4)两种方法皆可用时,排水法收集的气体较纯。若欲制取的气体要求干燥,用持空气法或排非水溶剂法。2、装置基本类型:装置类型排水(液)集气法向上排空气集气法向下排空气集气法装置示意图EW适用范困不溶于水(液)的气体密度大于空气的气体密度小F空气的气体典型气体H2、02、NO、8、CH八CH2=CH2CH三CHCI2、HCkCo

8、2、So2、HjSH2、NH3、CHu尾气处理装Jt-平安装置尾气的处理方法:干脆排放、干脆汲取、防倒吸汲取、燃烧处理处理装置1)干脆汲取(2)防止倒吸装置的设计在某些试验中,由于汲取液的倒吸,会对试验产生不良的影响.如玻璃仪潜的炸裂,反应试剂的污染等,因此,在有关试验中必需实行肯定的措施防止汲取液的倒吸。防止倒吸般采纳下列措施:a切断装置:将有可能产生液体倒吸的密闭装置系统切断,以防止液体倒吸.照试验室中制取氧气、甲烷时,通常用排水法收集气体,当试验结束时,必需先从水槽中将导管拿出来,然后熄灭酒精灯。b设置防护装置:倒立漏斗式:这种装置可以增大气体与汲取液的接触面积,有利F汲取液对气体的汲取

9、。当易溶性气体被汲取液汲取时,导管内压强削减,汲取液上升到漏斗中,由于漏斗容积较大,导致烧杯中液面下降,使漏斗口脱齿液面,漏斗中的汲取液受自身求力的作用又流回烧瓶内,从而防止汲取液的倒吸。下一个装置所示,对于易溶于水难溶于有机溶剂的气体,气体在有机溶剂不会倒吸。肚容式:当易溶于汲取液的气体由干燥管末端进入汲取液被汲取后,导气管内压强削减,使汲取液倒吸进入干燥管的汲取液本身质量大于干燥管内外压强差,汲取液受自身重量的作用乂流回烧杯内,从而防止汲取液的倒吸,这种装置与倒置漏斗很类似。蓄液式:当汲取液发生倒吸时,倒吸进来的汲取液被预先设置的蓄液装身贮存起来,以防止汲取液进入受热仪器或反应容罂。这种装

10、置乂称平安瓶。平衡压强式:为防止分液漏斗中的液体不能顺当流出,用橡皮管连接成连通装置(见恒压式);防堵塞平安装置式:为防止反应体系中压强削减,引起汲取液的倒吸,可以在密闭装理系统中连接一个能与外界相通的装理,起若自动调整系统内外压强差的作用,防止溶液的倒吸。为防止粉末或糊状物堵塞导气管,可将棉花团置于导管门处。液封装置:为防止气体从长颈漏斗中逸出,在发生装置中的漏斗末端套住一只小试管悬空式倒立漏斗式肚容式蓄液平安粗式平衡压强式防堵塞平安装置防堵塞平安装置液封式(3)防污染平安装置:燃烧处理或袋装推断原则有毒、污染环境的气体不能干脆排放。尾气汲取要选择合适的汲取剂和汲取装干脆汲取:CI2、HzS

11、、NCh防倒吸:HCkNHuSO2常用汲取剂:水,NaOH溶液,硫酸铜溶液6、排水量气装置标准装置可燃性气体I1.难用汲取剂汲取:燃烧处理或袋装。如C0。7、常见气体检验方法气体状态检验方法和发生的现化学反应方程式简洁引起的推断错误氨气无色气体混合空气点燃,有爆呜声,生成物只有水2H2+O22H:0不是只有H2才产生爆鸣声氧气色体无气用带余烬的木条放入,木条过燃C+02-co;氯气黄绿色有用潮湿的碘化钾淀刺激性气粉试纸检验,试纸变蚯味的气体能漂白湿石疡试纸2K1+Ch-2KC1.+h03、NO2和澳蒸气也能使碘化钾淀粉试纸变就SCh有同样性质氯化公无色有刺激性的气体用蘸有浓H水的玻璃棒罪近,目白烟将气体通入AgNOJ溶液有白色沉淀用潮湿的蓝色石茯试纸检验,试纸变红NH.+HQNH4CIAgNoJ+HC1.AgC1.J+HNO*遇潮湿的蓝色石蕊试纸变红的气体许多(如So,SO3、COe等),推断要慎Oi二氧化旅手化右捌使酸性高锚酸钾溶加黑液褪色,变为无色)通入品红溶液褪色,的二体加热颜色如见2M11O4+2Hi05S02=2Mn2+5SJ+4HCk通入品红溶液也会褪色,但加热不亚现红色硫化氢无色而有加入Pb(No*)2溶液有臭鸡蛋气黑色沉淀或遇潮湿的味的气体Pb(NO3)2试纸变黑Pb2+H:

展开阅读全文
相关资源
猜你喜欢
相关搜索

当前位置:首页 > 资格/认证考试 > 思科认证

copyright@ 2008-2023 1wenmi网站版权所有

经营许可证编号:宁ICP备2022001189号-1

本站为文档C2C交易模式,即用户上传的文档直接被用户下载,本站只是中间服务平台,本站所有文档下载所得的收益归上传人(含作者)所有。第壹文秘仅提供信息存储空间,仅对用户上传内容的表现方式做保护处理,对上载内容本身不做任何修改或编辑。若文档所含内容侵犯了您的版权或隐私,请立即通知第壹文秘网,我们立即给予删除!