SMS案例分析.ppt

上传人:p** 文档编号:171873 上传时间:2023-03-17 格式:PPT 页数:34 大小:255.49KB
下载 相关 举报
SMS案例分析.ppt_第1页
第1页 / 共34页
SMS案例分析.ppt_第2页
第2页 / 共34页
SMS案例分析.ppt_第3页
第3页 / 共34页
SMS案例分析.ppt_第4页
第4页 / 共34页
SMS案例分析.ppt_第5页
第5页 / 共34页
SMS案例分析.ppt_第6页
第6页 / 共34页
SMS案例分析.ppt_第7页
第7页 / 共34页
SMS案例分析.ppt_第8页
第8页 / 共34页
SMS案例分析.ppt_第9页
第9页 / 共34页
SMS案例分析.ppt_第10页
第10页 / 共34页
亲,该文档总共34页,到这儿已超出免费预览范围,如果喜欢就下载吧!
资源描述

《SMS案例分析.ppt》由会员分享,可在线阅读,更多相关《SMS案例分析.ppt(34页珍藏版)》请在第壹文秘上搜索。

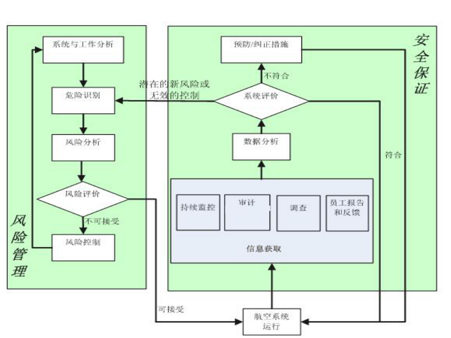
1、调查程序调查程序1)根据调查收集的信息按照航空安全管理手册“6.3 数据分析”、“6.4 系统评价”进行数据分析、系统评价后,如属风险控制措施未落实或落实不符合,安全监察员应填写整改通知单,提交各部门经理审核后,下发给各部门。相关部门在收到整改通知单后,按照航空安全管理手册“6.5 预防和纠正措施”的要求,制定并实施纠正措施和预防措施。2)根据调查收集的信息进行数据分析、系统评价后,如属无效控制或新危险源,安全监察员应按照航空安全管理手册“5”风险管理、“附录4 风险管理程序”要求,启动风险管理。3)调查结束后,安全监察员应将事实信息、分析、结论和原因、安全建议、危险源、危险源的风险值、风险控

2、制措施等记录下来。4)负责调查的相关部门应对落实情况进行复核验证后关闭。审计或审查程序审计或审查程序1)各部门将安全检查和内部审核发现的问题,应按照航空安全管理手册中“6.2 航空安全信息管理”、“6.3 数据分析”和“6.4 系统评价”的要求进行信息上报、数据分析和系统评价:(1)如所发现的问题属风险控制措施未落实或落实不符合,安全监察员应填写整改通知单,提交各部门经理审核后,下发给相关部门。相关部门在收到整改通知单后,按照航空安全管理手册“6.5 预防和纠正措施”的要求,制定并实施纠正措施和预防措施。(2)如所发现的问题属无效控制或新危险源,应按按照航空安全管理手册“5”风险管理”、“附录

3、4 风险管理程序”要求,启动风险管理。2) 安全监察员应将事实信息、分析、结论和原因、安全建议、危险源、危险源的风险值、风险控制措施等记录备案。3) 应对落实情况进行复核验证后关闭。各生产运行部门持续监控各生产运行部门持续监控各生产运行部门应利用现有的检查、检验、放行、现场监察值班、班后分析、讲评等多种持续监控手段和方式,持续进行日常、现场的监控,确保能够充分、及时地收集获取运行的有效信息,为评价风险控制措施的有效性以及识别新危险源提供信息。重点监测风险控制措施是否实施和实施后的效果,注重发现安全隐患、系统及组织缺陷,尤其应关注相关部门职责交叉和接口部分的运行安全状况,发现薄弱环节,识别危险源

4、。飞行部持续监控的渠道应包括每月安全教育日记录、飞行数据、机组飞行报告、培训记录、飞行训练记录、外包方/外委单位审核记录、部门值班记录、航班会记录、文件收发记录等。机务工程部持续监控的渠道应包括每月安全教育日记录、维修记录、工作交接班记录、飞机故障信息记录、飞机保留项目记录、部件拆换记录、发动机监控数据记录、时控件监控记录、可靠性管理记录、飞机履历本记录、航班会记录、外包方/外委单位审核记录、文件接收下发记录等。运控部持续监控的渠道应包括每月安全教育日记录、航班会记录、业务人员交接班记录、不正常事件信息报告、培训记录、文件接收下发记录、外包方/外委单位审核记录等。商务部持续监控的渠道应包括监装

5、监卸记录、货物配载记录、拉货记录、货物进出库记录、货物复核记录、进港货物清点记录、货物收运安检记录、查询记录、带班主任值班记录、班组长定期汇报记录、理赔记录、文件接收下发记录、外包方/外委单位审核记录、航班会记录等。保卫部持续监控的渠道应包括机场控制区通行证办理记录、交接班记录、民航车牌办理记录、航班会记录等。员工报告员工报告(1)安监部收到航空安全信息后,应对信息进行初始评估,包括判断事件等级、事件类型、近三月内发生的频次等,并分类登记备案。若航空安全信息缺失要素(发生时间、地点、事件描述、报告人和联系方式等)必须向报告部门/报告人补充核实。(2)安监部在初始风险分析完成后根据实际情况判断是

6、否需启动调查,如需启动调查则依据附录7“调查程序”进行处理。(3)凡涉及新的危险源,必须由危险源所在部门启动风险管理或纠正/预防措施。(4)对于安全隐患报告(自愿报告),各生产运行部门和安监部在接到员工的实名安全隐患报告后,应对报告人的身份严格保密,在收到报告后5个工作日内将相关调查结果向报告人进行反馈。数据分析数据分析(1)通过持续监控、内部审核、内部评估、外部审核、员工安全报告和反馈系统、事件调查、外部信息等获得的数据要及时记录,并进行数据分析。(2)数据分析的重点是要对组织管理缺陷、各运行要素人-机-环的关系、运行过程中风险控制措施的有效性和SMS的有效性进行分析。(3)通过数据分析评估

7、运行过程和SMS改进的需求。如何进行数据分析如何进行数据分析(1)从发生日期、责任单位、原因、等级、导致结果、处置情况等方面进行统计分析,重点从人(违章、差错和组织管理),机(飞机系统、设备老化、突发性故障、失修、设计缺陷)、环(恶劣天气、交通管制、机场设施、突发事件、工作场所、通讯环境)方面进行分析,从而统计出数据的图形分布、表格、百分比等结果。(2)使用鱼刺图、事故树、因果逆推法等其他方法进行分析。系统评价要求系统评价要求(1)评价运行过程相关安全功能与规章和公司要求的符合性。(2)评价SMS与规章和公司要求的符合性。(3)评价风险控制措施的有效性和规章要求的符合性。(4)通过系统评价得出

8、现行的风险控制措施或SMS要求的符合性、是否有新的危险源的结论。(5)保存系统评价的相关文件和记录。系统评价实施系统评价实施(1)当运行过程相关安全功能、SMS与规章和公司要求符合时,在生产运行系统中进行持续监控;(2)当数据分析发现共性问题和重大问题时,启动纠正/预防措施程序,实施纠正或预防措施;(3)当发现新的危险源或风险控制措施无效时,立即启动风险管理程序,实施风险管理。纠正措施控制纠正措施控制(1)安监部根据与风险控制措施不符合问题的调查和原因分析结果,确定责任部门。(2)识别出与风险控制措施不符合问题时,按照与风险控制措施不符合问题的严重性实施调查分析,并按照优先级别制定和实施纠正措

9、施。(3)责任部门应在原因分析的基础上,依据“风险管理程序”的相关要求制定风险控制方案/措施,确定与风险控制措施不符合问题再发生应采取哪些措施,需要哪些资源,充分考虑安全经验教训,制定具体的纠正措施,明确保障条件、措施实施人和完成时间,并报安监部备案。(4)跨部门的纠正措施由安监部协调落实。重大纠正措施需报安全总监审核批准后实施。纠正措施实施的监督、跟踪和验证纠正措施实施的监督、跟踪和验证(1)安监部负责组织责任部门对已发生的与风险控制措施不符合问题所采取的纠正措施实施情况进行跟踪和验证,确保纠正措施的实施达到预期效果,能有效防止与风险控制措施不符合问题的再次发生。(2)公司安全总监对重大纠正

10、措施的有效性进行监督。(3)经验证有效的纠正措施,按相关程序进行相关文件和程序的修订。存在潜在的风险或无效的控制存在潜在的风险或无效的控制启动时机启动时机1)在进行下述工作前,应首先进行风险管理:(1)系统、组织机构建立的初始阶段。包括公司组织机构的调整、新基地、新部门的建立、新的系统设计等;(2)建立新的运行程序时。包括公司新航线开辟,新机型的引进、制定新的作业或程序等;(3)在日常正常的运行过程中,通过持续监控、审核、调查、员工安全报告系统所收集的信息,经过数据分析和系统评价后,发现潜在的新风险或无效的控制时;(4)对系统和运行过程的主动变更时,包括现有系统设计的更改、运行程序的变更、作业

11、环节的更改等情况。2)公司实施1)的项目前,只有经过了风险管理,所有识别出的危险源的风险被判定为可接受或缓解后可接受后,1)的项目方可实施。系统和工作分析系统和工作分析通过对影响公司飞行运行、运行控制、机务工程、商务、训练等生产运行过程、支持保障过程的内部和外部相互作用的系统进行系统和工作分析,使用SHELL模型评估组织结构、运行过程和程序、运行环境、人员、设备的状况、飞机状况(含零部件/器材)等,以及相互间的影响,以有效识别危险源。进行系统和工作分析时,应考虑以下方面:(1)公司与其他系统(如机场、空管等)间的相互作用;(2)公司整个体系内各领域的系统功能;(3)员工工作;(4)人为因素对运

12、行和维修的影响;(5)系统的硬件部分;(6)系统的软件部分;(7)为系统运行和使用提供指南的有关程序;(8)外界环境;(9)运行环境;(10)维修环境;(11)外委的和购买的产品和服务;(12)上述各项的相互影响;(13)对系统、系统的相互影响以及现有的风险控制措施所做的任何假设。系统与工作分析应详细到足以识别危险源的程度。表4 xxxx部危险源清单及风险列表ABCDEFG-HIJKLM-NOP-QRSTUVWX系统子系统一级流程二级流程三级流程危险源名称编号与危险源 相关联的事件 危险源的致因(导致危险源的原因)可能造成的问题(后果)时态(过去/现在/将来)现有风险控制措施可能性严重性风险值

13、风险等级(可接受/缓解后可接受/不可接受)状态(正常/异常/紧急)建议的风险控制措施剩余可能性剩余严重性剩余风险值衍生风险控制状态(未控制/控制中/关闭)应急措施实施风险控制措施证据飞行运行航班生产飞行实施巡航航路释压氧气面罩盖板上方摆放杂物201010192010-10-19号事件驾驶舱内机组氧气面罩盖板上方放有航线手册等杂物导致应急下降时氧气面罩不易于取戴过去/现在无236缓解后可接受异常 建议建立驾驶舱物品摆放管理规定,在检查单中加入关键位置检查内容133无控制中机组移除摆放在氧气面罩盖板上方的杂物危险源识别危险源识别危险源的确定是一个不断发展的过程。危险源识别应从系统与工作分析的描述或

14、从安全保证功能发现的各类事件的描述(信息)着手,利用各种识别危险源方法,逐层分析系统缺陷或事件发生的原因,直至找出系统及其运行环境中存在的人的不安全行为、物的不安全状态、环境的不安全情况和组织或管理的因素,即危险源。危险源信息应是可追溯的,并被记录下来,在整个风险管理过程中始终被管理。风险分析风险分析风险分析是危险源识别的后续衔接过程。风险分析包括原因分析、潜在后果发生的可能性分析和潜在后果的严重性分析。 (1)原因分析通过对形成风险的各种原因、现有的风险控制措施和可能的触发机制进行分析,查找风险的根原因。(2)危险源产生合理可能的不利后果的可能性危险源产生合理可能的不利后果的可能性等级分为频

15、繁、经常、偶尔、极少和不太可能五个级别。(3)危险源产生合理可能的不利后果的严重性危险源产生合理可能的不利后果的严重性等级分为灾难性、特别严重、严重、轻微和可忽略五个级别。风险评价风险评价(1)风险评价风险评价是根据风险分析的结果,估计危险源产生合理可能的不利后果的风险值并与风险可接受标准比较,判断风险可接受性的过程。风险值=可能性(P)严重性(L)通过风险评价,危险源的风险等级分为不可接受、缓解后可接受和可接受三级。(2)风险可接受标准等级定量值危险源导致潜在不利后果的严重性灾难性的5事故征候及事故重大的4出现下列情况之一:1、直接损失:航材、航空器10万(含)以上;或地面设备、设施损坏,材

16、料报废等,其直接经济损失在人民币1万元(含)以上;2、安全运行的影响:4小时(含)以上;3、人身伤害:1人(含)以上受轻伤(含)以上,但未及国标(GB1464893,GB184322001)所规定的重伤;4、对外影响:对空管、机场、其它公司、公众影响大。 严重的3出现下列情况之一:1、直接损失:航材、航空器5万(含)以上,10万以下;或地面设备、设施损坏,材料报废等,其直接经济损失在人民币0.2万元(含)以上,1万以下;2、安全运行的影响:2小时(含)以上,4小时以下;3、人身伤害:1人(含)以上受轻伤;4、安全:由于违章、失职危及安全;5、对外影响:对空管、机场、其它公司、公众有一定影响。轻微的2出现下列情况之一:1、直接损失:航材、航空器1万(含)以上,5万以下;或地面设备、设施损坏,材料报废等,其直接经济损失在人民币0.1万元(含)以上,0.2万以下;2、安全运行的影响:1小时(含)以上,2小时以下;3、安全:违反标准操作程序;4、人身伤害:受轻伤以下。可忽略的1轻微以下等级定量值危险源导致潜在不利后果的严重性特别频繁5运行一年可能会发生10次以上经常4运行一年可能会发生5次偶尔

展开阅读全文
相关资源
猜你喜欢
相关搜索

当前位置:首页 > 管理/人力资源 > 市场营销

copyright@ 2008-2023 1wenmi网站版权所有

经营许可证编号:宁ICP备2022001189号-1

本站为文档C2C交易模式,即用户上传的文档直接被用户下载,本站只是中间服务平台,本站所有文档下载所得的收益归上传人(含作者)所有。第壹文秘仅提供信息存储空间,仅对用户上传内容的表现方式做保护处理,对上载内容本身不做任何修改或编辑。若文档所含内容侵犯了您的版权或隐私,请立即通知第壹文秘网,我们立即给予删除!