原材料检验控制程序.docx

上传人:p** 文档编号:219178 上传时间:2023-04-17 格式:DOCX 页数:3 大小:47.78KB
下载 相关 举报
原材料检验控制程序.docx_第1页
第1页 / 共3页
原材料检验控制程序.docx_第2页
第2页 / 共3页
原材料检验控制程序.docx_第3页
第3页 / 共3页
亲,该文档总共3页,全部预览完了,如果喜欢就下载吧!
资源描述

《原材料检验控制程序.docx》由会员分享,可在线阅读,更多相关《原材料检验控制程序.docx(3页珍藏版)》请在第壹文秘上搜索。

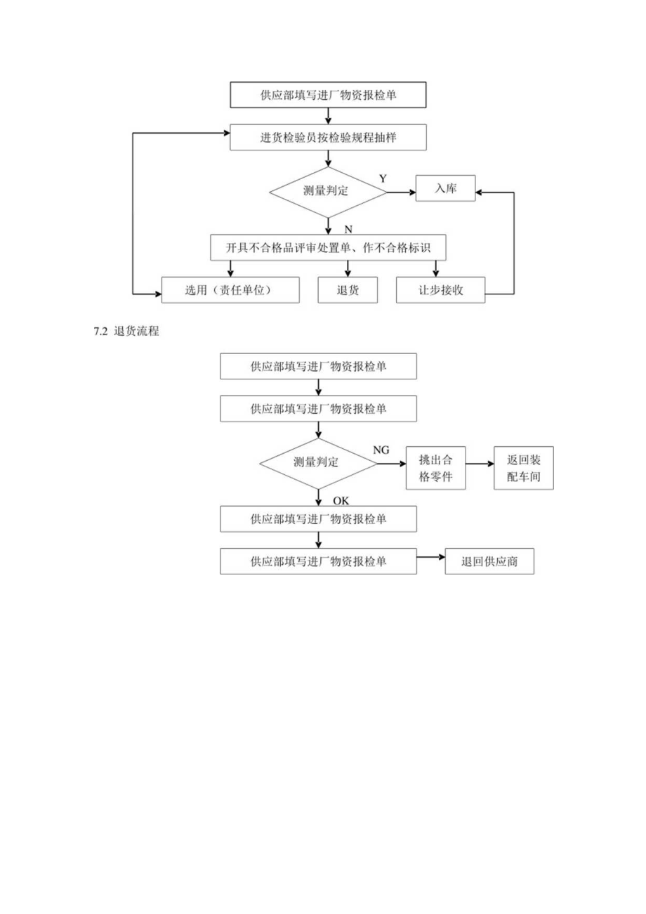
1、原材料检验控制程序1.目的确保进货物料符合规定的要求,使未经检验、验证或检验不合格的毛坯、零部件、外购件不进入仓库,同时为评估和选择提供依据。2 .范围适用于采购入公司的各种生产性原辅材料、外购外协件的检验。3 .职责3.1质检部负责对原辅材料进货质量控制,进货人员按进货检验和试验规程、检验指导书对生产性作进厂检验、试验及供应商品质异常状况的反馈与监控,并做好检验和试验状态标识。3.2待检室人员负责进货物料的登记、开具检验单,对检验完毕后的物料进行检验状态的区分;负责通知采购人员到货情况及物料处置品存放和联络事宜。3.3仓库人员负责物料的点收及保管工作。3. 4技术部负责提供采购(或外协)物资

2、的图纸(或样品实物)、技术标准、产品零配件目录及采购物资分类明细表等技术资料。4. 5供应部负责编制采购计划,实施采购,负责不合格品处置,联络供应商组织进行质量改进;负责组织相关人员进行贷方评定工作。4.工作程序4.1 进货检验4. 1.1技术部依据标准、技术要求、合同要求等编制进货检验作业指导书,对每项重要检验项目的方式、方法贮存作出规定,其内容必须包括:检验方法、检验工具以及精度、抽样方法和验证方式。对于复杂的检验和试验须制定检验和试验操作规程。4. 1.2外购外协件、原辅材料到达公司后,由供应部开出送检单送至质检部进货检验员实施检验。4. 1.3供方送货人员将物料送至待检区,质检部进货检

3、验员依送检单,及有关合格证明文件、检验报告,及时到送货点现场按检验和试验规程随即抽样,并按检验文件作业指导书对产品进行正常检验,填写记录单送呈主管负责人审批,对非标准或非常用物料无检验依据的原材料,材料提供人需提供产品相关的技术资料。4. 1.4验收结果判定合格,由进货检验员在送检单上标注合格结论,并做好合格标识,并将送检单交至仓库原物料收货处。4. 1.5仓库管理员凭送检单办理入库手续,不得接受不合格及未检验的产品。4. 2不合格处理4. 2.1不合格品的处理不合格控制程序执行。4. 2.2不合格品经返工(返修)、分拣后,必须经过重新检验。检验合格后,检验员在不合格品评审处置单上注明,填入合格数和不合格数。主管负责人复核后办理入库手续。如再不合格,按4.2.1条执行。4. 3紧急放行5. 3.1任何进厂物资,必须经过质检部检验,不存在紧急放行。6. 相关文件检验和试验程序进货检验规程不合格控制程序7. 质量记录送检单不合格品评审/处置单8. 流程图9. 1原材料控制流程

展开阅读全文
相关资源
猜你喜欢
相关搜索

当前位置:首页 > 管理/人力资源 > 质量管理

copyright@ 2008-2023 1wenmi网站版权所有

经营许可证编号:宁ICP备2022001189号-1

本站为文档C2C交易模式,即用户上传的文档直接被用户下载,本站只是中间服务平台,本站所有文档下载所得的收益归上传人(含作者)所有。第壹文秘仅提供信息存储空间,仅对用户上传内容的表现方式做保护处理,对上载内容本身不做任何修改或编辑。若文档所含内容侵犯了您的版权或隐私,请立即通知第壹文秘网,我们立即给予删除!