城市道路监控系统项目项目竣工验收方案.docx

上传人:p** 文档编号:221924 上传时间:2023-04-17 格式:DOCX 页数:7 大小:37.63KB
下载 相关 举报
城市道路监控系统项目项目竣工验收方案.docx_第1页
第1页 / 共7页
城市道路监控系统项目项目竣工验收方案.docx_第2页
第2页 / 共7页
城市道路监控系统项目项目竣工验收方案.docx_第3页
第3页 / 共7页
城市道路监控系统项目项目竣工验收方案.docx_第4页
第4页 / 共7页
城市道路监控系统项目项目竣工验收方案.docx_第5页
第5页 / 共7页
城市道路监控系统项目项目竣工验收方案.docx_第6页
第6页 / 共7页
城市道路监控系统项目项目竣工验收方案.docx_第7页
第7页 / 共7页
亲,该文档总共7页,全部预览完了,如果喜欢就下载吧!
资源描述

《城市道路监控系统项目项目竣工验收方案.docx》由会员分享,可在线阅读,更多相关《城市道路监控系统项目项目竣工验收方案.docx(7页珍藏版)》请在第壹文秘上搜索。

1、城市道路监控系统项目项目竣工验收方案1. 1验收依据智能建筑设计标准GB/T50314-2000智能建筑工程质量验收标准GB50339-2003电子计算机机房施工及验收规范SJ/T30003-93低压电器施工及验收规范GB50254-96电气照明装置施工及验收规范GB50259-961KV以下配线工程施工及验收规范GB50258-96安全防范工程程序与要求(GA/T75-94)电视系统工程设计规范(JGTl.5-87)民用建筑电气设计规范(JGT/T16-92)彩色电视图像质量主观评价方法(GB7401-87)安全防范系统通用图形符号(GA/T74-94)软件工程国家标准(GTB856)光纤分

2、布式数据接口(FDDI)高建局域网标准建筑电气安装工程质量检验评定标准(GBJ303-88)国家或地方政府的政策法规施工承包合同、招投标文件施工及验收规范、质量检验评定标准经确认的设计方案、施工图纸会审记录、竣工图纸及设备技术主管部门有关项目建设的批复文件;项目设计变更签证和技术核定单、测试资料。经批准的施工组织设计文件1.2竣工验收清单交工工程一览表,包括单位工程名称、以及工程质量评定等级;图纸会审记录,包括技术核定单及设计变更通知;竣工图;隐蔽工程记录及验收资料;材料、构件和设备的质量合格证及其它合同要求的证明文件;技术施工记录;施工日志;设备安装施工和检验记录;项目及单项工程的施工组织设

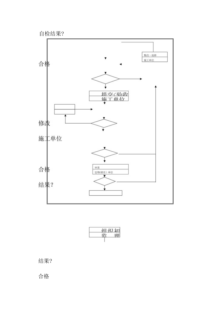
3、计;上级对该工程的有关技术决定;管理资料,包括开工报告、交工和中间交接资料;工程结算资料、文件和签证等;测试报告、调试记录。1.3竣工验收程序自检结果?结果?合格结果?组织正式验收建设主管单位合格不合格工程交接1.4视频监控系统验收计划1 .检测内容1)系统功能检测:摄像机的防拆、防破坏等纵深防御功能检测;云台转动、镜头、光圈的调节、调焦、变倍,图像切换、防护罩功能的检测。2)图像质量检测:在摄像机的标准照度下进行,进行图像的清晰度、灰度、系统信噪比、电源干扰、单频干扰、脉冲干扰等检测。检测方法:系统功能检测采用主观评价法。检测结果按彩色电视图像质量主观评价方法GB7401中的五级损伤制评定,

4、主观用客观测试。若清晰度、灰度在客观测试中已检测为合乎规定,可对噪声及各种干扰信号进行主观评价。在摄像机的标准照度下,整个系统的技术指标满足下表1的要求。表1:系统技术指标表项目指标值视频信号输出幅度IVp-p3dB彩色电视水平清晰度2480线灰度等级N8级信噪比40dB表2:图像观感表图像等级图像损伤主观评价5不察觉4可察觉,但不令人讨厌3有明显察觉,令人感到讨厌2较严重,令人相当讨厌1极严重,不能观看3)系统整体功能检测根据系统设计方案进行功能检测。包括:电视监控系统的监控范围、现场设备的接入率及完好率;开通稳定运行时间;矩阵监控主机的切换、遥控、编程、巡检、记录等功能;系统的跟踪性能等。对数字视频录像式监控系统还应检测主机宕机的记录、图像显示和记录速度、图像质量、对前端设备的控制功能、以及通信接口功能、远端联网功能等;对数字硬盘录像监控系统除检测其记录速度外,还应检测记录的检索、查找等功能;4)硬盘录像机应保存至少1个月(或按合同规定)的图像记录。2.摄像机抽检的数量应不低于10%,摄像机数量少于10台时全部检测。被抽检设备的合格率为90%时为合格。系统功能和联动功能全部检测,合格率为100%时为合格。

展开阅读全文
相关资源
猜你喜欢
相关搜索

当前位置:首页 > 建筑/环境 > 市政工程

copyright@ 2008-2023 1wenmi网站版权所有

经营许可证编号:宁ICP备2022001189号-1

本站为文档C2C交易模式,即用户上传的文档直接被用户下载,本站只是中间服务平台,本站所有文档下载所得的收益归上传人(含作者)所有。第壹文秘仅提供信息存储空间,仅对用户上传内容的表现方式做保护处理,对上载内容本身不做任何修改或编辑。若文档所含内容侵犯了您的版权或隐私,请立即通知第壹文秘网,我们立即给予删除!