来料检验控制程序保证不合格的材料不投入生产线使用.docx

上传人:p** 文档编号:342101 上传时间:2023-08-03 格式:DOCX 页数:12 大小:104.88KB
下载 相关 举报
来料检验控制程序保证不合格的材料不投入生产线使用.docx_第1页
第1页 / 共12页
来料检验控制程序保证不合格的材料不投入生产线使用.docx_第2页
第2页 / 共12页
来料检验控制程序保证不合格的材料不投入生产线使用.docx_第3页
第3页 / 共12页
来料检验控制程序保证不合格的材料不投入生产线使用.docx_第4页
第4页 / 共12页
来料检验控制程序保证不合格的材料不投入生产线使用.docx_第5页
第5页 / 共12页
来料检验控制程序保证不合格的材料不投入生产线使用.docx_第6页
第6页 / 共12页
来料检验控制程序保证不合格的材料不投入生产线使用.docx_第7页
第7页 / 共12页
来料检验控制程序保证不合格的材料不投入生产线使用.docx_第8页
第8页 / 共12页
来料检验控制程序保证不合格的材料不投入生产线使用.docx_第9页
第9页 / 共12页
来料检验控制程序保证不合格的材料不投入生产线使用.docx_第10页
第10页 / 共12页
亲,该文档总共12页,到这儿已超出免费预览范围,如果喜欢就下载吧!
资源描述

《来料检验控制程序保证不合格的材料不投入生产线使用.docx》由会员分享,可在线阅读,更多相关《来料检验控制程序保证不合格的材料不投入生产线使用.docx(12页珍藏版)》请在第壹文秘上搜索。

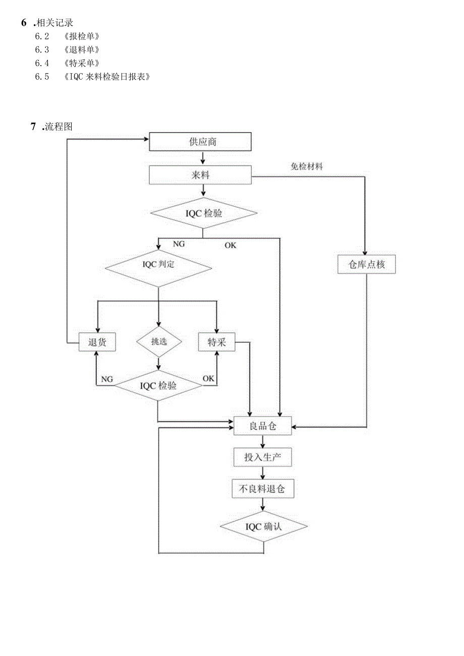
1、来料检验控制程序1 .目的通过对规定的进厂物料进行抽验或全检,保证不合格的材料不投入生产线使用。2 .范围本程序适用于品管工程部IQC来料检验。3 .职责3.1 品质工程部IQC负责实施进货检验、标识检验和试验状态。3.2 IQC负责人员的工作安排调配,材料供应商的评估及特采物料的评审。3.3 品管工程部主管负责检验标准及检验规范的批准。4 .程序4.1 进料检验的方法:4. 根据实际情况,IQC可采取以下方法对进料质量进行控制。5. 1.1客户提供或指定供应商要求本公司代购的生产材料、生产辅助材料的质量控制:A、根据客户要求,对客户提供的物料进行检验/试验。8. IQC检验及仓库点料入库时,

2、必须对环境物质要(RoHS)要求项目进行监视和测量,如果发现供应商提供的物料不符合RoHS要求,必须及时提报上司或客代确认,并将其醒目标示、隔离。1.1.2 自行采购物料进货质量的控制:A、根据对供应商现场审核的结果或供应商提供质量数据或本公司相关质量统计数据进行评价,对物料实施检验。1.1.3 原材料到厂后,仓库仓管员核对送货单确认物料是否为本公司自购物料,及时填写报检单通知IQC检验。1.1.4 IQC收到货仓报检单,核对送货单内容是否相符、清楚、齐全(客户名称、厂商名称、品号、规格、数量),如不符则需通知物控部采购处理。1.1.5 IQC将核对无异常之报检单转换成来料检验日报表,IQC检

3、验人员按材料检验规范对来料进行检验。4.2 接受准则:1. 2.1客户有要求时,按客户要求执行。4. 2.2客户未要求时,按AQL抽样计划书执行。4.3 进料的检验:4.3.1IQC检验场所,应准备必要的仪器设备、标准样件。照明必须满足检验的需要,客户对照明亮度有要求时,按客户要求设置照明。4.3.2对客户提供的标准样板,IQC在接受时进行确认:有适当的颜色、纹理、光泽、金属亮度、结构、形象清晰、和必要的文字说明。接受后的标准样件,需进行维护和保存,以保持标准样的完整性和有效性。4.3.3确定检验用的仪器设备,是否有经效验合格,并且使用要在校验的有效期内。4.3.4所有进料检验的人员,必须在培

4、训考核合格,确认合格后,方能上岗作业。4.4 IQC依据材料检验规范确认物料名称、检验方式、抽样水平、检验项目、检验标准等相关信息进行原材料的检验。4.5 抽检材料:4.5.1原材料到厂后,仓库仓管员核对送货单确认物料是否为本公司自购物料,及时填写报检单通知IQC检验,确认要检验的物料,则该仓管员负责将物料放置于待验区,并将填写好报检单交给IQC检验。4.5.2IQC在收到报检单核对无误后,转换成进料检验日报表,根据材料检验规范及抽样计划书,确定抽检样品数。依对应的材料检验规范、客户提供的检验标准及相关样品等,对物料进行检验。4.6全检流程:4.6.1原材料到厂后,IQC检验员依照材料检验规范

5、,确认物料检验方式是否为全检。4.6.2IQC检验员依照材料检验规范、相关样品执行100%全检。4.7环境物质测量4.7.1若来料为环保材料,则按R。HS进料检验规范执行。4.8合格品控制:4.8.1IQC检验合格,由IQC检验员记录于来料检验日报表中并签字,在抽样的物料外箱上贴抽样检验合格标签。4.9不合格控制:4.9.1IQC检验员在抽验及全检中发现的不合格品用红色箭头贴纸标识,然后在外箱上注明不良数量。4.9.2IQC检验不合格时,填写来料检验报表连同不良品交品管组长审核。4.9.3IQC组长审核后将来料检验报表连同不良样品一起交品管工程部主管确认。4.9.6不合格评审处理单对不良品判定

6、下来后,IQC检验员依照已判定处理方式开出特采单或退料单经品管组长、主管审核后贴至该批材料的显眼位置。4.9.7判定“供应商来员处理”之物料,IQC开出特采单,并登录于供应商来员处理进度表中,特采单经品管组长、品管主管审核后,贴至该批材料的显眼位置,待供应商来员处理。4.9.8判定特采之物料,以“是否有潜在品质隐患,是否影响生产”为原则,依物料特采控制程序确认处理。4.10物料退仓检验:4.10.1当生产线物料员退料回仓时,生产部必须附退料单,包装上需做好标示。4.10.2 IQC依单据按正常抽样计划对退料进行抽样检验,确认OK后在退料单或套料单上签名,退料入库。4.10.3 IQC检验员需将

7、退料检验结果记录于退料确认记录表中,并在标示上签名。4.10.4检验不合格时,记录于退料确认记录表标明是作业不良还是来料不良,生产线物料员将退料退仓。4 .10.5品管组长负责保存来料检验日报表。5.相关文件5 .1材料检验规范5.2 物料特采控制程序5.3 抽样计划书5.4 RoHS进料检验规范6 .相关记录6.2 报检单6.3 退料单6.4 特采单6.5 IQC来料检验日报表7 .流程图:件修订履历版次修订内容修订页次修订日期A/0初版发行无制定:潘亚磊审核:批准:精品文档精心整理制程检验控制程序1.0目的规范生产制程中的品质控制,确保生产过程中生产的半成品及成品均能符合质量要求,提高制程

8、能力,预防不良品的产生,避免不良品流入下工序或流出厂外。确保制程品的产品质量。2.0范围适用于从配料到成品入库各工序的制程检测与控制。3.0定义无4.0职责4.1 品质部:IPQC依据检验作业指导书及相关文件对上线物料的品质确认,首件产品的专检确认,制程中产品的巡检和转序抽检,并完成相应的检验记录。负责制程品质异常反馈与跟进和专项质量改进的跟进和验证。负责制程质量的统计分析及改进报告;在发生重大质量异常时,有要求生产部停线的权力;组织制程不合格品的评审和处置。4.2 生产部:负责制程产品的自检、互检,同品质部一道做好首件检验工作;并负责转序半成品和质量控制点工序半成品的全检。在品质及技术部的指

9、导下完成质量异常的纠正和预防工作及其它专项质量改进工作。4.3 技术部:负责制程检验标准及控制计划等相关技术标准和指导书的的制定;对制程的品质异常进行原因分析,提出有效的纠正和预防措施。参与制程不合格品的评审和处置。4.4 设备部:负责制程过程中所使用的机器设备、工装治具的调校、维修保养,确保制程中的机器设备、工装治具满足制程要求。负责在质量改进活动中的设备性能及操作方法的改进。5.0程序5.1 生产准备:当首次量产、异常停机后再次生产或产品转换时,需对生产计划、材料状况、技术文件、设备特性、工装情况、人员准备、计量器具等进行检查确保各项均符合要求后才可正常生产运作。5.2 首件检验5.2.1

10、 依据首检三检作业指导书规定要求进行首件检验,每班次开始或生产过程因换人、换料、换型号以及换工装、设备调整等改变工序作业条件后生产的产品,要进行“首件三检”。即员工自检:按照生产计划单上所生产的产品名称和型号,核对相应的图纸、工艺文件或样板对首件产品进行结构、性能、外观、尺寸方面的检验,将结果及设备参数填入首件检验记录表中并在自检栏签名,当自检合格后送当班生产管理或后工序员工进行互检。后道工序员工或生产管理为其互检,检验合格后在首件检验记录表互检栏签名,然后报IPQC进行专检,IPQC在首件检验记录表作出判定并于专检栏签名,确认合格后通知操作者继续作业;如IPQC确认首件不合格,IPQC向作业

11、员指出不合格部位或项目,要求其改进。作业员要重新加工首件,由生产车间组织查找原因或调整参数;必要时按照品质异常控制程序进行处理;要求相关部门调整设备、工装治具,优化作业方法后重新加工首件,直至首件合格方可批量生产。5.2.2 每次首件检验35PCS(特殊工艺按相关规定执行),对于外观的首检项目填写“和“X”,对于计量值则需填写具体测量数据,最终判定填写OK或NGo如有必要时,IPQC各工序应保留首件产品,便于产品一致性的确认。5.3 制程巡检1. 3.1IPQC按“QC工程图”和“检验作业指导书”的要求定时对各工序的品质进行巡查,巡查员工是否在违规操作,机器性能是否稳定,上线物料及制程产品的品

12、质是否合格一致;环境是否符合要求,员工测量的方法和仪器是否合格,并将检验结果记录于巡检记录表中。5. 3.2IPQC在巡检过程中检验到某工位或工序制程有异常时,需要求该工位或工序立即作出改善。当不良率超出各工序质量控制目标或出现严重品质异常时,按照品质异常控制程序进行处理;必要时要求该工位或工序停止作业直至改善合格才允许作业,同时跟踪验证纠正措施效果,并记录。6. 3.3IPQC检验依据工艺技术标准及各工序作业/检验指导书中的判定标准进行判定,对于制程中出现的不合格品,须按不合格品控制程序有关规定执行。5.4 自主检查生产车间作业员要在生产中进行自主检验.自主检验中作业员如发现品质异常时,应及

13、时停止作业,并向组长或IPQC汇报,寻求改善对策.5. 5最终全检重点工序下拉的半成品或质量控制点工序的半成品由生产部执行全检,全检出的不良品需由IPQC确认,并按不合格品控制程序进行处置。5.6转序及入库产品的确认5. 6.1生产部转序的半成品或成品必须是经检验的合格品,生产部应填写详细的移交产品型号规格、批次、数量、转交人、接收人等内容在上由品质部IPQC进行抽检,抽检按制程抽检作业标准与检验作业指导书执行,合格后在产品转交单或标签上签名或签章方可放行转序或入库,不合格则停止转交,由生产车间返工或返修,除经过品质部主管或经理签字让步接收,否则所有非合格品不得流入下工序。下工序对无品质部签字

14、的合格或让步接收标识的产品必须拒绝接收,以防误用。6. 6.2当某工序因生产急需等原因来不及检验而需放行时,应按以下条件进行控制:7. 6.2.1必须经品质部经理、分管副总或总经理审批;8. 6.2.2放行产品经过标识并能保证具有可追溯性;9. 6.2.3明确告知下道工序对上道工序未检验项目进行必要验证。10. 6.3产品经检验后,IPQC根据产品状态要求生产做好标识入库,并负责统计各工序产品质量状况。5.7不良率超标停机、停拉权限5.7.1制程中当不良率较高时(不良率超出目标值50%或连续三次抽检超出目标值),IPQC可现场要求相关部门作出(调机、换料、优化作业方式或换人)相应改善措施。5.

15、7.2如无法改善,IPQC有权停用单台机并立即上报品质组长;品质组长有权对一条拉线采取停机措施,但需填写停产通知单由品质主管核准;当需要对某个工序停止生产时,由品质主管上报品质经理,品质经理有权对整个工序下达停产通知,填写停产通知单交技术总监核准;技术总监可对整个车间下停产令,全厂停产要经总经理批准。生产部接到停产通知单后应立即对相应工序或拉线停产并改善,如为技术或设备问题应将停产通知单各复印一份给设备部或技术部,要求及时到现场改善。为将改善情况记录备案,品质部填写品质异常反馈单发给相关部门要求其填写纠正预防措施,具体程序见纠正预防措施控制程序。5. 7.3当不良率较高,又无法从设备和工艺方面进行改善或对后续产品无严重影响时,可由品质部召开MRB小组会议讨论,依据MRB小组会议要求执行,必要时需上报公司总经理批准执行。5.8 计量器具的使用过程所使

展开阅读全文
相关资源
猜你喜欢
相关搜索

当前位置:首页 > 管理/人力资源 > 质量管理

copyright@ 2008-2023 1wenmi网站版权所有

经营许可证编号:宁ICP备2022001189号-1

本站为文档C2C交易模式,即用户上传的文档直接被用户下载,本站只是中间服务平台,本站所有文档下载所得的收益归上传人(含作者)所有。第壹文秘仅提供信息存储空间,仅对用户上传内容的表现方式做保护处理,对上载内容本身不做任何修改或编辑。若文档所含内容侵犯了您的版权或隐私,请立即通知第壹文秘网,我们立即给予删除!