绝缘导线 直线单杆风荷载弯矩计算.docx

上传人:p** 文档编号:348984 上传时间:2023-08-05 格式:DOCX 页数:5 大小:44.26KB
下载 相关 举报
绝缘导线 直线单杆风荷载弯矩计算.docx_第1页
第1页 / 共5页
绝缘导线 直线单杆风荷载弯矩计算.docx_第2页
第2页 / 共5页
绝缘导线 直线单杆风荷载弯矩计算.docx_第3页
第3页 / 共5页
绝缘导线 直线单杆风荷载弯矩计算.docx_第4页
第4页 / 共5页
绝缘导线 直线单杆风荷载弯矩计算.docx_第5页
第5页 / 共5页
亲,该文档总共5页,全部预览完了,如果喜欢就下载吧!
资源描述

《绝缘导线 直线单杆风荷载弯矩计算.docx》由会员分享,可在线阅读,更多相关《绝缘导线 直线单杆风荷载弯矩计算.docx(5页珍藏版)》请在第壹文秘上搜索。

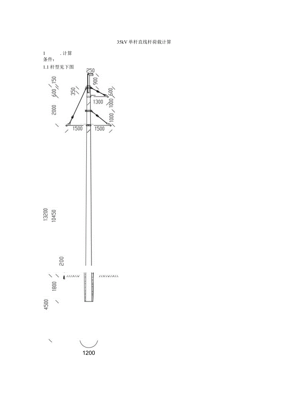
1、35kV单杆直线杆荷载计算1 .计算条件:1.1 杆型见下图12001.2计算参数:35kVJKLGYJ-18525架空绝缘钢芯铝绞线,其外径37.8mm,单位重量15.269Nm0水平档距120m,40时的导线弧垂为2.44m。避雷线规格;GJ-50镀锌钢绞线,其外径8.7mm,单位重量3.6Nm.非预应力电杆的稍径230mm,根径43Omm,基础顶面处杆径406mm;上段长9m,下段长6m,杆总长15m,其钢筋采纳。1.2.5 横担采纳剪切螺栓转动横担。1.2.6 基础为灌注桩杯形基础。2.直线杆大风荷载值计算:2.1 导线风荷载标准值为:Wx=a.W0.s.d.LpkN(1)(1)式中”

2、=,kNm2t(2)基准风压标准值;V23020(2)式中在30ms大风、无冰、未断线工况时:=0.5625kN/tn2;16001600(1)式中风速的风压不匀称系数,按GB50061-202266kV及以下架空电力线路设计法律规范表取值;表设计风速(ms)20以下20-2930-3435及以上a1.00.850.750.7a=0.7530ms大风的风压不匀称系数;(1)式中MS导地线体型系数,线径小于17mm或覆冰时取1.2,线径大于或等于17mm时取=1.1;因本工程导线规格为35kVJKLGYJ-185/25架空绝缘钢芯铝绞线,其外径mm,大于17mm,故S=1.1;d=37.8mm=

3、0.0378m,导地线外径。1.=I20m水平档距;代入(1)式得导线风荷载标准值为:Wx-a.W0.jliz.s.d.Lp.=0.75X0.5625kN/tn21.10.0378m120m=2.105kN;37.8 避雷线风荷载标准值为:Wr=a,.jus.d.Liv.t(kN)(2)a=0.75,%=0.5625女N/疗s=1.2,d=0.0087m,LP=I20m,代入WB=a.Wq,z.s.d.Lp.sn1=0.750.56251.20.0087120=0.529kN,避雷线风荷载标准值。37.9 自身风荷载标准值为:Ws=.H0A广WOkN(3)(3)式中=1.0,杆塔风振系数,按G

4、B50061-202266kV及以下架空电力线路设计法律规范表取值;表风振系数杆塔总高度(m)501.01.21.5(3)式中Wo=O.5625杆塔风荷载标准值。kNInr(3)式中S=0.7,构件的体型系数(环形截面混凝土电杆取0.7):(3)式中MZ=I-。9一一风压高度变化系数。离地面或海面高度(m)地面粗糙度类别注:地面粗糙度类别:ABCDA类指接近海面、海岛、海岸、湖岸、沙漠地区:B类指田野、乡村、丛林、丘陵及房屋比较稀疏的乡镇和城市郊区;C类指有密集建筑群的市区;D类指有密集建筑群且房屋较高的市区;51.171.000.740.62101.381.000.740.62151.521

5、.140.740.62201.631.250.840.62301.801.421.000.62401.921.561.130.7337.9.1 顶面处以上杆段的承受风荷载标准值风压的投影面积:Af=(q23+q406)13=4.134m2,式中0.23m为电杆稍径,0.406m72为电杆在基础顶面处的外径,13m为杆顶至基础顶面杆长。基础顶面处以上杆段的承受风荷载标准值:讥S=BNSNZArWOkN弘=IXO.7X1.094.134m20.5625kN/m2=0.3465X4.134=1.774kN37.9.2 至杆根方向9m杆段的承受的风荷载标准值:投影面积:Af=(0,23+0,35)x9

6、=2.61m2,式中0.23m为电杆稍径,0.35m为电杆在9m特长的外径,9m为杆长。电顶至杆根方向9m杆段的承受的风荷载标准值:Ws=.s.z.Az.W0=10.71.092.61m20.5625kN/m2=0.34652.6=2kN37.10 自身的风压合力作用点至地面的高度力=4.出土生(4),(m);3A+O基础顶面处以上杆段的电杆自身的承受风压合力作用点高度:人=U/0.23+0.406=530.23+0.406-a?X?3+035电顶至杆根方向9m杆段的承受风压合力作用点高度:h=-=4.19m;30.230.352.4 绝缘子串及金具风荷载标准值叱WI=VVJ).4zA(5)V

7、2,(5)式的叱)=痴U一一1kN/而),基准风压标准值,与导线相同。(5)式的MZ=Lo风压高度变化系数;(5)式的A=O.Mm?绝缘子串及金具受风面积。代入(5)式W1=Wq.z.Ai=0.5625kN/m2.006m2=0.09kN2.5 外荷载作用下电杆的弯矩设计值:2.51 外荷载作用下基础顶面处电杆的弯矩设计值:%=7o%i%+Pn也+22也+%/+7o/G,q(6)6)式中为二1,杆塔结构重要性系数,重要线路不应小于1.1,临时线路取0.9,其他线路取1.0;=1.0,可变荷载组合系数,正常运行状况取1.0,断线状况及安装状况和不匀称覆冰状况取0.9,验算状况取0.75;因风压属

8、于可变荷载,大风工况属于正常运行状况,故夕取Io,=1.4,可变荷载的分项系数,取1.4;Pn=Wx+W1=2.105Jl/V+0.09kN=295kN(一根导线与一串绝缘子的风荷载标准值之和);hi=10.25+2=12.45m,上导线横担距基础顶面的距离;z2=10.45m下导线横担距基础顶面的距离;=13.75m,避雷线线横担距基础顶面的距离;Ws=.114kN30ms大风工况电杆自身的风荷载标准值;力=5.9m电杆自身的风压合力作用点至地面的高度;c=1.2,永久荷载分项系数,对结构受力有利时取1.0,不利时取1.2,验算结构倾覆或滑移时取0.9;因导线重量对结构受力不利,故后取1.2

9、;G11=(1.557kgm120km)+8.72kg+7kg=187kg+8.72kg+7kg=203kg=1.99kN,上导线、绝缘子串及上横担的一半重量之和;1=1.3m上导线横担长度;外荷载作用下基础顶面处的弯矩设计值MW:MW=7oW5%+匕也+2月也+%&+7o/G,q=IXIXl.40.529人Nx13.95m+2.195x12.45+22.195AsV10.45m+1.7745.9m)+l1.2X1.99kN1.3=127.469+3.1=130.574kN.m依据66kV及以下架空电力线路设计法律规范(GB50061-2022)第条“无拉线锥形单杆可按受弯构件进行计算,弯矩应

10、乘以增大系数1.1,在30ms大风荷载作用下地面电杆处的弯矩设计值AfWD=LLMW=LIX130.569kN.m=143.626kN.mo结论:该杆型在30ms时的外荷载弯矩为143.626AN.m0是选择电杆下段弯矩的依据。弯矩太大,厂家不能生产。其外荷载弯矩标准值为2.5.2外荷载作用下杆顶至杆根方向9m杆段的电杆的弯矩设计值:MW=7oW5%+匕也+2月也+%&+7o/G,q=ll1.40,529kNX7.95m+2.195X6.45+22.1957V4.45m+1.12&Nx4.19m+11.21.99&Nx1.3=59.628+3.1=62.728kN.m依据66kV及以下架空电力线路设计法律规范(GB50061-2022)第条“无拉线锥形单杆可按受涔构件进行计算,方矩应乘以增大系数1.1,MW=LIX62.728%Nm=69ZMm结论:该杆型在30ms时的外荷载弯矩为69kN.m,是选择电杆上段弯矩的依据。弯矩太大,厂家不能生产。

展开阅读全文
相关资源
猜你喜欢
相关搜索

当前位置:首页 > 行业资料 > 国内外标准规范

copyright@ 2008-2023 1wenmi网站版权所有

经营许可证编号:宁ICP备2022001189号-1

本站为文档C2C交易模式,即用户上传的文档直接被用户下载,本站只是中间服务平台,本站所有文档下载所得的收益归上传人(含作者)所有。第壹文秘仅提供信息存储空间,仅对用户上传内容的表现方式做保护处理,对上载内容本身不做任何修改或编辑。若文档所含内容侵犯了您的版权或隐私,请立即通知第壹文秘网,我们立即给予删除!