土地收购储备工作流程图.docx

上传人:p** 文档编号:394324 上传时间:2023-08-06 格式:DOCX 页数:6 大小:50.57KB
下载 相关 举报
土地收购储备工作流程图.docx_第1页
第1页 / 共6页
土地收购储备工作流程图.docx_第2页
第2页 / 共6页
土地收购储备工作流程图.docx_第3页
第3页 / 共6页
土地收购储备工作流程图.docx_第4页
第4页 / 共6页
土地收购储备工作流程图.docx_第5页
第5页 / 共6页
土地收购储备工作流程图.docx_第6页
第6页 / 共6页
亲,该文档总共6页,全部预览完了,如果喜欢就下载吧!
资源描述

《土地收购储备工作流程图.docx》由会员分享,可在线阅读,更多相关《土地收购储备工作流程图.docx(6页珍藏版)》请在第壹文秘上搜索。

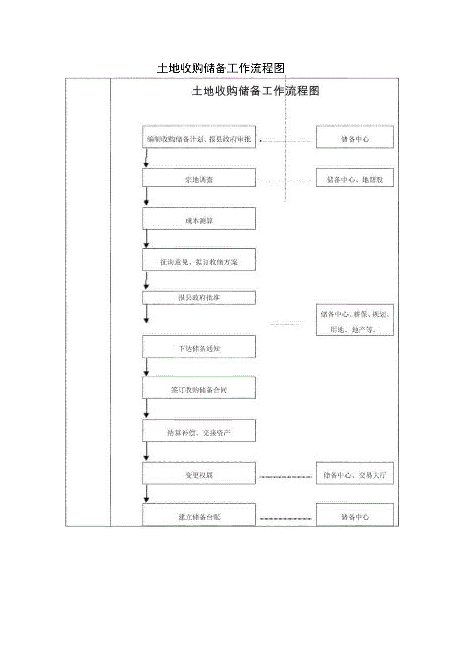
1、土地收购储备工作流程图土地储备工作流程土地储备是指储备中心根据土地储备计划,对城市规划区范围内的土地使用权以不同形式将其纳入政府土地储备库的行为。分为以下三种形式:1、收购储备。凡县域范围内符合西峡县土地储备实施办法中规定的国有土地,均可由土地储备中心进行收购。其基本操作程序见下图:受理申请一前期调查一拟制方案-J上报会审一测图确权签订合同合同履行入库管理-A-A-A受理申请:对土地使用权人提出的收购申请,土地储备中心在认定符合收购条件后,正式予以受理。受理须要求申请人提交收购申请书、法人资格证书、授权委托书、营业执照、土地使用权合法证明、房屋使用权合法凭证、宗地图纸、单位主管部门意见等相关资

2、料。前期调查:受理土地使用权人申请后,搞好土地及地上建筑物与附着物权属、土地与房屋面积、四至范围、土地现状及用途、收购所需费用等方面的调查。拟制方案:根据调查的情况,自然资源储备中心在征求规划部门意见并搞好评估测算的基础上,拟制收购方案。上报会审:将收购方案及土地收购审批表上报县自然资源局集体会审讨论通过。对特殊地块的收购,报县土地储备委员会批准。测图确权:方案批准后,由自然资源储备中心会同县自然资源局有关科室进行实地勘测、绘图,明确土地权属。签订合同:在完成以上程序后,与原土地使用权人签订国有土地使用权收购合同。合同主要内容包括宗地位置、面积、用途及权属依据,土地收购补偿费用及其支付方式与期

3、限,交付土地的期限与方式,违约责任与纠纷处理方式等。合同履行:按照合同约定,双方履行各自的权利与义务。主要包括收购补偿费的支付,土地及地上附属物权属的变更、土地交付等。入库管理:土地使用权人将土地交付后,土地储备中心将其纳入政府土地储备库,填写储备土地入库登记表,并按储备土地地块管理暂行办法进行管理。2、收回储备。收回储备是指土地储备中心将法律规定应当收回或土地使用权人暂无开发能力申请收回,或城市建设发展调整规划需要收回的地块依法收回,使之进入政府土地储备库的行为。其基本操作程序见下图:前期调查一拟制方窠一上报会审-J下达决定一支付补偿权属变更入库管理A-A前期调查:对应当收回或申请收回的土地

4、,由自然资源储备中心会同县自然资源局相关科室对拟收回地块进行实地调查取证。调查内容主要有:土地利用现状、地上附着物情况、土地使用权人意见、收回的理由及该宗土地的资料图纸等。拟制方案:根据调查的情况,中心会同县自然资源局相关科室拟制具体的收回方案。方案主要内容包括土地利用现状、收回方式及依据、补偿方案等。上报会审:将收回方案上报县自然资源局集体会审,并按照批准权限,上报上级有权机关审批。下达决定。方案批准后,县自然资源局根据政府和上级国土部门授权,向土地使用人下达土地使用权收回的决定。对无偿收回的土地,由县自然资源局法规监察部门按行政处罚程序办理。支付补偿:对有偿收回的土地,由自然资源储备中心向

5、原土地使用权人支付补偿费。变更权属:土地收回后,县自然资源局注销该地块的土地使用权证,自然资源储备中心将其纳入政府土地储备库,并对外公告。入库管理:对入库后的土地,填写土地入库登记表,由土地储备中心按有关规定进行管理。3、征用土地(新增建设用地)征用土地储备是指自然资源储备中心根据土地利用总体规划、城市建设总体规划、土地利用年度计划、土地市场需求,为强化政府土地资本营运后劲而将城市规划区范围内的集体土地,统一征为国有并将其纳入政府土地储备库的活动。其基本操作程序见下图:拟制方案:自然资源储备中心会同市规划部门对拟征用的集体土地进行现场查看,明确拟征土地位置及用途。根据规划部门的选址意见,由自然

6、资源储备中心拟制统一征地方案。前期调查:自然资源储备中心会同县自然资源局及相关科室对土地进行实地勘测、明确土地权属、对所征用土地的现状及地类、征地拆迁基本情况进行调查,上报会审:将征地方案提县自然资源局集体会审并讨论通过。资料准备:自然资源储备中心会同县自然资源局相关科室准备报批图件资料。上报审批:自然资源储备中心会同县自然资源局相关科室,依据征地审批权限,将征地报批资料报有权机关批准。重建基地用地资料一并报批。征地过程中的各项税费项目,由国土资源储备中心一并缴纳。上缴有关税费:县自然资源储备中心按照审批要求,及时上缴征地相关税费。征地拆迁补偿:根据审批文件,自然资源储备中心委托县征地拆迁事务处对被征用地块进行土地、地上建筑物、附着物拆迁补偿和劳动力安置补偿。补偿费由县自然资源储备中心按财政局投资评审中心征地拆迁项目预决算进行统一支付。入库管理:征地拆迁补偿完毕后,征地拆迁事务处将被征用土地交县自然资源储备中心,进入政府土地储备库,由自然资源储备中心填写土地入库登记表,并按有关规定进行管理。二O二二年三月二十四日

展开阅读全文
相关资源
猜你喜欢
相关搜索

当前位置:首页 > 金融/证券 > 金融资料

copyright@ 2008-2023 1wenmi网站版权所有

经营许可证编号:宁ICP备2022001189号-1

本站为文档C2C交易模式,即用户上传的文档直接被用户下载,本站只是中间服务平台,本站所有文档下载所得的收益归上传人(含作者)所有。第壹文秘仅提供信息存储空间,仅对用户上传内容的表现方式做保护处理,对上载内容本身不做任何修改或编辑。若文档所含内容侵犯了您的版权或隐私,请立即通知第壹文秘网,我们立即给予删除!