事业资产使用事项办理基本流程图.docx

上传人:p** 文档编号:535231 上传时间:2023-10-18 格式:DOCX 页数:15 大小:593.80KB
下载 相关 举报
事业资产使用事项办理基本流程图.docx_第1页
第1页 / 共15页
事业资产使用事项办理基本流程图.docx_第2页
第2页 / 共15页
事业资产使用事项办理基本流程图.docx_第3页
第3页 / 共15页
事业资产使用事项办理基本流程图.docx_第4页
第4页 / 共15页
事业资产使用事项办理基本流程图.docx_第5页
第5页 / 共15页
事业资产使用事项办理基本流程图.docx_第6页
第6页 / 共15页
事业资产使用事项办理基本流程图.docx_第7页
第7页 / 共15页
事业资产使用事项办理基本流程图.docx_第8页
第8页 / 共15页
事业资产使用事项办理基本流程图.docx_第9页
第9页 / 共15页
事业资产使用事项办理基本流程图.docx_第10页
第10页 / 共15页
亲,该文档总共15页,到这儿已超出免费预览范围,如果喜欢就下载吧!
资源描述

《事业资产使用事项办理基本流程图.docx》由会员分享,可在线阅读,更多相关《事业资产使用事项办理基本流程图.docx(15页珍藏版)》请在第壹文秘上搜索。

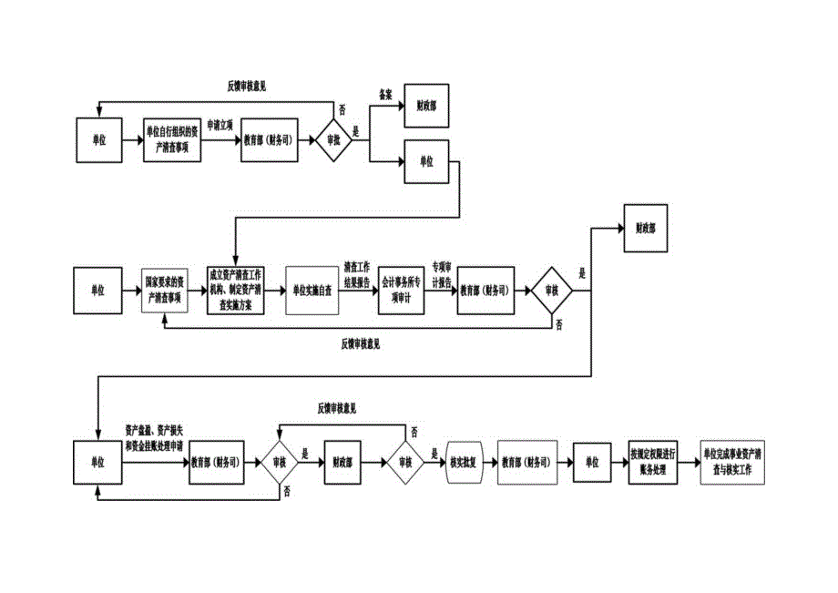
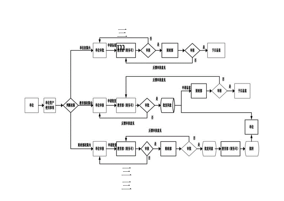
三m三三反哪族就事业资产评估及备案事项办理流程图顾审核觐反债审核献事业单位产权登记事项办理流程图注,1.企业发行债券按照相关规定办理.2.北京大学北大资产经营有限公司和清华控股有限公司有合并、分立,增加或者减少注册资本,分配利润,以及解散、申请破产黛大事项的,分别由北京大学和清华大学决定.中国教育出版传媒集团有限公司及下属企业国有资产评估事项办理流程图反馈审核意见企业国有资产产权登记事项办理流程图企业改制事项办理流程图企业国有产权无偿划转事项办理流程图企业国有产权协议转让事项办理流程图股份有限公司国有股权管理、国有股转持社保基金、上市公司国有股权质押、上市公司国有股东发行可交换公司债券、国有控股上市公司发行证券事项办理流程图注IL上市公司国有股权质押事项经单位报教育部(财务司)审核,由教育部(财务司)审核后报财政部履行备案手续.2.符合条件的企业国有股转持社保基金可向财政部直接申请豁免国有股转持义务。糖氯胺司)-三1M4靴

展开阅读全文
相关资源
猜你喜欢
相关搜索

当前位置:首页 > 经济/贸易/财会 > 资产评估/会计

copyright@ 2008-2023 1wenmi网站版权所有

经营许可证编号:宁ICP备2022001189号-1

本站为文档C2C交易模式,即用户上传的文档直接被用户下载,本站只是中间服务平台,本站所有文档下载所得的收益归上传人(含作者)所有。第壹文秘仅提供信息存储空间,仅对用户上传内容的表现方式做保护处理,对上载内容本身不做任何修改或编辑。若文档所含内容侵犯了您的版权或隐私,请立即通知第壹文秘网,我们立即给予删除!