尾矿库作业岗位操作流程图.docx

上传人:p** 文档编号:633476 上传时间:2023-12-15 格式:DOCX 页数:5 大小:64.85KB
下载 相关 举报
尾矿库作业岗位操作流程图.docx_第1页
第1页 / 共5页
尾矿库作业岗位操作流程图.docx_第2页
第2页 / 共5页
尾矿库作业岗位操作流程图.docx_第3页
第3页 / 共5页
尾矿库作业岗位操作流程图.docx_第4页
第4页 / 共5页
尾矿库作业岗位操作流程图.docx_第5页
第5页 / 共5页
亲,该文档总共5页,全部预览完了,如果喜欢就下载吧!
资源描述

《尾矿库作业岗位操作流程图.docx》由会员分享,可在线阅读,更多相关《尾矿库作业岗位操作流程图.docx(5页珍藏版)》请在第壹文秘上搜索。

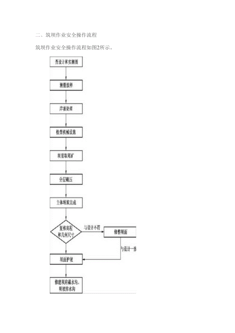
尾矿库作业岗位操作流程图一、放矿作业安全操作流程放矿作业安全操作流程如图1所示。二、筑坝作业安全操作流程筑坝作业安全操作流程如图2所示。巡坝作业安全操作流程如图3所示。当面执行交接班程序确认交接班记录本中事项检查坝体检查库区范围检查周边山体四、防排洪作业安全操作流程防排洪作业安全操作流程如图4所示。注意:检查顺序可根据实际情况调整。五、排渗作业安全操作流程排渗作业安全操作流程如图5所示。检IS排漆设施检宣水质、水量

展开阅读全文
相关资源
猜你喜欢
相关搜索

当前位置:首页 > 行业资料 > 矿业工程

copyright@ 2008-2023 1wenmi网站版权所有

经营许可证编号:宁ICP备2022001189号-1

本站为文档C2C交易模式,即用户上传的文档直接被用户下载,本站只是中间服务平台,本站所有文档下载所得的收益归上传人(含作者)所有。第壹文秘仅提供信息存储空间,仅对用户上传内容的表现方式做保护处理,对上载内容本身不做任何修改或编辑。若文档所含内容侵犯了您的版权或隐私,请立即通知第壹文秘网,我们立即给予删除!