建设项目环评审批流程图.docx

上传人:p** 文档编号:653721 上传时间:2024-01-02 格式:DOCX 页数:6 大小:175.49KB
下载 相关 举报
建设项目环评审批流程图.docx_第1页
第1页 / 共6页
建设项目环评审批流程图.docx_第2页
第2页 / 共6页
建设项目环评审批流程图.docx_第3页
第3页 / 共6页
建设项目环评审批流程图.docx_第4页
第4页 / 共6页
建设项目环评审批流程图.docx_第5页
第5页 / 共6页
建设项目环评审批流程图.docx_第6页
第6页 / 共6页
亲,该文档总共6页,全部预览完了,如果喜欢就下载吧!
资源描述

《建设项目环评审批流程图.docx》由会员分享,可在线阅读,更多相关《建设项目环评审批流程图.docx(6页珍藏版)》请在第壹文秘上搜索。

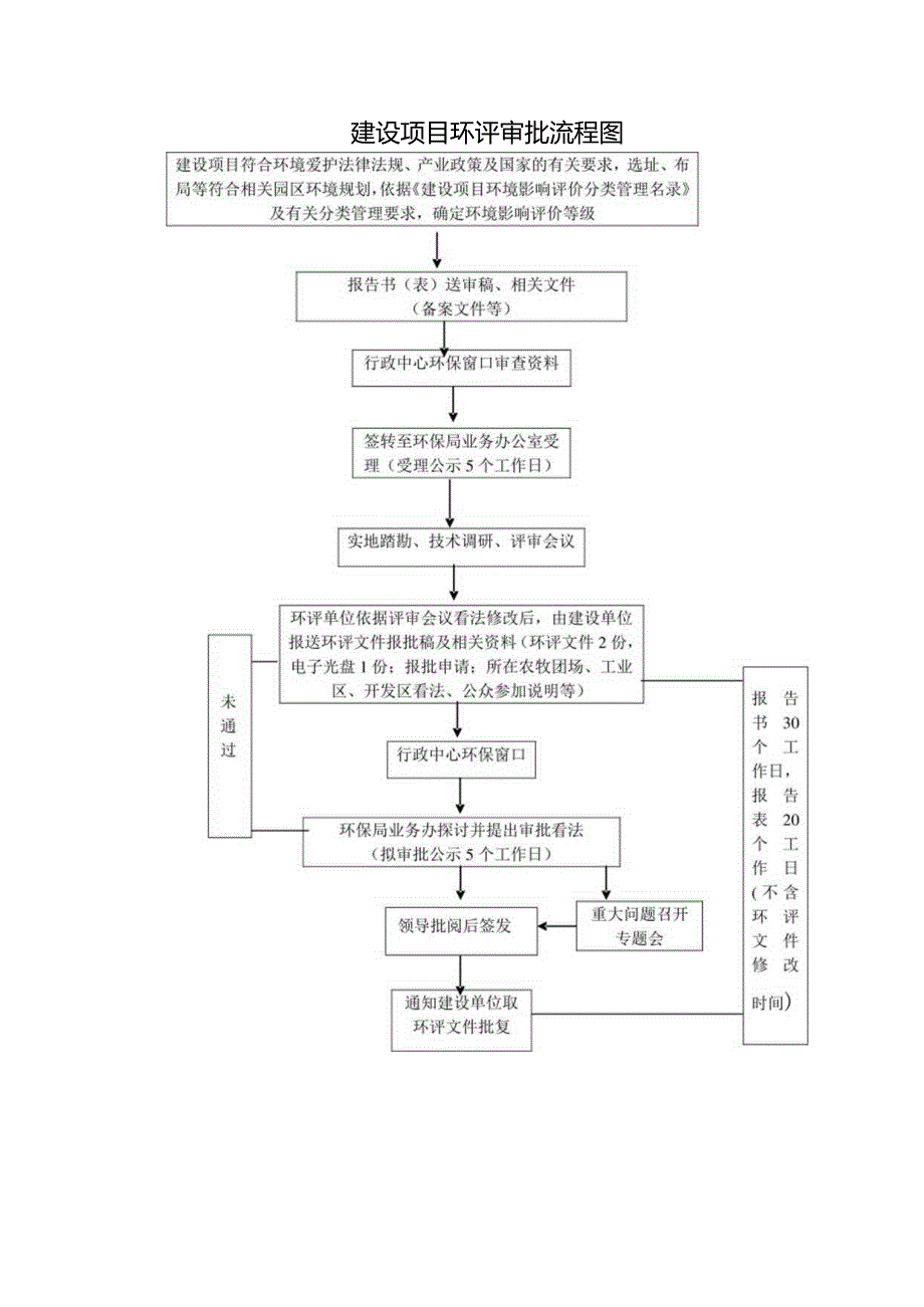
1、建设项目环评审批流程图自受理之日起25个工作日(不含验收现场检查和建设方整改时间)完成审批环保局办理验收审批手续危急废物经营许可证核发流程图相关材料:1、危急废物经营许可证申请报告;2、危急废物经营单位名称核准的相关文件;3、危急废物经营设施建设项目环境影响评价报告及批复,环保“三同时”验收报告;4、符合与申请经营的危急废物类别和经营方式要求的技术人员名单及其相关证明;5、与所申请经营危急废物的特性、数量相适应的专用运输工具及相关证明;6、包装工具清单及说明;中转和临时存放设施、设备清单及说明;贮存设施设备清单以及平安、环保等部门对贮存设施、设备的验收看法;7、处置(包括预处理)设施、设备的具

2、体状况;8、所申请经营的各类危急废物的处置技术和工艺的具体说明;9、保证危急废物经营平安规章制度文本和污染防治管理措施文本及相关证明材料;10、事故应急救援措施文明及相关证明材料;11、以填埋方式处置危急废物的,供应依法取得的填埋场所的土地运用权属证明。危急废物转移审批流程图排污许可证核发(涉及水和大气污染物)流程图一、原发证企业提交材料:1.换发许可证申请书;2.原许可证;3.污染物许可证申请表2份;4.排污企业污染物达标排放监测报告或者达标证明;5.企业法人营业执照复印件;6.法人代码证。二、新发证企业提交材料:1、领取许可证申请书;2.污染物许可证申请表2份;3.“三同时”验收材料;4.排污企业污染物达标排放监测报告或者达标证明5.企业法人营业执照复印件;6.法人代码证。拆除或者闲置防治污染设施审批流程图行文批复现场核查材料齐全,受理接收申请报告及相关 材料自受理之日起10个工作日(不含现场核查时间)完成审批。

展开阅读全文
相关资源
猜你喜欢
相关搜索

当前位置:首页 > 建筑/环境 > 环保行业

copyright@ 2008-2023 1wenmi网站版权所有

经营许可证编号:宁ICP备2022001189号-1

本站为文档C2C交易模式,即用户上传的文档直接被用户下载,本站只是中间服务平台,本站所有文档下载所得的收益归上传人(含作者)所有。第壹文秘仅提供信息存储空间,仅对用户上传内容的表现方式做保护处理,对上载内容本身不做任何修改或编辑。若文档所含内容侵犯了您的版权或隐私,请立即通知第壹文秘网,我们立即给予删除!