手术室病理标本管理制度.docx

上传人:p** 文档编号:671510 上传时间:2024-01-07 格式:DOCX 页数:5 大小:101.44KB
下载 相关 举报
手术室病理标本管理制度.docx_第1页
第1页 / 共5页
手术室病理标本管理制度.docx_第2页
第2页 / 共5页
手术室病理标本管理制度.docx_第3页
第3页 / 共5页
手术室病理标本管理制度.docx_第4页
第4页 / 共5页
手术室病理标本管理制度.docx_第5页
第5页 / 共5页
亲,该文档总共5页,全部预览完了,如果喜欢就下载吧!
资源描述

《手术室病理标本管理制度.docx》由会员分享,可在线阅读,更多相关《手术室病理标本管理制度.docx(5页珍藏版)》请在第壹文秘上搜索。

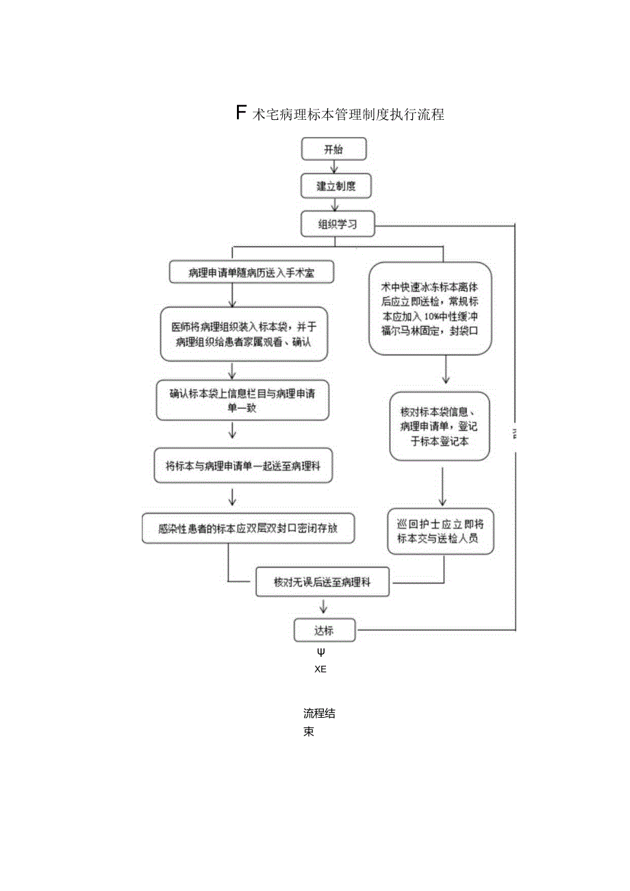
1、文件名:手术室病理标本管理制度文件编号:HLGL-ZD-96-03共2页制定部门:护理部审核:护理质量管理委员会批准者:制订日期:2012-09修订日期:2022-06执行日期:2022-06持有部门:手术室手术室病理标本管理制度1、凡手术切除的标本均需完好保留,保证手术离体组织送检率达100%。2、手术医师术前填写病理申请单,于手术当天随病历一起带入手术室。3、巡回护士妥善保存手术中取下的组织器官等标本,标本经手术医生、手术间护士核对后,由手术医师将标本给患者家属或委托人确认后,装入标本袋并在标本登记本上登记,再将标本和申请单一同送至病理科。4、用专用标本袋存放,标示清楚,注明患者姓名、住院

2、号、科别、标本名称、数量、取材部位等。4、由巡回护士负责固定标本(期间不得更换标本袋),固定液为10%中性缓冲福尔马林,溶液没过标本。术中冰冻标本干式保存,勿用盐水浸泡,勿用标本液固定,手术结束后送检。5 .感染性疾病的标本应双层双封口密闭存放、交接。6 .若标本做冰冻切片病理检查时,巡回护士应立即将标本交与送检人员,核对无误后面交病理科。7 .术后与手术医师当面清点核对,并与病理标本检查单核对后在标本登记本上登记、签名,注明标本离体时间和固定时间,精确到分钟。8 .由送检护士与病理科接收标本人员共同查对标本、申请单、登记本,做好三查对。9 .标本运送途中,应密闭、稳当,防止标本混淆。10 .遇到意外情况,要及时向护士长和病理科主任汇报。参考文献:1护士条例2医疗机构管理条例3医院手术部(室)管理规范(试行)卫医政发(2009)90号F术宅病理标本管理制度执行流程XE流程结束曲体组织送检流程图送徽型常嫡检快速照撼检手术空标木登记表日期住院号姓名性别科别送梃睇数量(袋)离体时间固定时间-检间一送检者签名病理科接收入

展开阅读全文
相关资源
猜你喜欢
相关搜索

当前位置:首页 > 论文 > 管理论文

copyright@ 2008-2023 1wenmi网站版权所有

经营许可证编号:宁ICP备2022001189号-1

本站为文档C2C交易模式,即用户上传的文档直接被用户下载,本站只是中间服务平台,本站所有文档下载所得的收益归上传人(含作者)所有。第壹文秘仅提供信息存储空间,仅对用户上传内容的表现方式做保护处理,对上载内容本身不做任何修改或编辑。若文档所含内容侵犯了您的版权或隐私,请立即通知第壹文秘网,我们立即给予删除!