辽宁某高速公路路基工程隧道防火涂料施工方案(含施工图).doc

上传人:p** 文档编号:950806 上传时间:2024-05-20 格式:DOC 页数:10 大小:4.66MB
下载 相关 举报
辽宁某高速公路路基工程隧道防火涂料施工方案(含施工图).doc_第1页
第1页 / 共10页
辽宁某高速公路路基工程隧道防火涂料施工方案(含施工图).doc_第2页
第2页 / 共10页
辽宁某高速公路路基工程隧道防火涂料施工方案(含施工图).doc_第3页
第3页 / 共10页
辽宁某高速公路路基工程隧道防火涂料施工方案(含施工图).doc_第4页
第4页 / 共10页
辽宁某高速公路路基工程隧道防火涂料施工方案(含施工图).doc_第5页
第5页 / 共10页
辽宁某高速公路路基工程隧道防火涂料施工方案(含施工图).doc_第6页
第6页 / 共10页
辽宁某高速公路路基工程隧道防火涂料施工方案(含施工图).doc_第7页
第7页 / 共10页
辽宁某高速公路路基工程隧道防火涂料施工方案(含施工图).doc_第8页
第8页 / 共10页
辽宁某高速公路路基工程隧道防火涂料施工方案(含施工图).doc_第9页
第9页 / 共10页
辽宁某高速公路路基工程隧道防火涂料施工方案(含施工图).doc_第10页
第10页 / 共10页
亲,该文档总共10页,全部预览完了,如果喜欢就下载吧!
资源描述

《辽宁某高速公路路基工程隧道防火涂料施工方案(含施工图).doc》由会员分享,可在线阅读,更多相关《辽宁某高速公路路基工程隧道防火涂料施工方案(含施工图).doc(10页珍藏版)》请在第壹文秘上搜索。

1、某某高速公路路基工程第十一合同段隧道防火喷涂施工方案编 制 人:技术负责人:单位负责人:某某股份有限公司某某高速公路第十一合同段项目经理部隧道防火喷涂施工方案1、施工范围本施工方案适用于K90+690K93+940、YK90+651.5YK93+985.0段内的错草沟隧道防火喷涂工程。2、施工准备(1)施工缝错台部位要用角磨机机型切削打磨平整,打磨范围一般在5mm40mm,打磨后采用2m直尺与牵线进行检查,保证平整度控制在8mm以内,防止防火涂料施工后表面不平整。同时对砼表面特别光滑的地方,要求用砂浆抹面;(2)在隧道衬砌脱模过程中表面遗留的油污,由施工人员用柴油或专用去油剂进行彻底清洗;(3

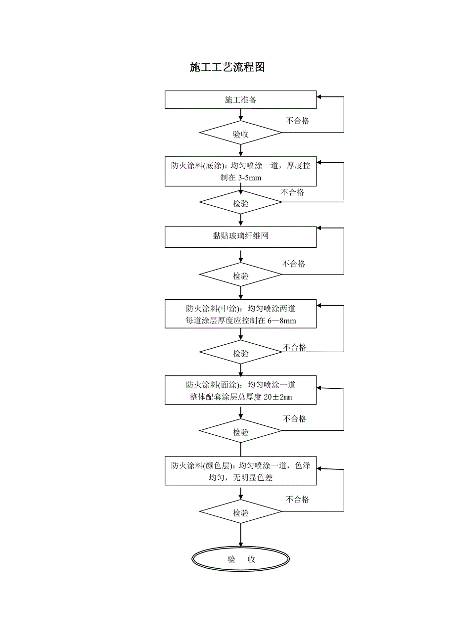
2、)喷涂施工前必须先清除结构表面浮灰,主要针对两侧边墙2M高范围内积灰严重部位进行清扫;(4)喷涂施工前24小时前对整体基层界面用清水进行冲洗,以清除表层的浮灰、粉尘和污物等;(5)漏水的地方一定要止水补漏。3、施工工艺按公安行标准GA98-2005混凝土结构防火涂料技术要求和设计文件要求,隧道防火涂料涂层厚度202mm,耐火极限2.0h,采取喷涂施工,分四道基层(防火层)和一道表层(颜色层)喷涂。为提高涂层的粘结强度和整体性,本项目施工采取挂网加固处理方案。施工工艺流程图施工准备黏贴玻璃纤维网防火涂料(中涂):均匀喷涂两道每道涂层厚度应控制在68mm防火涂料(底涂):均匀喷涂一道,厚度控制在3

3、-5mm防火涂料(面涂):均匀喷涂一道整体配套涂层总厚度202mm检验检验检验检验验收验 收防火涂料(颜色层):均匀喷涂一道,色泽均匀,无明显色差检验不合格不合格不合格 不合格不合格不合格(1)表面打底(第1道):采用本涂料与专用粘结剂配制成打底料,配比为,涂料:专用粘结剂:水3:0.1:3(重量比),在低速搅拌机内进行搅拌,搅拌时间为1015min,静止5min(以材料混合均匀为佳),随后将涂料送入挤压设备进行喷涂,喷涂厚度为35mm。(2)挂网施工:在打底料表面未干燥前,将玻璃纤维网粘贴于底层防火涂料上,并且按0.5*0.5m间距打设锚固螺钉进行锚固。玻璃纤维网网眼尺寸为10*10mm,施

4、工要求粘贴后的纤维网平整、不起鼓。(3)中涂喷涂(第23道):在挂网完成后,即可进行施涂,面涂配比为,涂料:水1:1(重量比),在低速搅拌机内进行搅拌,搅拌时间为1015min,静止约5min(以材料混合均匀为佳),随后将涂料送入挤压设备进行喷涂。在施工时,应分两次施喷,每次厚度应控制在68mm。(4)面涂喷涂(第4道):面涂配比同中涂,同时为确保整体涂层厚度、均匀及外观,面涂防火涂料喷涂施工时,通过调整喷枪口径及压力,控制涂层的平整度、颗粒间高差不应大于3mm,以使涂层外观为均匀粒状面,同时增强隧道结构吸音效果。将钢钉打入涂层内,用钢尺检测喷涂厚度,如不满足要求,则继续补喷,直到满足厚度在2

5、02mm。(5)隧道防火涂层装饰面漆涂装(第5道):在防火涂层基本干透成型后(3d左右)即可进行表层的装饰面漆施工。面漆使用时视施工方法可加入适宜量的清水稀释,搅拌均匀后使用,施工采用喷涂方法,喷涂要求色泽均匀、无明显色差。(6)养护:常规自然养护28天,养护条件与普通混凝土相同。涂层如有损伤,应及时修补。 4、施工技术要求(1)隧道防火涂料涂装施工期间以及施工后24小时内,环境温度不低于4,湿度不应大于80;(2)依据招标文件和相关规范要求,确定涂层厚度和涂装道数,即耐火极限为2h,涂层厚度为202mm,基层涂装道数为4道;(3)前后道涂装间隔时间不小于24小时,即前道涂装的涂层表干后,可进

6、行后道涂装;(4)涂层厚度控制:加强喷涂工序的施工报验与抽检,如实测厚度达不到设计要求,应立即进行整改;(5)防火涂层施工缝部位节点处理:考虑防火涂层热胀冷缩因素,主要应力集中在施工缝处,因此在防火涂料施工完成后,一般应延着原有施工缝用砂轮机作切割预留处理,施工缝预留宽度不宜小于3mm,施工缝的切割采取一次切割的方法(即防火涂层施工完后进行切割);(6) 在搅拌、喷涂、涂抹过程中,散落、反弹的浆料可及时收回利用;被污染的和超过 2h 的不能再用。5、劳动力组织工区管理人员:工区主任1人、副主任2人、技术人员2人、领工员2人、测量员2人。防火喷涂班组人员:分四个班组,每个洞口一个班组,每个班组1

7、5人。6、主要施工设备滚筒式砂浆搅拌机4台,轮胎移动作业台架4台,专用喷涂设备(挤压式灰浆泵、空压机)4台。7、工期安排错草沟隧道出口右线计划2011年7月20日前完成,出口左线计划2011年7月31日前完成;错草沟隧道进口左右线计划2011年10月31日前完成。8、材料要求(1)防火涂料采用隧道专用厚型防火涂料,其性能要求:砼耐火极限的实验升温曲线采用HC曲线,判断标准为受火2小时后,距离砼底面25mm处钢筋的温度不超过250,砼表面温度不超过380。序号项目技术指标1在容器中的状态经搅拌后呈均匀稠厚液体,无结块2干燥时间,表干/h243枯结强度/MPa0.14干密度/kg/m38005耐水

8、性/h经720h试验后,涂层不开裂、起层、脱落,允许轻微发胀和变色6耐酸性/h经360h试验后,涂层不开裂、起层、脱落,允许轻微发胀和变色7耐碱性/h经360h试验后,涂层不开裂、起层、脱落,允许轻微发胀和变色8耐冻融循环试验/次经15次试验后,涂层不开裂、起层、脱落、变色9耐湿热性/h经720h试验后,涂层不开裂、起层、脱落、变色10耐火性能涂层厚度/mm202耐火极限/h2.0(2)玻璃纤维网以耐碱玻纤网布为主,它采用中无碱玻纤纱(主要成份是硅酸盐、化学稳定性好)经特殊的组织结构纱罗组织绞织而成,后经抗碱液、增强剂等高温热定型处理主要性能、特点:a、化学稳定性好。抗碱、耐酸、耐水、耐水泥浸

9、蚀、及抗其他化学腐蚀。b、高强度、高模量、重量轻。c、尺寸稳定性好、硬挺、平整、不易收缩变形、定位性佳。d、抗冲击性较好。(因网布强度高、韧性好)e、防霉变、防虫。f、防火、保温、隔音、绝缘。9、安全措施(1)作业脚架必须牢固,高度满足施工要求,上面铺设供人行走的木板或竹板,并在两侧安设红色彩灯醒目标志。(2)洞内进出车辆限速5km/h。(3)作业人员必须佩戴安全帽,高空作业人员必须系安全带,喷涂防火涂料作业人员必须佩戴防护口罩。 (4)施工用电的线路及设备,严格按用电相关要求安装设置。(5)严禁将电线路搭靠或固定在机械、栏杆、钢筋、管子、扒钉等金属件上。(6)严禁有间发性癫痫、高血压、心脏病和恶性贫血患者担任高空作业。10、环境保护措施(1)施工废水按有关要求进行处理,不得直接排入河流。(2)施工场地经常洒水尽可能减少灰尘对生产人员和其它人员造成危害。(3)施工废料不得随意丢弃,应按有关要求集中进行处理。施工人员挂设玻璃纤维网挂网后远景图施工人员进行防火涂料喷涂作业防火涂料面漆完成图

展开阅读全文
相关资源
猜你喜欢
相关搜索

当前位置:首页 > 建筑/环境 > 设计及方案

copyright@ 2008-2023 1wenmi网站版权所有

经营许可证编号:宁ICP备2022001189号-1

本站为文档C2C交易模式,即用户上传的文档直接被用户下载,本站只是中间服务平台,本站所有文档下载所得的收益归上传人(含作者)所有。第壹文秘仅提供信息存储空间,仅对用户上传内容的表现方式做保护处理,对上载内容本身不做任何修改或编辑。若文档所含内容侵犯了您的版权或隐私,请立即通知第壹文秘网,我们立即给予删除!