2024年山东省职业技能等级认定试卷 真题 电工中级理论C6、M7、Z电气控制线路原理图.docx

上传人:p** 文档编号:1118435 上传时间:2024-08-04 格式:DOCX 页数:3 大小:156.08KB
下载 相关 举报
2024年山东省职业技能等级认定试卷 真题 电工中级理论C6、M7、Z电气控制线路原理图.docx_第1页
第1页 / 共3页
2024年山东省职业技能等级认定试卷 真题 电工中级理论C6、M7、Z电气控制线路原理图.docx_第2页
第2页 / 共3页
2024年山东省职业技能等级认定试卷 真题 电工中级理论C6、M7、Z电气控制线路原理图.docx_第3页
第3页 / 共3页
亲,该文档总共3页,全部预览完了,如果喜欢就下载吧!
资源描述

《2024年山东省职业技能等级认定试卷 真题 电工中级理论C6、M7、Z电气控制线路原理图.docx》由会员分享,可在线阅读,更多相关《2024年山东省职业技能等级认定试卷 真题 电工中级理论C6、M7、Z电气控制线路原理图.docx(3页珍藏版)》请在第壹文秘上搜索。

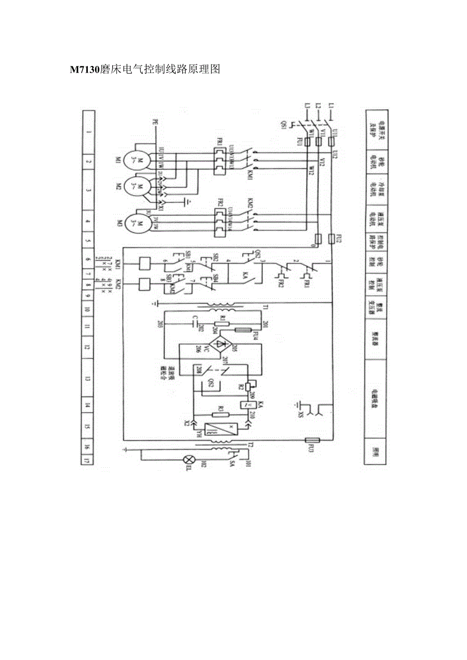
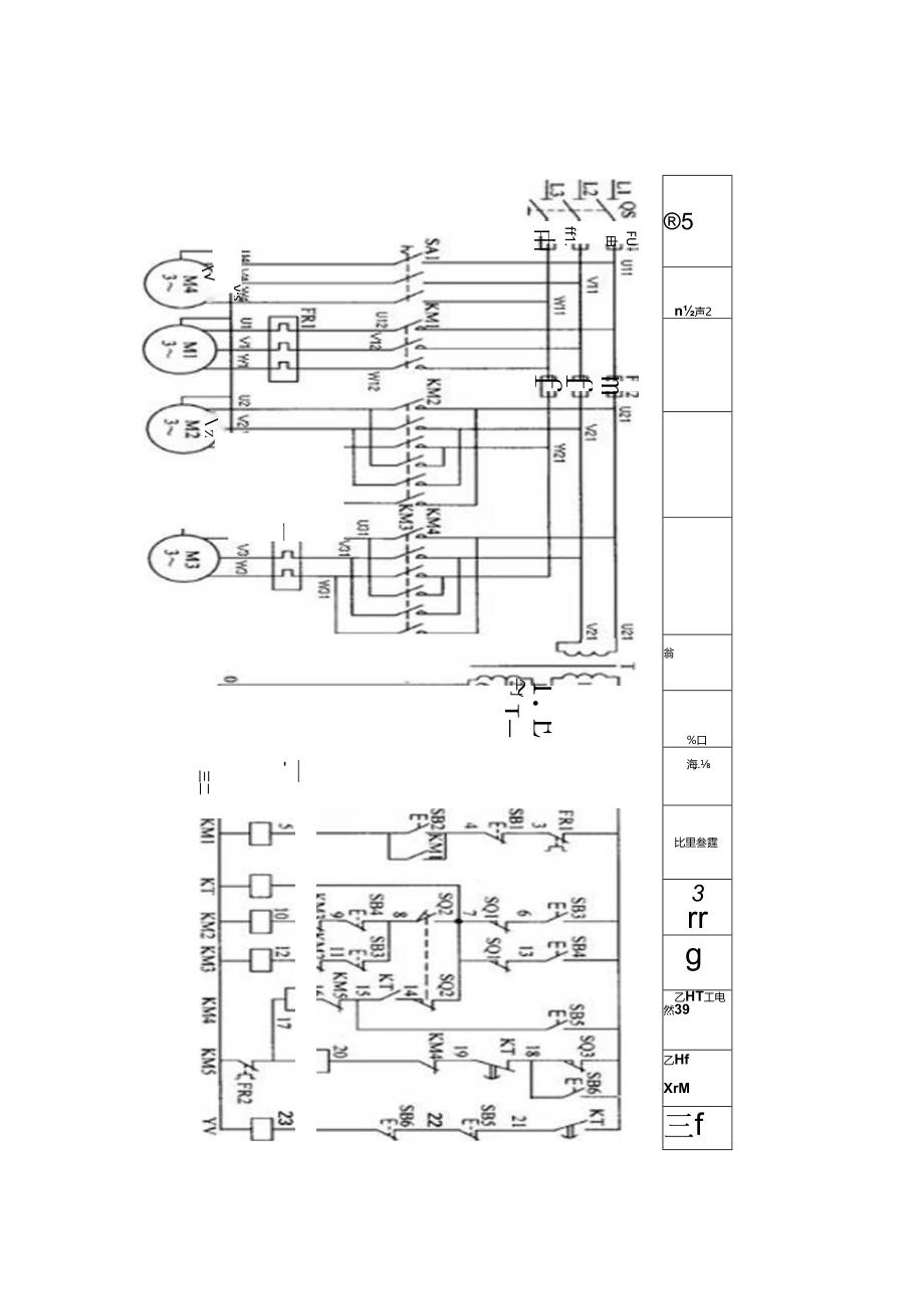
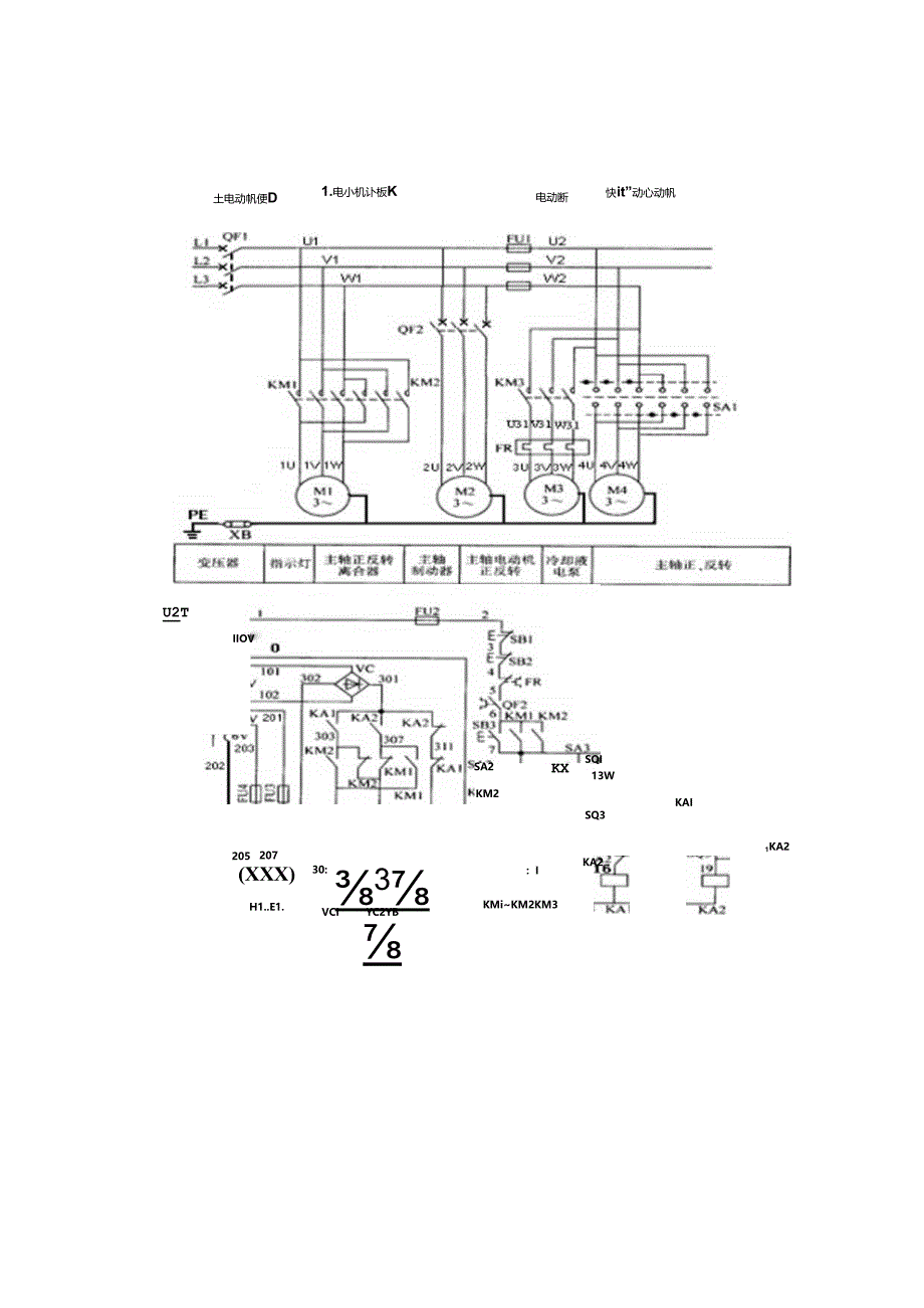
土电动帆便D1.电小机讣板K电动断快it”动心动帆U2TIIOVSA2KXKM2205207(XXX)H1.E1.30:SQI13WSQ3KAI1KA23:IVCIYC2YBKA2KMiKM2KM3M7130磨床电气控制线路原理图5n声2翁%口海.比里叁霆3rrg乙HT工电然39乙HfXrM三fFU-由ff1.由smgff1.111.E一J=I8一八-07z三二=HC=

展开阅读全文
相关资源
猜你喜欢
相关搜索

当前位置:首页 > 高等教育 > 习题/试题

copyright@ 2008-2023 1wenmi网站版权所有

经营许可证编号:宁ICP备2022001189号-1

本站为文档C2C交易模式,即用户上传的文档直接被用户下载,本站只是中间服务平台,本站所有文档下载所得的收益归上传人(含作者)所有。第壹文秘仅提供信息存储空间,仅对用户上传内容的表现方式做保护处理,对上载内容本身不做任何修改或编辑。若文档所含内容侵犯了您的版权或隐私,请立即通知第壹文秘网,我们立即给予删除!