基坑降排水施工方法.docx

上传人:p** 文档编号:1120291 上传时间:2024-08-04 格式:DOCX 页数:2 大小:24.05KB
下载 相关 举报
基坑降排水施工方法.docx_第1页
第1页 / 共2页
基坑降排水施工方法.docx_第2页
第2页 / 共2页
亲,该文档总共2页,全部预览完了,如果喜欢就下载吧!
资源描述

《基坑降排水施工方法.docx》由会员分享,可在线阅读,更多相关《基坑降排水施工方法.docx(2页珍藏版)》请在第壹文秘上搜索。

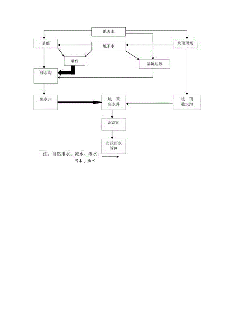
基坑降排水施工方法本工程位置地下水水位较高,需要在四周每隔20米一个300设置降水井,深10米。还在基坑四角做集水井,利用集水井降低地下室施工期间的地下水。在基坑坡底一周用灰砂展砌筑排水明沟,壁厚12Omnb沟宽300胸,内面抹灰1:3水泥砂浆。基坑四角做壁厚370mm的砖砌集水井150OmmXI50OnmX1.OOOmm,井底浇素混凝土垫层,砖壁内侧用1:2水泥砂浆抹面。排水沟坡度03%坡向集水井,沟深最浅处200廊。在地梁垫层施工时,应注意坡度2%。坡向两侧承台。每个独立承台内均设置集水井,井截面40OmX40Omn1.,深度300Inn1,井边以灰砂砖砌筑,集水井位于承台内侧角部。因基坑开挖较深,挖土应分层进行,并应控制挖土速度,以防止残坡积土因开挖过快引起卸荷裂隙导致边坡失稳:及时挖出基坑里的排水沟和集水井,集水井中有积水时,及时抽排到基坑外,不让积水浸泡基坑;基坑周围的地面排水沟必须保持畅通,不漏水、不渗水。在地卜.室施工阶段不间断地把集水井内积水抽排到基坑外排水沟,利用地面排水沟排入市政雨水管网。地下水和地表水的排水路线如下图:潜水泵抽水:

展开阅读全文
相关资源
猜你喜欢
相关搜索

当前位置:首页 > 建筑/环境 > 给排水/暖通与智能化

copyright@ 2008-2023 1wenmi网站版权所有

经营许可证编号:宁ICP备2022001189号-1

本站为文档C2C交易模式,即用户上传的文档直接被用户下载,本站只是中间服务平台,本站所有文档下载所得的收益归上传人(含作者)所有。第壹文秘仅提供信息存储空间,仅对用户上传内容的表现方式做保护处理,对上载内容本身不做任何修改或编辑。若文档所含内容侵犯了您的版权或隐私,请立即通知第壹文秘网,我们立即给予删除!