精装修工作面移交操作.docx

上传人:p** 文档编号:266498 上传时间:2023-04-20 格式:DOCX 页数:5 大小:46.12KB
下载 相关 举报
精装修工作面移交操作.docx_第1页
第1页 / 共5页
精装修工作面移交操作.docx_第2页
第2页 / 共5页
精装修工作面移交操作.docx_第3页
第3页 / 共5页
精装修工作面移交操作.docx_第4页
第4页 / 共5页
精装修工作面移交操作.docx_第5页
第5页 / 共5页
亲,该文档总共5页,全部预览完了,如果喜欢就下载吧!
资源描述

《精装修工作面移交操作.docx》由会员分享,可在线阅读,更多相关《精装修工作面移交操作.docx(5页珍藏版)》请在第壹文秘上搜索。

1、本指引主要包括工作面移交条件、移交标准、移交样板、操作流程、结果运用等内容,项目实施过程中工作面移交并非仅限于土建总包向精装修单位移交,移交与接收的对象应包含但不仅限于下表:移交单位接收单位移交内容土建精装合同范围安装精装合同范围分包精装合同范围土建木地板合同范围土建户内门合同范围精装甲分包合同范围其他(如:管理类移交)其他其他同时除工作面本身的移交外,还应注意成本保护、给水保压、地暧保压等管理类移交,管理类移交并非将前道工序所有质量责任、维保责任全部转嫁于接收单位,旨在明确接收单位自接收之日起至项目交付前对移交内容的管理权限,如精装单位接收给水保压后,应对户内给水管进行管理,若因自身施工不当

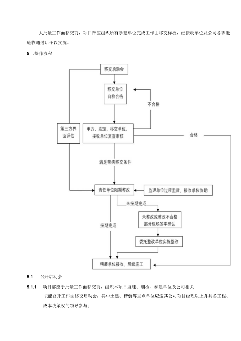
2、破坏给水管,精装单位应负相应责任,但给水管自动失压责任仍属安装单位。若本操作指引与具体合同内容存在差异时,应以具体合同内容为准。2 .移交条件2.1 各移交单位完成合同约定范围内工作面施工内容;2.2 移交作业面范围内已工完场清,场地内无影响精装施工作业因素(人员、材料等);2.3 3室内楼层标高控制线、轴线清晰,进行移交,详见附表轴线/标高移交记录表;2.4 移交样板已完成,具备评审条件。3 .移交标准工作面移交标准以合同、批量精装修场地移交评估检查表、蓝光企业技术标准及国家相关验收规范为准。4 .移交样板大批量工作面移交前,项目部应组织所有参建单位完成工作面移交样板,经接收单位及公司各职能

3、验收通过后予以实施。5 .操作流程5.1 召开启动会5.1.1 项目部应于批量工作面移交前,组织本项目监理、细检、参建单位及公司相关职能召开工作面移交启动会,其中土建、精装等重点单位应邀其公司项目经理以上并具备工程、成本决策权的领导参与;5.1.2 启动会召开前,项目部应详细分析各参建单位合同内容,判断各合同之间是否存在工作界面及移交标准的差异,若存在差异,应事先进行统一;5.1.3 明确各参建单位之间的具体移交内容、前置条件、移交标准等内容,涉及管理移交的还应明确移交时限及责任界定方式;5.1.4 启动会前根据项目整体计划铺排,制定各专业移交专项计划,会前达成一致,会上宣贯;划分工作面移交流

4、水段,明确每个流水段工作面移交的完成时间,重点将考核标准、带病移交整改时限(除移交、接收方达成一致意见外,原则上不允许带病移交)、后备启动原则等在启动会上约定清楚。对于批量精装修可进行大穿插的项目,第批次精装工作面移交时间应遵循以下原则:1)楼层大于25层(包含25层)的高层,主体施工至25层时,户内清水验收及精装工作面移交需完成至总楼层的1/3;2)楼层小于25层的高层,主体完成后30天内,户内清水验收及精装工作面移交需完成至总楼层的1/2;3)洋房、别墅根据项目运营计划,分批次完成移交。后续流水段可视情况以5至10层作为一个流水段;5.1.5 明确各单位的总体移交负责人、楼栋移交负责人、整

5、改负责人等,形成各楼栋移交工作小组,以项目经理作为组长,并确定小组的人员职责、名单、联系电话等。5.2 移交单位自检移交单位根据工作面移交启动会的总体安排,进行质量自检工作,自检过程应有详细的实测实量记录,甲方应对移交单位自检时长进行把控,同时接收单位应做好相应的技术支撑。5.3 移交过程5.3.1移交单位向甲方、监理、接收单位提交自检合格的书面材料,项目正式进入工作面移交过程;5.3.2场地实体移交前,由土建总包单位分楼层先对装饰单位进行标高和轴线的移交,并且填写书面轴线和标高移交记录,监理和甲方参与移交并签字确认。5.3.3场地移交小组逐栋、逐层、逐户进行工作面实测实量验收,并填写工作面移

6、交检查记录表。若实测结果显示该户质量满足合同、规范、前期约定要求,则直接完成工作面移交;若实测结果显示存在质量问题,接收单位应以书面形式将质量问题发送至移交单位、监理单位和甲方项目部,由移交单位进行整改,直至合格为止;5.3.4第一次批次移交验收完成后,分类整理出项目移交重难点,为后续工作施工、整改提供指导。根据问题的严重程度,再次明确各类问题处理完成时限,及未按期完成时的处理原则;5.3.5若移交单位未积极配合整改,或者多次整改仍然达不到要求的,项目部可报区域公司领导同意后,强制启用第三方单位或接收进行整改,产生的费用以签证互扣的形式从责任单位合同款中扣除。强制采取此方式前,项目部需协同成本

7、部门进行合理的费用测算,根据测算结果组织各方谈判、商议,形成会议纪要,并整理全过程资料向责任单位发正式函件,相关流程必须过法务部门;5.3.6移交方可采用费用补贴的方式将工作面移交过程中发现的问题承接给接收方整改,费用由移交、接收双方自行商定,甲方、监理可居中协调,但其内容仅限于感官、尺寸偏差、平整度、垂直度等通过局部施工和修复能够处理的质量问题,涉及到结构安全、国家强制性规范(如消防,节能保温等)、使用功能要求的质量问题,必须由移交方自行处理完成;5.3.7对于场地移交验收合格的区域(户内以套房为单位、公共区域以楼层为单位),由参与移交验收的相关单位在作业面移交确认单上签署同意移交意见,即完

8、成本区域的移交工作。5.4第三方界面评估5. 4.1项目部应根据项目自身情况,初步确立第三方界面评估时间后,再主动与总部生产管理单位协商具体第三方界面评估时间;6. 4.2具体详“第三方过程评估操作流程”要求。6 .结果运用6.1 对第三方清水移交精装界面评估报告的运用应与常规过程飞检操作方式相同,即:项目部根据第三方清水移交精装界面评估报告制定整改计划并上线考核,计划制定要求详“第三方过程评估操作流程”6.2 清水移交精装界面评估,对内奖罚原则及奖罚标准以公司工程管理制度为准、对外奖罚原则及奖罚标准以合同约定为准。7 .其他7.1 项目应根据批量精装修场地移交评估检查表、实测实量操作指引等公

9、司制度文件,提前对施工单位、监理的技术和质量检测人员进行系统的培训,使其明确工作面移交的质量标准,掌握实测实量技能,清楚工作面移交所关注的重点。并在在前期的施工过程中予以重视和落实控制,有助于场地移交的顺利进行;7.2 场地移交对批量精装修工期影响较大,甲方、监理必须强势介入,制定移交测量,全面参与,逐层、逐户、逐房间检查,进行实测实量,并且落实质量整改;7.3 大穿插项目,为保证工作面移交过程的持续性,避免接收单位(主要指精装修单位)出现窝工现象,需在各楼栋所有工作面完成1/3(约10层)时,才启动精装工作面移交;7.4 精装工作面移交管理要求应遵循土建总包、精装修单位合同附件精装修移交管理办法;7.5 工作面移交全过程,施工单位应结合合同要求采用进行放线管理;

展开阅读全文
相关资源
猜你喜欢
相关搜索

当前位置:首页 > 建筑/环境 > 装饰装潢

copyright@ 2008-2023 1wenmi网站版权所有

经营许可证编号:宁ICP备2022001189号-1

本站为文档C2C交易模式,即用户上传的文档直接被用户下载,本站只是中间服务平台,本站所有文档下载所得的收益归上传人(含作者)所有。第壹文秘仅提供信息存储空间,仅对用户上传内容的表现方式做保护处理,对上载内容本身不做任何修改或编辑。若文档所含内容侵犯了您的版权或隐私,请立即通知第壹文秘网,我们立即给予删除!