生产楼四层洁净间改造施工方案.docx

上传人:p** 文档编号:381702 上传时间:2023-08-06 格式:DOCX 页数:21 大小:149.66KB
下载 相关 举报
生产楼四层洁净间改造施工方案.docx_第1页
第1页 / 共21页
生产楼四层洁净间改造施工方案.docx_第2页
第2页 / 共21页
生产楼四层洁净间改造施工方案.docx_第3页
第3页 / 共21页
生产楼四层洁净间改造施工方案.docx_第4页
第4页 / 共21页
生产楼四层洁净间改造施工方案.docx_第5页
第5页 / 共21页
生产楼四层洁净间改造施工方案.docx_第6页
第6页 / 共21页
生产楼四层洁净间改造施工方案.docx_第7页
第7页 / 共21页
生产楼四层洁净间改造施工方案.docx_第8页
第8页 / 共21页
生产楼四层洁净间改造施工方案.docx_第9页
第9页 / 共21页
生产楼四层洁净间改造施工方案.docx_第10页
第10页 / 共21页
亲,该文档总共21页,到这儿已超出免费预览范围,如果喜欢就下载吧!
资源描述

《生产楼四层洁净间改造施工方案.docx》由会员分享,可在线阅读,更多相关《生产楼四层洁净间改造施工方案.docx(21页珍藏版)》请在第壹文秘上搜索。

1、一、概述天津键凯科技有限公司四层洁净间改造工程位于天津开发西区天津键凯科技有限公司生产楼四层,本工程净化间改造区域面积为32011r,本洁净间分为防爆区和非防爆区,其中非防爆区改动较大的区域面积为142m1,防爆区改动较大的区域面积为93m1,其他区域局部调整,洁净间整体改造为D级洁净车间。由于洁净间改造工程中各个工种施工时间都较为短暂,各个工种交叉作业频繁,需要做好组织设计、管理问题。二、工程特点1、本工程为改造工程,安装工程中必须考虑到原有洁净间成品保护,施工人员进入施工场地必须要穿软底鞋等,防止对洁净间造成二次破坏。2、项目在安装过程中,各专业交叉配合工作量较大,工序之间相互衔接要求高,

2、因此,在施工时,必须制定出施工衔接计划,严格安装施工工序进行施工,保证环境整洁、卫生。3、管道改造时一定要考虑其美观,尽量考墙布置,在施工中一定要注意协调各工种相互之间的关系,确定施工顺序,做到互不干扰,确保管道安装的标高、坡度等。4、洁净区墙面、顶面修复时要注意美观,避免脏、舌L、差。三、工程施工总体方案根据本工程特点,安装工程施工将分六个阶段进行:施工准备阶段、成品保护及拆除工程、专业之间协调、安装全面铺开施工阶段、调试和资料整理竣工验收交付阶段。我公司将根据不同施工阶段的特点,及时准确地配置各种生产要素,并采用科学合理的施工方法,在保证阶段目标如期实现的的基础上确保工程如期竣工。(一)工

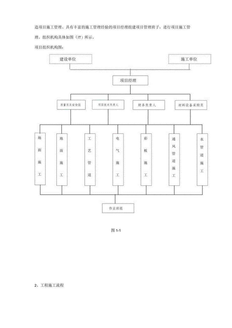
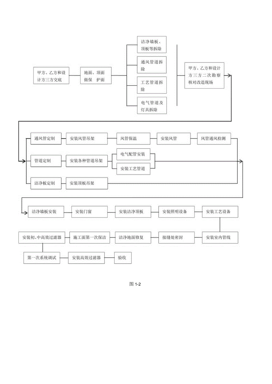
3、程工期、质量、安全及文明目标1、工程工期目标:60工作日(日历日)。2、工程质量目标:达到改造目的。3、工程安全目标:无重大伤亡事故,无设备事故,无火警,创安全无事故工程。4、文明施工目标:符合天津现行安全生产文明施工验收标准。(二)项目管理机构1、项目部组织结构设置为确保改造工程工期、质量、安全、文明施工;我公司决定选派一名多次组织指挥过改造项目施工管理、具有丰富的施工管理经验的项目经理组建项目管理班子,进行项目施工管理。组织机构具体如图(IT)所示。项目组织机构图:图1-12、工程施工流程图1-2四、沟通及协调1、与建设单位沟通及协调(1)在开工前和开工初期,项目部的主要管理人员应于甲方建

4、立密切的联系,将我方对各专业的详细计划与建设单位进行交流,根据其要求进行调整,我方将向建设单位提供施工进度计划、材料进场计划和设备进场计划。(2)根据施工进度与甲方代表协调由建设方提供的设备到场时间和地点,配合建设单位进行设备的装卸等。(3)在施工过程中严格接受建设方管理,安装质量检测项目在自检后主动邀请建设方进行检查。(4)提交开工报告报甲方审批2、与设计单位沟通及协调(1)施工人员在改造过程中、若发现与改造图纸不否、现场不满足改造条件的情况,项目技术负责人要及时与设计方沟通解决,解决方案需建设方同意后方可实施。(2)项目技术负责人,定期或不定期组织有关专业负责人参加与设计代表的协调会,协商

5、解决相关问题。3、洁净间施工班组与其他施工班组协调(1)洁净区施工与动力、照明及通风、消防、仪表等安装之间,相互协调施工进度,做好洁净板拆除,洁净板内穿管、保证各环节人员相互之间的配合,避免二次施工。(2)洁净区施工与工艺管道施工配合,首先相互协调确定管道的走向及位置,做好管道穿越彩钢板位置的开口及密封工作以及管道固定措施。(3)工艺管道二次配管要服从洁净区管理,做好成品保护工作。(4)对作业组全体人员进行施工前安全交底,对安装各分项进行技术交底。与作业组签订安全施工,文明施工责任书。五、现场施工管理为使该工程能够按质按期的完成,我公司在该现场项目经理部将配备懂技术、善管理、有多个类似项目施工

6、经验的管理人员,按照项目法施工的要求,进行全过程、全方位的规定、组织、控制和协调工作。现场施工管理工作分为三个阶段,确保有效的控制现场环境卫生,以项目完工时达到洁净要求。1、第一阶段:要求一般的污染控制这一阶段开始前,净化区做好成品保护工作,地面用彩条布进行铺设,重要节点部位另作加强保护,顶面工作面用大芯板进行铺设。这一阶段可界定为吊顶板安装之前的作业过程工作内容如墙板及顶板拆装、风管管道拆除、动力设备、一次配管和配线(电缆桥架及电气配管配线)、壁板及吊顶的龙骨安装等。管理规定:(1)进入洁净厂房的所有人员,必须接受该阶段管理规定的培训I,并佩带相应的胸徽(准入证)入室;(2)进入洁净厂房应穿

7、干净鞋具,不得带油渍、污泥入内;(3)室内不得吸烟、饮食和饮水;(4)拆除的材料应整齐归类,拆除的废料及时搬出室外。(5)焊接、切割、凿洞等有尘作业必须加以控制,防止碎屑大范围扩散,每天工作结束时应将垃圾搬出室外倒入规定处;(6)施工材料堆放整齐;(7)室内严禁大小便;(8)有违犯以上规定者,应立即取消在洁净厂房工作的资格。2、第二阶段:要求较高的污染控制这一阶段可界定为第一阶段之后、吹扫之前的作业过程,工作内容如壁板及吊顶板安装、各专业管线穿壁板安装、灯具安装、部分设备安装等,以及采用局部擦洗等方法进行全面彻底的清扫工作。管理规定:(1)凡进入该区域的人员,必须经过该阶段管理规定的培训,并佩

8、带相应的胸徽(准入证)入室;(2)进入该区域的人员,应穿着干净的工作服、鞋具,后期应穿着洁净服、洁净鞋(或普通干净的鞋共应会穿洁净鞋套:(3)带入的材料应是洁净的,工具、机具要清洗干净后才能带入室内;(4)所有产尘作业须严加控制,发生碎屑、尘埃,应立即用吸尘器清除;(5)洁净室内不得吸烟、饮食和饮水;(6)室内防止堆积过多材料;(7)除必须的人流、物流门洞外,其他门洞应予以封堵;(8)室内严禁大小便;(9)有违犯以上规定者,应立即取消在洁净厂房工作的资格。第三阶段:要求极高的污染控制这一阶段可界定为吹扫之后、直至调试交付的作业过程,工作内容如安装高效过滤器、全面测试前的最后吸尘清扫工作、净化空

9、调运行测试考核及二次配管配线等。管理规定:(1)凡进入该区域的人员,必须经过该阶段管理规定的培训,并佩带相应的人员佩带施工证(准入证)入室;(2)只有必要的人员和用户代表,才能进入洁净室,将人流控制在最低限度;(3)人流、物流入口应分开:一般只设一个人流入口,对物流入口要严加控制,要有专人值班,且入口不得常开;(4)进入洁净室要先登记,然后按洁净室的净化级别在更衣室更换干净的洁净服、鞋、帽,洗手烘干后,通过气闸室进入洁净区;(5)不得在洁净区进行焊接和锯、割、凿墙洞、打孔等能产生颗粒、尘埃和烟雾的作业;不得己要进行产生尘埃作业时,应事先经有关部门批准,并用真空吸尘器随时吸除尘埃;(6)洁净室内

10、不得吸烟、饮食、饮水、大小便;(7)配备专职的洁净施工监督员,巡回检查、监督,对违规者应立即责令其离开洁净室;对严重违规者,还应给予严厉处分。六、确保洁净达标的保证措施1、宗旨(1)为保证洁净厂房工程的质量,对洁净厂房的施工、验收、检测必须执行施工组织设计和洁净室施工及验收规范。(2)洁净厂房施工前必须按洁净室主要施工程序制订详尽的施工协作计划,并严格按施工程序施工,每道工序要进行中间验收并记录。(3)工程所用的主要材料、设备、成品半成品均须符合设计的规定,并有出厂合格证明或质量鉴定证明文件,没有出厂合格证明或对质量有怀疑时,必须进行检验,符合要求后方可使用。超过工厂保质期的材料不得使用。2、

11、装修施工要点(1)根据GMP规范要求,洁净室在设计和安装时应考虑使用中避免出现不易清洁的部位,本改造工程在进行净化装修时,门窗安装与建筑、各种管线、照明灯具的结合部位缝隙要密封处理。(2)所有的配件、隔墙、吊顶的固定和吊挂件只能与主体结构相连,不能与设备和管线支架交叉混用,防止因微震引起装饰材料松动和灰尘脱落。(3)建筑装饰和门窗的缝隙应在正面密封。(4)施工中应控制施工作业中的发尘量,特别是吊顶和夹墙内部等隐蔽空间,必须随时清扫。(5)在己安装高效过滤器的房间,不能进行有粉尘的装修作业。(6)原洁净间改造部位拆除时,注意成品保护,施工前规划出施工人员在洁净间活动范围,无改造部位的区域禁止人员

12、进出。(7)注意保护已完成的作业面,不得因撞击、敲打、踩踏、多水作业等造成板材凹陷、暗裂和表面装修的污染。(8)改造时要先预存原有改造部位照片,完成后照照片预存,以便甲方存档。七、施工方法6.1 工程改造装修工程施工方法6.1.1 关于二次设计结构的二次设计根据设计院提供的各专业图纸,结合建设方的工艺要求,综合拆除原有洁净板后各专业的配合,对顶板和壁板按照厂家生产的标准模数进行排版,从美观角度考虑到顶板、壁板的对缝,门窗、高效送风口的布置方式,从而确定顶板、壁板和铝型材的规格通过二次设计,可以及时发现拆除前设计中存在的问题,提出合理化建议,必要时,调整施工进度计划,按规定工期交给厂家美观、合格

13、的改造厂房。6.1.2施工要点拆除完成后,对洁净空间进行一次清扫,洁净围护结构的安装是在技术夹层内的各种主管安装完毕,然后对室内地墙、空间进行一次彻底清扫,并在施工过程中零部件和场地做到专人清扫。a.施工前首先熟悉二次设计图,完成现场勘测,对改造图纸的误差做到心中有数。改造结构应严格按二次设计图要求进行。b.根据现场具体情况及净化系统的组成、有步骤有计划的施工,使各工种的施工有机的结合,以加快施工进度。C.吊顶应按房间宽度方向起拱,使吊顶在受荷载后的使用过程中保持平整。吊顶四周应与墙体交接严密,安装过程中不得撕下板材表面保护膜。禁止撞击和踩踏板面。d.围护结构的所有安装缝隙,必须用硅胶密封,嵌

14、填的密封胶应平直、光滑、不应有间断,外露毛边等现象。打胶的环境温度应在摄氏零度以上进行。e.在经常启闭门扇通行的情况下,除某些外门为避开重设备等运输时可能对门楼的碰撞而把密闭条全部设置在门扇上,一般情况下,为了使密闭条尽量避免手模、脚踩或击碰,会受人行与运输的影响,多将长度仅几亳米的小断面成型弹性密闭条敷设在门楼的隐蔽凹槽部位,再借门扇的关闭压紧。密闭条应沿活动缝隙周边连续敷设,以便在门关闭后形成一圈封闭齿形的密封线。若密闭条被分别设置在门樟和门扇两处时,就必须注意两者有很好的衔接,尽量减小密闭条在门缝的中断间隙。f.管道穿行:管道穿过围护结构时,首先需要有良好的固定构造,在使用时不能晃动变位

15、,才能保证密封措施的效果。必须将安装定位与密封处理两者有机结合起来。因此壁板上所开的每个孔的周边附加定位骨架,大尺寸风管加固应防止前后、左右、上下窜动,在管壁与壁板缝隙内垫胶或海绵垫再用密封胶处理。6. 1.3质量要求a.本工程地面为原环氧树脂地面,拆除后部分地面需要修复,一定要注意原地面成平保护。b.对净化装修工程所用材料,零部件应符合设计要求,设计无要求的自购件应达到优质或部颁标准。岩棉彩钢板应有质保书,性能检测报告,合格证书。C.拆除后必须彻底清扫至无积尘,彩钢板和配件应存放在清洁环境中,平整的放在防潮膜上,防止变形,不合格或已损坏的产品不得安装。d.壁板隔墙安装要平整,板缝要垂直严密。吊顶的固定和吊挂件只能与主体结构相连,不能与设备和管线支架交叉混用。壁板和顶棚表面应光洁、平整,不起灰,不落尘,耐腐蚀,耐冲击,易清洗。e.洁净室内地面与墙面、墙面与墙面,墙面与顶棚间的阴阳角采用R=50三的铝合金圆角,并用硅胶密封。R圆角安装必须平直,接头严密。f、所有密封窗、洁净门及隔断缝隙均需用硅胶密封。g、严格执行国家颁布净化装修工程的施工验收规范和质量评定标准,并做好各项隐蔽工程记录,确保达到GMP验收标准。

展开阅读全文
相关资源
猜你喜欢
相关搜索

当前位置:首页 > 建筑/环境 > 施工组织

copyright@ 2008-2023 1wenmi网站版权所有

经营许可证编号:宁ICP备2022001189号-1

本站为文档C2C交易模式,即用户上传的文档直接被用户下载,本站只是中间服务平台,本站所有文档下载所得的收益归上传人(含作者)所有。第壹文秘仅提供信息存储空间,仅对用户上传内容的表现方式做保护处理,对上载内容本身不做任何修改或编辑。若文档所含内容侵犯了您的版权或隐私,请立即通知第壹文秘网,我们立即给予删除!