棉胎产品质量监督抽查实施细则.docx

上传人:p** 文档编号:384470 上传时间:2023-08-06 格式:DOCX 页数:5 大小:23.49KB
下载 相关 举报
棉胎产品质量监督抽查实施细则.docx_第1页
第1页 / 共5页
棉胎产品质量监督抽查实施细则.docx_第2页
第2页 / 共5页
棉胎产品质量监督抽查实施细则.docx_第3页
第3页 / 共5页
棉胎产品质量监督抽查实施细则.docx_第4页
第4页 / 共5页
棉胎产品质量监督抽查实施细则.docx_第5页
第5页 / 共5页
亲,该文档总共5页,全部预览完了,如果喜欢就下载吧!
资源描述

《棉胎产品质量监督抽查实施细则.docx》由会员分享,可在线阅读,更多相关《棉胎产品质量监督抽查实施细则.docx(5页珍藏版)》请在第壹文秘上搜索。

1、棉胎产品质量监督抽查实施细则1、范围本细则适用于XX省纤维检验局组织的棉胎产品质量省级监督抽查检验。本细则规定了此产品的抽样方法、检验依据、检验项目、检验方法、判定原则、异议处理及复检。本次监督抽查产品范围:棉胎。2、抽样方法本次棉胎监督抽查,抽样领域为棉胎生产企业、市场实体店、电商平台。2.1 棉胎生产企业抽样抽样工作由承检机构持XX省产品质量监督检验员证”的不少于2名工作人员共同完成。样品应当由抽样人员在受检企业有产品质量检验合格证明或者其他形式表明合格的待销产品中随机抽取,随机数使用扑克牌方法产生。抽样人员在受检企业成品仓库或者其确认场所,确定产品批次基数后按照监督抽查实施方案随机抽样,

2、并现场查验样品状态和数量。所需样品含检验样品和备用样品)以承检机构名义付费购买,购买样品的价格原则上按照生产、销售产品的标价;没有标价或虚标价格的,参照同类产品的出厂价格或市场交易价格。抽样人员须索取购买样品发票、收据等购样凭证。抽样数量:棉胎抽取2条,1条为检验样品,1条为备用样品,或满足试验最小量确定抽样数量。抽样基数不少于5条。备用样品由承检机构封存,抽样过程均需拍照留证。一经抽样,立即封样,任何I人不得调换。2.2 市场实体店抽样抽样工作由承检机构持XX省产品质量监督检验员证的不少于2名工作人员共同完成。监督抽查所需样品(含检验样品和备用样品)以承检机构名义付费购买。购买样品的价格原则

3、上按照生产、销售产品的标价;没有标价或虚标价格的,参照同类产品的出厂价格或市场交易价格。抽样人员须索取购买样品发票、收据等购样凭证。抽样数量:棉胎抽取2条,1条为检验样品,1条为备用样品,或满足试验最小量确定抽样数量。抽样基数满足抽样数量即可。备用样品由承检机构封存,抽样过程均需拍照留证。一经抽样,立即封样,任何人不得调换。2.3 电商平台抽样随机确定受检电商。将购买过程中与商户交流、产品信息、网页宣传等截图(包括商标、厂名厂址、产品外观、型号规格、执行标准、产品等级、安全类别、纤维含量等信息),作为证明材料,并索取发票等购样凭据留证。抽样数量:棉胎购样2条,1条为检验样品,1条为备用样品,或

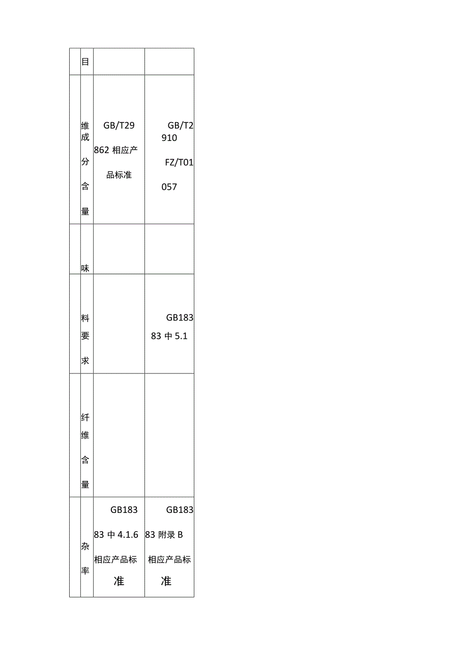
4、满足试验最小量确定抽样数量。抽样基数满足抽样数量即可。3、检验依据检验方法包括相关产品标准及试验方法标准。凡是注日期的文件,其随后所有的修改单(不包括勘误的内容)或修订版不适用于本细则。凡是不注日期的文件,其最新版本适用于本细则。表1棉胎监督抽查检验项目表检验依 验号 据检验检测方法目维GB/T29GB/T2成862相应产910分品标准FZ/T01含量057味料GB183要83中5.1求纤维含量GB183GB18383中4.1.683附录B杂相应产品标相应产品标率准准量相应产相应产偏品标准品标准差率4、判定规则4.1依据标准GB18401-2010国家纺织产品基本安全技术规范GB18383-2

5、007絮用纤维制品通用技术要求GB/T29862-2013纺织品纤维含量的标识GB/T22843-2009枕、垫类产品GB/T22844-2009配套床上用品GB/T22796-2009被、被套GB/T22796-2021床上用品GB/T35261-2017被胎GB/T35932-2018梳棉胎GH/T12000梳棉胎DB32/T2128-2016学生公寓用棉胎相关的法律法规、部门规章和规范企业明示的产品标准经备案现行有效的企业标准及产品明示质量要求等依据产品标准和XX省省级产品质量监督抽查工作规范,明确判定规则:经检验,检验项目全部合格,判定为被抽查产品合格;检验项目中任一项或一项以上不合格

6、,判定为被抽查产品不合格。若被检产品明示的质量要求高于本细则中检验项目依据的标准要求时,应按被检产品明示的质量要求判定。若被检产品明示的质量要求低于本细则中检验项目依据的强制性标准要求时,应按照强制性标准要求判定。若被检产品明示的质量要求低于或包含细则中检验项目依据的推荐性标准要求时,应以被检产品明示的质量要求判定,但应在检验报告备注中进行说明。若被检产品明示的质量要求缺少本细则中检验项目依据的强制性标准要求时,应按照强制性标准要求判定。若被检产品明示的质量要求缺少本细则中检验项目依据的推荐性标准要求时,该项目不参与判定,但应在检验报告备注中进行说明。5、异议处理5.1 对监督抽查程序有异议的,由任务下达部门核查相关证据后维持或者撤销原检验结果。5.2 对检验结果有异议的,任务下达部门核查相关证据,能够证明原检验结果准确的,维持原检验结果;不能证明原检验结果准确,需要进行复检的,由任务下达部门指定复检机构进行复检,复检结果为本次专项监督抽查最终结论。5.3 对样品信息有异议的王务下达部门核查样品确认情况和生产企业提交证明材料后,维持或者撤销原检验结果。5.4 本次棉胎产品质量监督抽查项目均可复检。

展开阅读全文
相关资源
猜你喜欢
相关搜索

当前位置:首页 > 管理/人力资源 > 质量管理

copyright@ 2008-2023 1wenmi网站版权所有

经营许可证编号:宁ICP备2022001189号-1

本站为文档C2C交易模式,即用户上传的文档直接被用户下载,本站只是中间服务平台,本站所有文档下载所得的收益归上传人(含作者)所有。第壹文秘仅提供信息存储空间,仅对用户上传内容的表现方式做保护处理,对上载内容本身不做任何修改或编辑。若文档所含内容侵犯了您的版权或隐私,请立即通知第壹文秘网,我们立即给予删除!