霍口畲族乡综合行政执法流程图.docx

上传人:p** 文档编号:456859 上传时间:2023-09-01 格式:DOCX 页数:3 大小:119.11KB
下载 相关 举报
霍口畲族乡综合行政执法流程图.docx_第1页
第1页 / 共3页
霍口畲族乡综合行政执法流程图.docx_第2页
第2页 / 共3页
霍口畲族乡综合行政执法流程图.docx_第3页
第3页 / 共3页
亲,该文档总共3页,全部预览完了,如果喜欢就下载吧!
资源描述

《霍口畲族乡综合行政执法流程图.docx》由会员分享,可在线阅读,更多相关《霍口畲族乡综合行政执法流程图.docx(3页珍藏版)》请在第壹文秘上搜索。

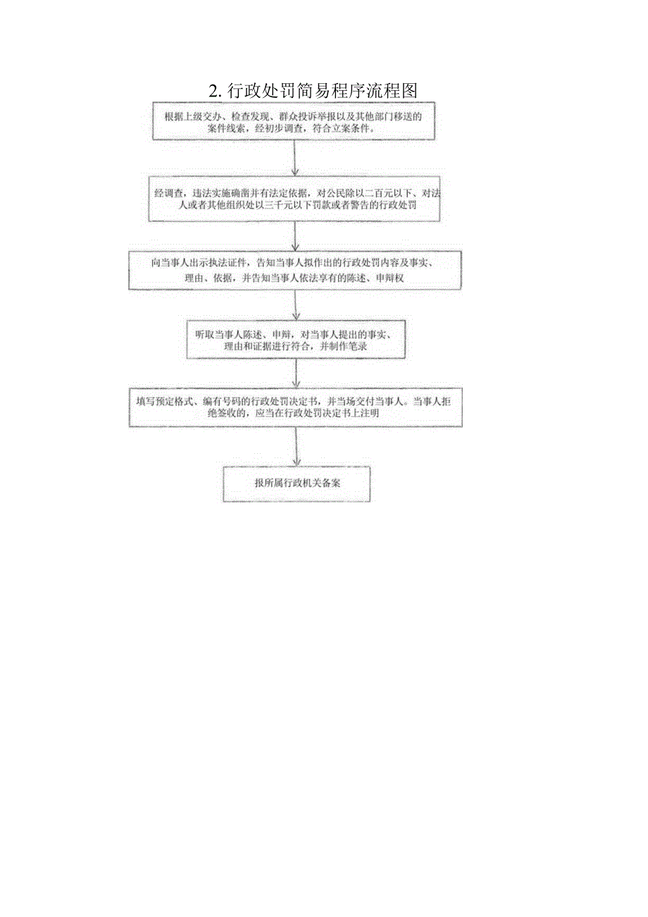
霍口畲族乡综合行政执法流程图1.行政处罚普通程序流程图2.行政处罚简易程序流程图不符合要求的,退回补充材料W市核通过后TM序提交集体讨论或径报行政执法机关负责人决定3.重大执法决定法制审核流程图1 .行政执法主体是否合法;2 .行政执法人员是否具备执法资格;3 .行政执法程序是否合法;4 .案件事实是否清楚证据是否合法充分:5 .适用法律、法规、规章是否准确,载量基准运用是否适当:6 .行政执法是否超越行政扶法机关法定视限;7 .行政执法文书是否完备规范:8 .违法行为是否涉嫌犯罪、需要移送司法机关;9 .其他需要审核的内容。双方意见无法达成一致的、报行政执法机关负责人决定立卷归档

展开阅读全文
相关资源
猜你喜欢
相关搜索

当前位置:首页 > 法律/法学 > 行政法

copyright@ 2008-2023 1wenmi网站版权所有

经营许可证编号:宁ICP备2022001189号-1

本站为文档C2C交易模式,即用户上传的文档直接被用户下载,本站只是中间服务平台,本站所有文档下载所得的收益归上传人(含作者)所有。第壹文秘仅提供信息存储空间,仅对用户上传内容的表现方式做保护处理,对上载内容本身不做任何修改或编辑。若文档所含内容侵犯了您的版权或隐私,请立即通知第壹文秘网,我们立即给予删除!