市政项目监理大纲-工程进度控制.docx

上传人:p** 文档编号:480249 上传时间:2023-09-16 格式:DOCX 页数:16 大小:88.94KB
下载 相关 举报
市政项目监理大纲-工程进度控制.docx_第1页
第1页 / 共16页
市政项目监理大纲-工程进度控制.docx_第2页
第2页 / 共16页
市政项目监理大纲-工程进度控制.docx_第3页
第3页 / 共16页
市政项目监理大纲-工程进度控制.docx_第4页
第4页 / 共16页
市政项目监理大纲-工程进度控制.docx_第5页
第5页 / 共16页
市政项目监理大纲-工程进度控制.docx_第6页
第6页 / 共16页
市政项目监理大纲-工程进度控制.docx_第7页
第7页 / 共16页
市政项目监理大纲-工程进度控制.docx_第8页
第8页 / 共16页
市政项目监理大纲-工程进度控制.docx_第9页
第9页 / 共16页
市政项目监理大纲-工程进度控制.docx_第10页
第10页 / 共16页
亲,该文档总共16页,到这儿已超出免费预览范围,如果喜欢就下载吧!
资源描述

《市政项目监理大纲-工程进度控制.docx》由会员分享,可在线阅读,更多相关《市政项目监理大纲-工程进度控制.docx(16页珍藏版)》请在第壹文秘上搜索。

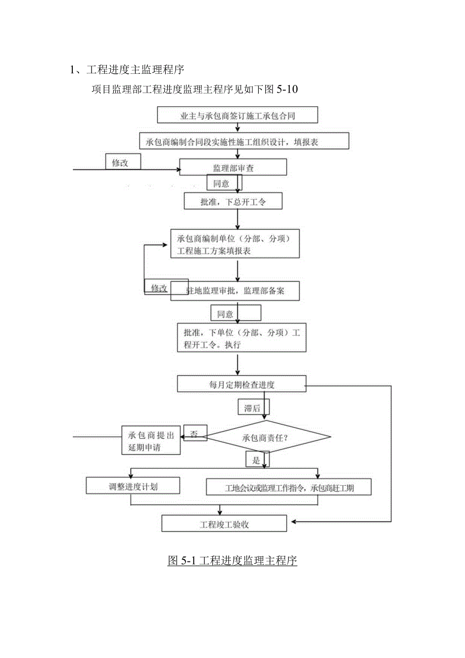
1、工程进度控制(一)工程进度控制目标工程进度控制目标:控制施工工期不大于计划工期。在项目实施前要求各施工承包商根据合同要求提出工程总进度计划,年度和月度施工进度计划,审查并督促其实施,及时进行计划进度与实际进度的比较,按月给业主通报工程进度情况,出现偏差时指令承包商进行调整,并督促承包商的资金、机械、材料、人工等及时到位,以保证工程按确保工程在要求竣工。(二)工程进度控制程序1、工程进度主监理程序项目监理部工程进度监理主程序见如下图5-10图5-1工程进度监理主程序2、施工进度计划审批流程项目监理部工程施工进度计划监理审批流程见如下图5-2。图5-2工程施工进度计划监理审批流程图3、工程延期监理

2、工作程序项目监理部工程延期监理工作程序见如下图5-3O延期事件发生承包商1个月内向监理工程师提交延期意向总监授权进度监理收集资料,做好记录延期事件终止后1个月内,承包商向监理工程师提交正式延期申请书*|不通过L审查承包商的延期申请-1承包商承担延期责任过L组织人员进行延期评估总监收到审查报告后,并确认结论,签发延期审批,确定延期报业主审批通知监理工程师通知承包商图5-3工程延期监理工作程序图(三)工程进度控制方法1、严格审查承包商的施工组织设计建立施工组织计划报审制度,要求施工承包单位必须编报施工总进度计划、季度计划、月度动态计划,监理工程师依据合同、批准的施工组织设计和工程需要,着重对计划的

3、可行性、合理性和延期风险进行评审,防止因进度计划安排不合理造成工期延误。督促承包商施工组织设计编制时遵照“严守合约、综合平衡、积极可靠、留有余地、确保关键、兼顾一般”的原则。在施工组织设计中,提倡采用网络技术、方针目标管理,全面质量管理,ABC法等现代化企业管理手段。在施工组织设计审查时,特别重视下述各条:a.工期安排的合理性;b.施工准备工作的可靠性;c.工序之间的合理衔接;d.施工方法的可靠性以及与承包商施工经验、施工实际水平的适应性;e.关键线路上劳力、设备安排是否妥当;f.进度计划是否留有余地,计划调节的可能性;g.人、机、料、法、环之间的协调性。在工程施工进入高峰期后,要求施工单位编

4、排不同工种之间的穿插配合工作计划、材料供应和施工机械准备计划,避免因工、料、机配合脱节造成工期拖延;对同时交叉施工较多、施工单位多的施工段,要求承包单位编制专门的协调组织方案。2、检查、督促工程进度计划的落实监理部经常性地组织检查承包单位总计划分解的落实情况,检查日进度安排的完成情况。驻段监理工程师督促承包商定期对每天进度计划的完成情况进行自查,如进度与计划不符,与承包商一起分析原因,采取措施。在工程进度计划实施后,及时跟进并收集工程实际进展情况,包括工作的开始时间、完成时间、持续时间、逻辑关系、实物工程量和工作量,以及工作时差的利用情况等,从中了解到施工过程中影响进度的潜在问题,以便及时采取

5、相应的措施加以预防和防止偏差、纠正偏差。对工程进度采用动态管理方法,在工程实际进度与计划进度出现偏差时,及时督促承包商对进度计划进行适当调整。并采取相应措施确保工期目标的实现,调整后计划应符合工程现场的实际,并满足合同工期的要求。调整后的计划和拟采取的措施由监理工程师审批。对工程进度计划的检查、调整通过工地会议进行,必要时召开专题协调会议,下达监理指令等形式进行。对工程进度计划审核发现不合理部分,监理工程师要求承包商进行调整,特别是调整关键工序上的施工安排,增加人力、物力,确保整个工程进度计划的实施。监理部对工程进度计划检查落实情况,调整情况,拟采用措施情况及时通报业主。3、工地会议制度通过工

6、地每周一次的协调会和不定期的专项协调会议,听取建设各方工作进展情况和需要协调协同解决的事项,一般性问题于会中给予协调解决,对复杂的问题与会后专门召集相关人员召开专题协调会解决。通过各种协调会议,监理人员协助承包单位优化进度计划安排,对施工过程中遇到的难题出谋献策协同解决,特别是协助解决好外部关系协调、施工区段间的协调、施工作业面间的协调、施工单位间的协调、设计供图协调等,为承包单位创造一个良好的施工环境。4、建立工程进度控制信息档案监理部设专人进行工程进度控制信息档案的管理。除采用传统形象进度图、直方图等直观图表进行工程进度管理外,我司目前各工程项目监理部均采用计算机技术对工程进度进行信息处理

7、分析。5、对影响进度的各种因素进行控制,确保合同工期如期实现在工程进度控制上,监理部密切注意实际施工中影响进度的诸多因素,对影响进度的原因组织分析会,属于内部原因造成的,督促承包商采取措施改进,确保合同工期的如期实现。如工程进度滞后是由第三方原因造成而可以通过协调处理解决的,监理工程师积极进行协调,排除干扰因素,促进工程进度顺利进展。如工程进度滞后的原因,非协调可以解决的,且又符合合同规定的工程延期条件的,可由承包商按规定提出工期延期报告,由监理审查属实后,报业主批准后执行。(四)工程进度控制措施1、组织措施针对本工程所处地理位置,我司将选派具有组织协调能力强、熟悉当地情况的同志担任项目总监,

8、由总监负责内部和外部的统一协调指挥,并将进度监控目标层层分解、层层落实到每一个岗位每一个人,各驻段监理组负责人均安排组织协调能力强的同志担任。审查施工单位投入本工程的作业人员构成是否满足本工程工程进度的要求。要求施工承包单位每月月底向监理机构申报下月进度实施计划;根据工期要求和实际施工进度情况,研究是否需要施工单位增加作业人数,增加工作班次等;以及组织开展各施工单位之间开展劳动二Ms兄赞寺O检查施工阶段材料、设备的规格、数量,劳动力、机械、各类周转材投入情况是否满足工程进度的要求。改善工程外部配合条件,加强监理单位和施工单位的配合,加强和业主的联系等。定期召开与本工程有关的工程各方参加的工程进

9、度计划协调例会,听取工程进度问题汇报,对其中有关进度问题提出监理意见。在施工高峰期,工序交接频繁、矛盾较多的情况下,每日召开碰头协调会议及时解决。2、经济措施监理工程师对工程进度实行包干管理与奖励挂钩。确保建设资金的及时到位用于本工程中;为了防止备料款或进度款挪为它用,要求承包单位提交“每月资金运用与计划表、延误工期的制约:a.停止付款:直至赶工达到进度要求后,才支付进度款;b.误期损失赔偿:对工期损失进行经济惩罚;c.终止对施工单位的使用:工期延误严重滞后,多次督促仍无改进,工期计划不落实,建议业主更换施工单位。鼓励承包单位采用有利于进度的新工艺、新技术和优化设计、施工方案,如能为业主节约投

10、资、保证质量和减少工期,请示业主采取奖励措施。3、技术措施加强监理部在工程管理中的技术管理力量,认真研究施工招投标文件和设计文件有关技术资料,向业主技术部门及设计部门提出合理化建议。建立进度计划报审制度,监督进度计划的落实实施,工程实际进度与计划进度不符,监理工程师要求施工单位修改进度计划,并作出保证工程按期竣工而采取的加快工程进度的措施。如工程进度滞后的原因,非协调可以解决的,且又符合合同规定的工程延期条件的,由承包商按规定提出工期延期报告,由监理审查属实后,报业主批准后执行。批准延期,不是由施工单位自身原因而是由施工单位以外的原因,监理工程师根据合同条件,批准工期的延长,涉及经济损失必须征

11、得项目法人意见,方可批准。督促承包商优化施工组织,实行平行、立体交叉作业。鼓励承包商采用新技术、新工艺、新材料,缩短工艺时间,减少工艺环节等。根据承包商施工总进度计划的要求,督促工程材料与设备及时订货、进场。4、合同措施对施工合同有关条款执行情况分析、纠偏、修改补充。及时办理工程计量和进度款制度的审查签证,对已完合格工程量进行核实,签发进度款付款凭证,以保证承包单位的后续施工费用。落实由业主负责供应的材料、物资按计划供应。谨慎处理现场变更、协助审查和控制设计变更。严格合同条款的执行和协调处理有关索赔事项;审批进度拖延,正确处理工期延误。若根据合同确认造成拖延的原因不属承包方亦非承包单位风险,报

12、请业主审批。(五)工程进度控制的针对性措施本工程中路基软土处理以及土方填筑工程工作量大,同时桥梁工程施工难度大、工作面集中、工序复杂、外部影响因素多,内、外部协调工作量大,进度控制任务艰巨。为此必须统筹规划、统一协调,通过计划、组织、协调与调整等科学的控制方法、严格的管理制度、完善的监控措施,确保进度目标的实现。为此,我司将从以下几方面采取针对性措施。1、加强组织保证,建立进度计划报审及进度检查制度在项目监理部的组建上充分考虑到这一点,选派一些长期从事市政建设、业务熟悉、协调能力强的同志来参与本工程的施工监理工作,针对本工程中项目专业性很强的特点,调派富有施工经验、责任心强的技术专才,充实监理

13、部技术力量,加强技术管理,提供超前技术服务,强化项目部的值班制度,确保施工现场24小时有专业监理人员及时协调解决现场发生的问题。在项目管理中由总监负责内部和外部的统一协调指挥,并将进度监控目标层层分解、层层落实到每一个岗位每一个人,各驻段监理组负责人均安排组织协调能力强的同志担任。督促承包商根据确定的施工工艺配备足够的机械设备,配备数量多、技术强、经验丰富的技术人员,督促和检查参战施工单位管理人员到位情况,特别是督促各施工单位的项目经理必须到位,亲临一线指挥作战。认真审核施工组织设计、施工方案、施工进度计划及年、季、月、周动态计划;劳动力、材料、构配件、机具设备等资源配备计划是否能保证进度计划

14、的需要,供应是否均衡,高峰期是否有能力实现供应计划。对进度计划实施过程的跟踪监理:监理人员每日除监理日常工作外加强巡视检查工序、部位的实际完成情况,做好工程施工进度记录,及时检查施工承包单位报送的进度报表,并对已完部位工程的时间和工程量根据计划网络和周进度计划报表进行核实。2、加强对外的协调工作我司将选配具有组织协调能力强、熟悉当地情况的同志担任项目总监,由总监负责内部和外部的统一协调指挥,并将进度监控目标层层分解、层层落实到每一个岗位每一个人,各驻段监理组负责人均安排组织协调能力强的同志担任。针对本工程的图纸尚不全的状况,积极与设计方进行协调,要求尽快提供施工图纸,避免施工过程等图纸的现象。

15、监理部积极发挥作为中间人的协调作用,积极、主动参与与当地政府、管线单位及村民的沟通,同时督促承包商在施工过程中注意保护当地农田水利设施及管线,避免冲突事件的发生。3、积极参与征地拆迁工作本工程征地、拆迁量多,拆迁、征地难度大,因此征地、拆迁的控制是本工程进度控制的一个重点O我司将在项目开工前,积极与设计、建设方进行沟通,对道路规划线路的选取从投资、工期以及对周边环境的影响等方面综合考虑,选择一条最经济又能满足工期需要的线路。在项目实施前期工作中,我司驻场监理部将安排一、二名熟悉征地、拆迁工作的同志配合征地、拆迁部门开展工作。在项目实施过程中,对出现的建筑物拆迁、绿化树木迁移、管线迁移等积极与各方进行沟通,确保征地、拆迁工作不影响施工进度及工期安排,避免由于拆迁滞后导致工期拖延造成损失或发生索赔。4、缩短施工准备期,尽早进入实际施工监理部积极配合并督促承包商缩短施工准备期,特别是路基挖方取土场的落实、桥梁机械的准备工作将严格按照计划落实;同时监理部配合承包商办理各类报批手续,尽早进入实际施工。要求施工单位做到大投入和多开施工段,备足施工应急发电设备,确保工程进展不受停电及天气影响。督促施工方做好材料、辅助材料及机械设备的供

展开阅读全文
相关资源
猜你喜欢
相关搜索

当前位置:首页 > 论文 > 管理论文

copyright@ 2008-2023 1wenmi网站版权所有

经营许可证编号:宁ICP备2022001189号-1

本站为文档C2C交易模式,即用户上传的文档直接被用户下载,本站只是中间服务平台,本站所有文档下载所得的收益归上传人(含作者)所有。第壹文秘仅提供信息存储空间,仅对用户上传内容的表现方式做保护处理,对上载内容本身不做任何修改或编辑。若文档所含内容侵犯了您的版权或隐私,请立即通知第壹文秘网,我们立即给予删除!