社会团体成立、变更、注销登记及修改章程核准.docx

上传人:p** 文档编号:563720 上传时间:2023-11-02 格式:DOCX 页数:7 大小:164.37KB
下载 相关 举报
社会团体成立、变更、注销登记及修改章程核准.docx_第1页
第1页 / 共7页
社会团体成立、变更、注销登记及修改章程核准.docx_第2页
第2页 / 共7页
社会团体成立、变更、注销登记及修改章程核准.docx_第3页
第3页 / 共7页
社会团体成立、变更、注销登记及修改章程核准.docx_第4页
第4页 / 共7页
社会团体成立、变更、注销登记及修改章程核准.docx_第5页
第5页 / 共7页
社会团体成立、变更、注销登记及修改章程核准.docx_第6页
第6页 / 共7页
社会团体成立、变更、注销登记及修改章程核准.docx_第7页
第7页 / 共7页
亲,该文档总共7页,全部预览完了,如果喜欢就下载吧!
资源描述

《社会团体成立、变更、注销登记及修改章程核准.docx》由会员分享,可在线阅读,更多相关《社会团体成立、变更、注销登记及修改章程核准.docx(7页珍藏版)》请在第壹文秘上搜索。

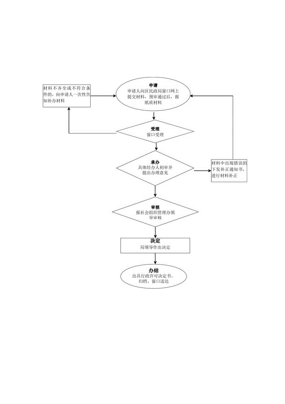
承办机构相山区社会组织管理办服务电话:材料不齐全或不符合条件的,向巾清人一次性告一知补办材料Ab申请jx(申请人向区民政局窗口网上、K提交材料,预审通过后,报纸质材料.JZZ一一I受理-窗口受理办、材料中出现错误的具体经办人初审并j下发补正通知书,出办理意日进行材料补正审核导审核决定局领导作出决定一I_/办结”、(出具行政许可决定书、)归档、窗口送达承办机构:相山区社会组织管理办服务电话:民办非企业单位修改章程核准流程图殡葬设施建设审批流程图承办机构:烈山区社会事务办服务电话:慈善组织公开募捐资格审核法定时限:20个工作日承诺时限:18个工作日承办机构:社会组织管理办服务电话:

展开阅读全文
相关资源
猜你喜欢
相关搜索

当前位置:首页 > 办公文档 > 规章制度

copyright@ 2008-2023 1wenmi网站版权所有

经营许可证编号:宁ICP备2022001189号-1

本站为文档C2C交易模式,即用户上传的文档直接被用户下载,本站只是中间服务平台,本站所有文档下载所得的收益归上传人(含作者)所有。第壹文秘仅提供信息存储空间,仅对用户上传内容的表现方式做保护处理,对上载内容本身不做任何修改或编辑。若文档所含内容侵犯了您的版权或隐私,请立即通知第壹文秘网,我们立即给予删除!