手术物品清点制度.docx

上传人:p** 文档编号:671521 上传时间:2024-01-07 格式:DOCX 页数:3 大小:56.43KB
下载 相关 举报
手术物品清点制度.docx_第1页
第1页 / 共3页
手术物品清点制度.docx_第2页
第2页 / 共3页
手术物品清点制度.docx_第3页
第3页 / 共3页
亲,该文档总共3页,全部预览完了,如果喜欢就下载吧!
资源描述

《手术物品清点制度.docx》由会员分享,可在线阅读,更多相关《手术物品清点制度.docx(3页珍藏版)》请在第壹文秘上搜索。

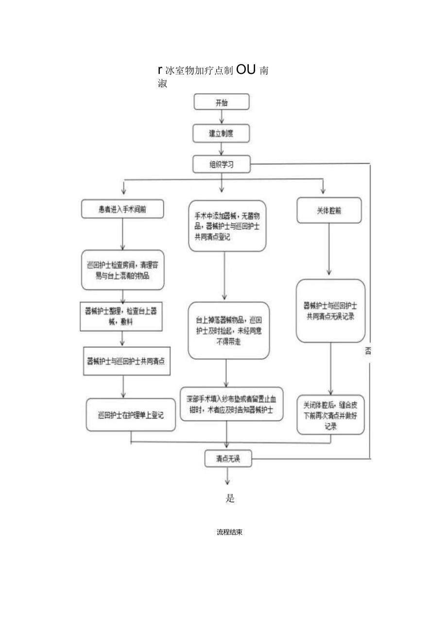
1、文件名:手术物品清点制度文件编号:HLGL-ZD-95-03共3页制定部门:护理部审核:护理质量管理委员会批准者:制订日期:2012-09修订日期:2022-06执行日期:2022-06持有部门:手术室手术物品清点制度1、清点内容:手术中无菌台上的所有物品,包括:各种手术器械、纱布、纱垫、缝针等特殊用物。2、清点时机:手术开始前、关闭体腔前、体腔完全关闭后、皮肤完全缝合后。手术切口涉及两个及以上部位或腔隙,关闭每个部位或腔隙都要清点。3、清点责任人:主刀医生、器械护士、巡回护士。4、清点方法:每次清点时由巡回护士与器械护士清点两遍,第一遍单数清点,第二遍双数清点。巡回护士在护理记录单上记录,并

2、与器械护士双人核对记录内容。5、清点要求:(1)清点时,巡回与器械护士应对台上每一件物品清点两遍,准确记录,特别注意特殊器械上的螺丝钉等附属结构是否齐全,确保物品的完整性。(2)手术物品未准确清点记录之前,手术医生不得开始手术。(3)严禁拿离手术间内的任何清点过的物品,或拿入列在清点项目里的同类物品。手术中未经器械护士允许,任何人不得随意挪用清点过的物品,不得将纱布类物品剪开使用。(4)麻醉物品使用后放入专用器皿和医疗垃圾桶中,不可与手术台用的纱布、纱垫雷同,以免混淆。(5)手术区域深部填入物品时,主刀医生应及时告知助手及器械护士,提醒记忆,防止遗留,以便清点。若创口内需填入的纱布、引流物,应

3、将其种类、数量记录于护理记录单上。(6)手术过程中增减的物品应及时清点并记录,手术台上掉落的物品,应及时放于固定的位置,以便清点。(7)关闭体腔前,器械护士提醒主刀医生去除填塞物品,再行清点。(8)主刀医生应等待护士清点物品并做准确记录后,方可进行下一步手术操作。(9)若同一个患者需要两个切口入路时,关闭第一切口时必须按常规清点所有物品,第二切口开始前必须按规定清点所有物品,方可开始手术。(10)清点物品时,如与主刀医生发生意见分歧时,应请示护士长,做出决定。(11)清点手术中用物发生数量有误时的处理方法:严格遵守手术室查对制度,认真清点、记录台上物品,当清点有误时,应立即通知护士长;若开台前

4、清点器械、敷料发现数量有误,器械护士与巡回护士应反复查找,并立即与消毒供应室负责人核实后,在护理记录单上记录实际清点数量。若关闭体腔或伤口前发现数量有误,应立即通知手术医生停止关闭,在伤口内仔细查找,核实有误时不得关闭体腔。若遗失物品为可显影物,须立即通知放射科照相,请主刀医生排除遗留在体腔内的可能性,巡回护士在护理记录单首页上详细描述事情经过,并请主刀医生签字。若遗失物为不可显影物,须请主刀医生确认未遗留在体腔内,巡回护士在护理记录单首页上详细描述事情经过,并请主刀医生签字。参考文献:1护士条例2医疗机构管理条例3医院手术部(室)管理规范(试行)卫医政发(2009)90号r冰室物加疗点制OU南淑是流程结束

展开阅读全文
相关资源
猜你喜欢
相关搜索

当前位置:首页 > 办公文档 > 规章制度

copyright@ 2008-2023 1wenmi网站版权所有

经营许可证编号:宁ICP备2022001189号-1

本站为文档C2C交易模式,即用户上传的文档直接被用户下载,本站只是中间服务平台,本站所有文档下载所得的收益归上传人(含作者)所有。第壹文秘仅提供信息存储空间,仅对用户上传内容的表现方式做保护处理,对上载内容本身不做任何修改或编辑。若文档所含内容侵犯了您的版权或隐私,请立即通知第壹文秘网,我们立即给予删除!