药品在线交易产品全国最低价格联动申报服务指南.docx

上传人:p** 文档编号:689536 上传时间:2024-01-12 格式:DOCX 页数:2 大小:41.64KB
下载 相关 举报
药品在线交易产品全国最低价格联动申报服务指南.docx_第1页
第1页 / 共2页
药品在线交易产品全国最低价格联动申报服务指南.docx_第2页
第2页 / 共2页
亲,该文档总共2页,全部预览完了,如果喜欢就下载吧!
资源描述

《药品在线交易产品全国最低价格联动申报服务指南.docx》由会员分享,可在线阅读,更多相关《药品在线交易产品全国最低价格联动申报服务指南.docx(2页珍藏版)》请在第壹文秘上搜索。

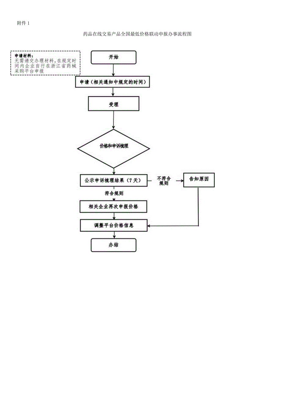
药品在线交易产品全国最低价格联动申报服务指南一、适用范围(一)涉及的内容:申报在线交易产品全国最低价格联动信息。(二)适用对象:药品生产(供应)企业。二、办事依据(一)浙江省医疗保障条例;(二)浙江省人民政府办公厅关于改革完善公立医院药品集中采购机制的意见(浙政办发(2015)57号);(三)浙江省在线交易产品全国最低价格联动申诉梳理规则:(四)药品集中采购相关政策文件等。三、申请材料目录无需递交办理材料,在规定时间内企业自行在浙江省药械采购平台申报。四、申请接收和处理(一)申请方式:网上(二)接收时间:一般每年开展一次,具体时间根据浙江省药械采购中心相关通知要求(法定工作日,上午8:3011:30,下午13:3017:00)(三)处理时间:按年度统一处理,具体见浙江省药械采购中心相关通知(四)联系电话:(三)邮箱:五、监督投诉渠道附件1药品在线交易产品全国最低价格联动申报办事流程图

展开阅读全文
相关资源
猜你喜欢
相关搜索

当前位置:首页 > 经济/贸易/财会 > 贸易

copyright@ 2008-2023 1wenmi网站版权所有

经营许可证编号:宁ICP备2022001189号-1

本站为文档C2C交易模式,即用户上传的文档直接被用户下载,本站只是中间服务平台,本站所有文档下载所得的收益归上传人(含作者)所有。第壹文秘仅提供信息存储空间,仅对用户上传内容的表现方式做保护处理,对上载内容本身不做任何修改或编辑。若文档所含内容侵犯了您的版权或隐私,请立即通知第壹文秘网,我们立即给予删除!