高明区处理政府信息公开申请流程图.docx

上传人:p** 文档编号:752588 上传时间:2024-02-26 格式:DOCX 页数:1 大小:66.60KB
下载 相关 举报
高明区处理政府信息公开申请流程图.docx_第1页
第1页 / 共1页
亲,该文档总共1页,全部预览完了,如果喜欢就下载吧!
资源描述

《高明区处理政府信息公开申请流程图.docx》由会员分享,可在线阅读,更多相关《高明区处理政府信息公开申请流程图.docx(1页珍藏版)》请在第壹文秘上搜索。

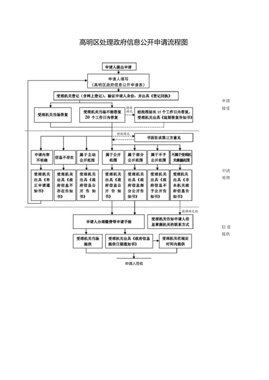
高明区处理政府信息公开申请流程图申请人签收申清接受中清处理信息提供

展开阅读全文
相关资源
猜你喜欢
相关搜索

当前位置:首页 > 办公文档 > 招标投标

copyright@ 2008-2023 1wenmi网站版权所有

经营许可证编号:宁ICP备2022001189号-1

本站为文档C2C交易模式,即用户上传的文档直接被用户下载,本站只是中间服务平台,本站所有文档下载所得的收益归上传人(含作者)所有。第壹文秘仅提供信息存储空间,仅对用户上传内容的表现方式做保护处理,对上载内容本身不做任何修改或编辑。若文档所含内容侵犯了您的版权或隐私,请立即通知第壹文秘网,我们立即给予删除!