人工挖孔灌注桩施工工艺(企业)标准.doc

上传人:p** 文档编号:953925 上传时间:2024-05-28 格式:DOC 页数:8 大小:92.50KB
下载 相关 举报
人工挖孔灌注桩施工工艺(企业)标准.doc_第1页
第1页 / 共8页
人工挖孔灌注桩施工工艺(企业)标准.doc_第2页
第2页 / 共8页
人工挖孔灌注桩施工工艺(企业)标准.doc_第3页
第3页 / 共8页
人工挖孔灌注桩施工工艺(企业)标准.doc_第4页
第4页 / 共8页
人工挖孔灌注桩施工工艺(企业)标准.doc_第5页
第5页 / 共8页
人工挖孔灌注桩施工工艺(企业)标准.doc_第6页
第6页 / 共8页
人工挖孔灌注桩施工工艺(企业)标准.doc_第7页
第7页 / 共8页
人工挖孔灌注桩施工工艺(企业)标准.doc_第8页
第8页 / 共8页
亲,该文档总共8页,全部预览完了,如果喜欢就下载吧!
资源描述

《人工挖孔灌注桩施工工艺(企业)标准.doc》由会员分享,可在线阅读,更多相关《人工挖孔灌注桩施工工艺(企业)标准.doc(8页珍藏版)》请在第壹文秘上搜索。

1、人工挖孔桩施工工艺标准1使用范围:人工挖孔桩使用于地下水以上人工填土层、粘土层、粉土层、砂质粘土层、淤泥粘土层和风化岩层。使用性较强,但对涌水量大,存在承压含水层等复杂水文地质条件时,需采取有效的防范措施,否则不宜采用. 2编制参考依据:2.1建筑工程施工质量验收统一标准GB5030020012.2建筑地基基础工程施工质量验收规范GB5020220022.3混凝土结构工程施工质量验收规范GB5020420022.4建筑桩基技术规范JGJ94943施工准备:3.1技术准备。3.1.1具备详细的地质勘察报告。3.1.2组织施工图自审和会审,编制桩基工程施工方案。3.1.3在施工前对操作人员进行技术

2、交底。3.1.4建筑物角点及轴线放样复核,施工场地自然地面标高测量。3.2材料要求3.2.1钢筋、水泥、粗细骨料等原材料:应符合混凝土结构工程施工质量验收规范GB502042002等有关规范规定。3.3主要机具3.3.1卷扬机、提土桶、吊笼。3.3.2软爬梯。3.3.3潜水泵、鼓风机和送风管,防毒面具。3.3.4镐、锹、土筐等挖土机具,若遇岩层、弧石,还需准备空压机、风镐、风钻等嵌岩工具。 3.3.5混凝土搅拌机及相应计量装置、串筒、插入式振动器。3.3.6经纬仪、水准仪、试模、钢卷尺及线锤。 3.4作业条件3.4.1确认作业土层中不含对人体有害的气体。3.4.2施工前场地地表层障碍物已清理,

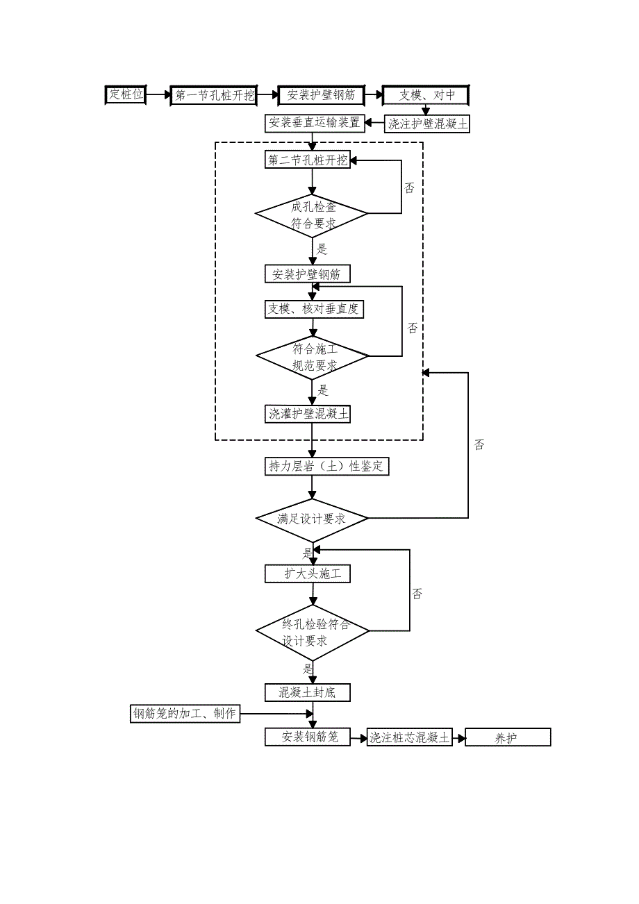
3、施工场地已平整并有排水措施。3.4.3施工用水、电、道路及临时设施已畅通与就绪。3.4.4桩位放样、标高引测完毕,并经有关单位签证认可。4操作工艺4.1基本原理人工挖孔灌注桩是以桩位为中心,利用混凝土或钢护筒做护壁,采用人工挖掘方法(或桩端扩大),然后安放钢筋笼灌注混凝土而成的基桩。4.2单桩施工工艺流程 (见下图) 4.3施工工艺要点 4.3.1定桩位:清除场地内障碍物,将场地平整,然后进行放样,设置龙门桩、龙门板,按施工图要求,定桩位。 4.3.2孔桩开挖第一节开挖高度以0.8米为宜(第一节混凝土护壁宜高出地面0.2米便于挡水、挡土)挖土次序先中间后周边。弃土装入箩筐内,由在孔口的一个安装

4、的支架,用卷扬机或电动葫芦提升,弃土堆放应离孔口2米处之外,当天清运。扩大头部分采取先挖桩身圆柱体后再按设计要求的尺寸从上到下削土而成。4.3.3护壁支模模板高度一般为1米,用松木板或钢模板拼装成90弧长,组装而成。模板安装好要进行对中检查(第一节)采用活动十字架和吊锤、钢尺,配合测量,发现偏差移动模板,直到桩中心与模板中心重合,做临时固定后,即可进行护壁混凝土浇注。4.3.4护壁混凝土 先将模板用水浇湿,灌注混凝土时,可用敲击模板或用竹竿、木棒、钢筋等反复钎捣。 4.3.5拆模 一般常温情况下约24小时可以拆模。4.3.6持力层岩(土)性鉴定当挖孔至桩端持力层岩(土)面时,应及时通知设计和岩

5、土工程勘 察单位相关人员,对岩(土)性进行鉴定,做为桩身是否已进入持力层为标准,并留取样品,一式两份,贴好标识并保存。4.3.7钢筋笼沉放对重量在1000kg以内的,可用带有卷扬机的活动三木塔吊运机具进行沉放,对直径、长度、重量大的钢筋笼要用吊机安装,吊机的性能必须满足安装的技术指标要求,控制好笼顶标高,固定好。4.3.8浇注桩芯混凝土准备工作基桩持力层及进入深度,扩大头尺寸,经验收合格,在护壁标示出桩顶标高位置,浇灌混凝土之前,后台工作已就绪。4.3.9桩芯混凝土浇注混凝土下料宜采用串筒,深桩孔应采用混凝土导管,让混凝土垂直灌入孔内,避免混凝土斜向冲击孔壁,分层(1米1.5米)振捣密实。5、

6、质量验收人工挖孔灌注桩的质量检验标准应符合表1、2的规定:表1 混凝土灌注桩钢筋笼质量检验标准(mm)项序检查项目允许偏差或允许值检查方法主控项目1主筋间距10用钢尺量2长度80用钢尺量一般项目1钢筋材质检验设计要求抽样送检2箍筋间距20用钢尺量3直径10用钢尺量人工挖孔桩质量检验标准(表2)项序检查项目允许偏差或允许植检查方法单位数值主控项目1桩位混凝土护壁mm13根、单排桩基垂直于中心线方向和群桩基础的边桩偏差:50将桩位平面中心线引到桩面上,用尺量检查条形桩基沿中心线方向和群桩基础的中间桩允许偏差:100钢套管护壁mm13根、单排桩基垂直于中心线方向和群桩基础的边桩偏差:100条形桩基沿

7、中心线方向和群桩基础的 中间桩允许偏差:1502孔深2000经设计或地质勘察部门验证持力层后,尺量检查3桩体质量验收要求及桩基检测技术规范设计动测或钻芯取样至桩尖下50cm4混凝土强度设计要求(每根桩留置试块不少于一组)试件报告或钻芯取样送检5承载力设计要求及基桩检测技术规范静荷载试验或高应变动力检测一般项目1垂直度混凝土护壁0.5吊垂球,尺量配合钢套管护壁12桩径mm50钢尺量3沉渣厚度端承桩mm50重锤测量或沉渣仪摩擦桩mm1004混凝土坍落度水下灌注法mm160220坍落度仪测量干施工法mm701005钢筋笼安装深度mm100用钢尺量6桩顶标高mm3050水准仪测量6施工注意事项6.1质

8、量控制要点6.1.1修筑第一节护壁时,孔圈中心线应和桩的中心重合,其与轴线的偏差不得大于10mm,且护壁应高出场地地表面200mm。6.1.2发现护壁有蜂窝、漏水等现象应及时修补,堵塞。6.1.3多桩同时成孔,应采取间隔挖孔方法。6.1.4遇流泥或流砂时,轻者可采取减少护壁高度(0.30.5m)的办法,重者采用“钢套筒”护壁或井点降水等方法进行施工.6.1.5当挖孔至桩端持力层岩(土)面时,应及时通知设计和岩土工程勘察单位有关人员,对岩(土)性进行鉴定,以确定成孔标准.6.2成品保护6.2.1施工中所开挖的土方要及时清运,严禁堆放在工程桩四周.6.2.2基础土方开挖时,避免开挖机械对桩身所造成

9、的损伤.6.3安全技术措施6.3.1孔内必须设置应急软爬梯。6.3.2对可能出现的流砂、管涌、涌水、流泥等情况应制定有针对性的安全防护措施。6.3.3每日开工前必须用小动物检测井下是否有毒、有害气体存在。桩孔开挖深度超过10米时,应有鼓风机向井下送风且风量不少于25L/S,施工现场应配备防毒面具。6.3.4挖出的土石方应及时运离孔口,不许堆放在孔口四周2m范围内,机动车辆的通行不得对井壁的安全造成影响。6.3.5施工现场的一切电源、电路的安装和拆卸必须由持证电工操作,采用三相五线电路系统,电器设备必须有可靠的保护接零,使用合格的漏电保护器,井下照明采用12V以下的安全灯。6.3.6孔口应加盖7施工记录7.1人工挖孔灌注桩施工记录7.2钢筋笼隐蔽工程验收记录7.3混凝土工程施工记录执笔人:*年 月 日

展开阅读全文
相关资源
猜你喜欢
相关搜索

当前位置:首页 > 建筑/环境 > 桩基础

copyright@ 2008-2023 1wenmi网站版权所有

经营许可证编号:宁ICP备2022001189号-1

本站为文档C2C交易模式,即用户上传的文档直接被用户下载,本站只是中间服务平台,本站所有文档下载所得的收益归上传人(含作者)所有。第壹文秘仅提供信息存储空间,仅对用户上传内容的表现方式做保护处理,对上载内容本身不做任何修改或编辑。若文档所含内容侵犯了您的版权或隐私,请立即通知第壹文秘网,我们立即给予删除!