视频监控系统的运维管理流程及运维服务工作内容.docx

上传人:p** 文档编号:1123540 上传时间:2024-08-04 格式:DOCX 页数:12 大小:75.51KB
下载 相关 举报
视频监控系统的运维管理流程及运维服务工作内容.docx_第1页
第1页 / 共12页
视频监控系统的运维管理流程及运维服务工作内容.docx_第2页
第2页 / 共12页
视频监控系统的运维管理流程及运维服务工作内容.docx_第3页
第3页 / 共12页
视频监控系统的运维管理流程及运维服务工作内容.docx_第4页
第4页 / 共12页
视频监控系统的运维管理流程及运维服务工作内容.docx_第5页
第5页 / 共12页
视频监控系统的运维管理流程及运维服务工作内容.docx_第6页
第6页 / 共12页
视频监控系统的运维管理流程及运维服务工作内容.docx_第7页
第7页 / 共12页
视频监控系统的运维管理流程及运维服务工作内容.docx_第8页
第8页 / 共12页
视频监控系统的运维管理流程及运维服务工作内容.docx_第9页
第9页 / 共12页
视频监控系统的运维管理流程及运维服务工作内容.docx_第10页
第10页 / 共12页
亲,该文档总共12页,到这儿已超出免费预览范围,如果喜欢就下载吧!
资源描述

《视频监控系统的运维管理流程及运维服务工作内容.docx》由会员分享,可在线阅读,更多相关《视频监控系统的运维管理流程及运维服务工作内容.docx(12页珍藏版)》请在第壹文秘上搜索。

1、视频监控系统的运维管理流程及运维服务工作内容1、日常运堆管理流程应指工程日常运维管理是指按照应指工程日常运维作业计划,对应指工程服务器、网络、存储等设备、软件、前端监控设备按照运维管理规范体系相关要求,进行系统监控、例行运维和分析优化,以确保应指工程稳定、高效运行.根据本项目特点,我公司制定了应指工程日常运维管理的业务流程示意图。应指工程日常运维管理通过下达日常运维作业计划,实现应指工程的日常维护和监控,做好应指工程日启基础管理和专业管理工作,建立运维质量分析和维护例会,提高运维管理的经济效率和省理水平.应指工程日常运维管理的业务流程示意图如下:运噬管H11S1.定许Jtf并FM1.这S分析衣

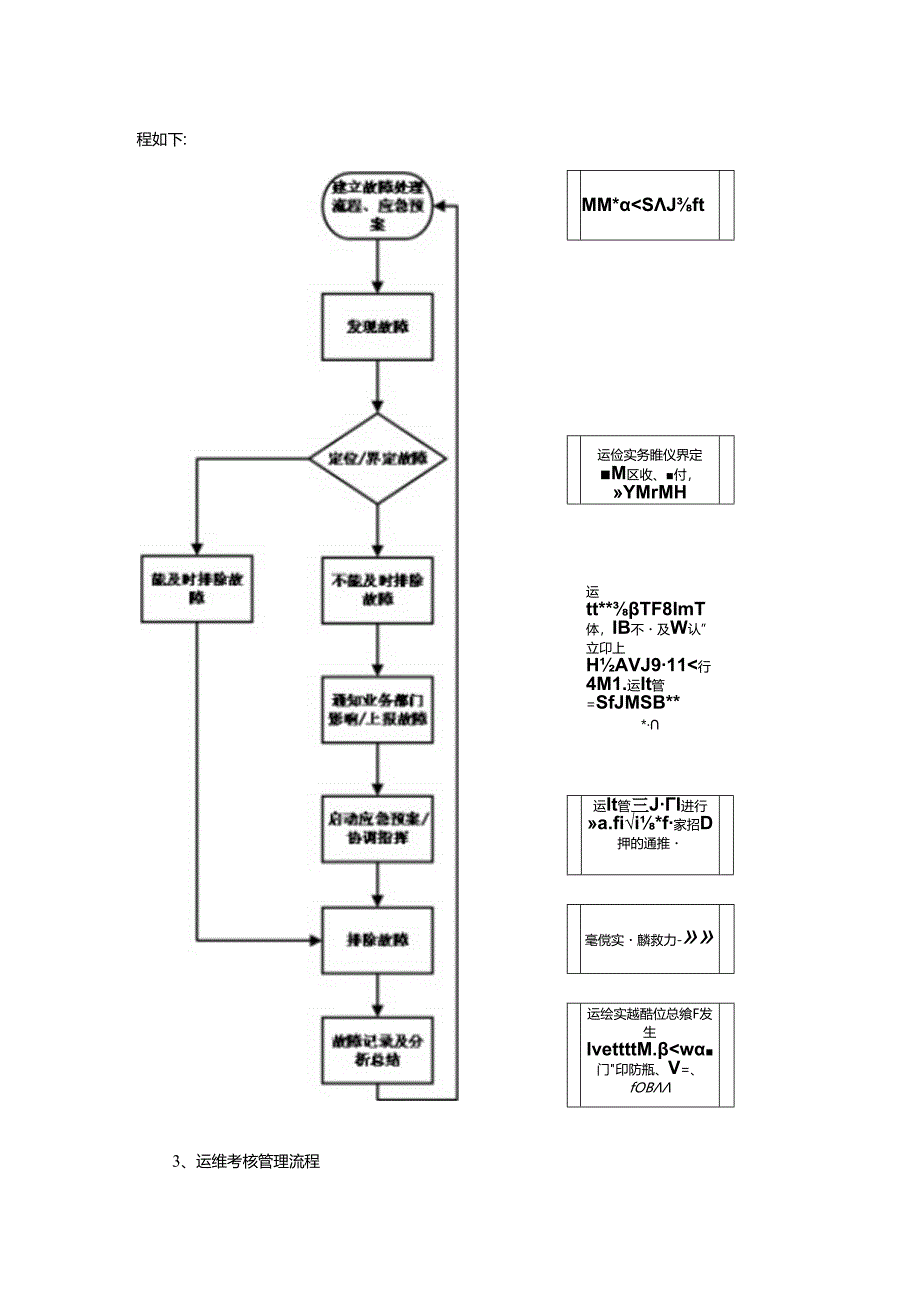
2、并爵就更蝌“传发计H2、故障处理流程回S工程故障管理是应指工程各种设备和系统进行实时检测、故障监控、故障预警、故障定位、故障隔寓和故障修复,是应指工程运维工作最重要的部分,是保脚应指工程可器性和可用性的重要措施。根据本项目特点,我公司制定了应指工程故障管理的业务流程.应指工程故障管理制定故障处理流程,能够迅速组织相关人员采取应急措施,定位故障,缩短故障历时,减少损失;事后认真分析记录,总结经验,制定防范措施,尽力减少或避免类似故阳的再度发生,以保证系统良好运行.应指工程故障管理的业务流程如下:3、运维考核管理流程MM*SJft运俭实务睢仪界定M区收、付,YMrMH运tt*TF8ImT体,IB不

3、及W认”立卬上HAVJ911行4M1.运It管=SfJMSB*运It管三JI进行a.fii*f家招D押的通推毫傥实麟救力-运绘实越酷位总飨F发生IvettttM.w门印防瓶、V=、fOB考核内叁.蚊开为a单付黑时聿四析女*送Ift问题应指工程运维考核管理是指市级和区县级应指工程运维管理部门按照应指工程运行维护管理规范体系的要求,对专业化的运维I艮务队伍运维管理工作进行定期和不定期的抽查,并根据应指工程的运行情况,对专业化的运维服务队伍运维管理工作考核评分。根据本项目特点,我公司制定了应指工程运维考核管理的业务流程.应指运维考核管理通过对运维工作的考核评比,对运行维护全过程进行严格控制和监督,贯

4、彻运行维护管理规章制度要求,促进运行维护工作制度化、规范化和科学化,确保应指工程运行稳定、高效,应指工程运维考核管理的业务流程如下:途经En对考发经息访计分.并计入1才&学保散4口荒网外场运维服务工作内容1.定期巡检服务我公司根据本项目特点及招标文件要求,制定以下定期巡检服务内容(1)每季度至少对所有视频监控前端设备(摄像机、杆体、基城、箱体等)到现场进行一次巡检,确保设备正常稳定工作(巡检标准详见运维服务技术标准要求).M体巡检频率应结合业主使用过程中的具体要求相应的调整。(2)每月至少对所有录像资料进行一次回放测试(结合业主使用过程中的具体要求应及时的调整巡检频率),检查监控系统录像是否正

5、常,避免发生不能录像、录像质最差等情况;(3海天分上午和下午两次统计视频监控前端设备在线率,生成视频在线率报表,并以此判断取电线路、网络链路连通状态故障,按运维服务质量要求京节中的哨应时间解决故障;(4)每周对前端摄像头位置、对应关系、GPS上的位置进行检查,并确保前端镜头点位的配置信息与实际一致.(5)防雷系统检测.(6)对巡检结果出具报告上报业主及相关单位。2.日常监控监控与巡检通过综合监控运维平台每日对前端网络设备进行实时监控与巡检,对设备的运行状态通过平台进行展现,对于存在故障的设备及时进行告警,通过运维流程进行工单分派,落实具体人员对故障进行现场解决,各系统详细监控巡检内容和周期如下

6、:1 .巡检内容D前端设备链路连接状态、网络设备端口状态和网络时延,确保承载网络符合应指工程运行质量要求;根据网管监控平台实时告警信息,发现异常状况,及时处理;3)受理业务部门前端故障申告;4)检查设备电气和传输性能,应符合设备的技术指标要求;5)根据业务部门震求申请,调整摄像头监控区域;6)结构完整,安装符合技术规范要求,部件齐全,设备清洁,设备安装环境符合要求;7)技术资料齐全、完整,与设备相符;8)设备长期使用,性能严重下降,元器件老化、经常出现不明故原难以修系的要及时更换,坏件及时返修.2 .作业与周期作业项目与周期如下:外场治安监控系统I监控摄像头网管监控编码器性能告警、摄像机视频信

7、号丢失告警等远程每口2智能机箱网管监控监控智能机箱的在线状态、柜门状态、供电输出、防雨状态、温度状态等远程每R3图像监看对图像进行测试查看,发现雪花、濠屏、模糊、科动、偏色、画面冻结、增益失衡、图像丢失、图像失真跳帧等问迎远程每日4摄像机、云台控制检查检查摄像机的转动及摄象机变倍远程或现场每周5检介编碍器运行情况漏码器运行状况检查、存储空间检查远程或现场堤周6检食编吗器软件版本、配置编码器软件版本一致性检查、配用数据检查远程或现场每周7摄像头监控区域出据业务部门需求工单,调整摄像头监控区域现场每口外场治安监控系统调整8接入线路检杳光(电)缆的布放网线的超五类达标测试、光纤的衰减测试、税路带宽测

8、试、网络畅通性(丢包率、端口误码率等)现场每季9设备检查安装规能、设备状态、设备整沽、标签粘贴、设备接地、设备安放、所用电源的安全管理现场每李10立杆枪杳检杳监控摄像头立杆H体、立杆基础的结构和安装状态现场每季11网络负荷检查检查网络负荷状态远程实时12网络设备运状况检查检奁网络设备CPU利用率、内存利用率、网络端口工作情况以及各端口负载远程实时13备份网络设配说文件备份网络设备配置文件远程每月M网络设备监控网络负载告警、CPU利用率告警、端口状态告警、内存利用率告警等告警信息远程实时15设得安装环境工作状态检查供电、室内、室外、温度、湿度、防雷接地和电源线路接口检Sh设箸工作状况.指示灯信息

9、检查:摄像头遮挡情况(如树枝等异物遮挡摄像头)检查现场年季16社会公共安全视施图像管理软件软件系统内所有设名数据检查、完善、实时更新变更情况现场每月2.3.1.2外场-电子卡口系统监控维护内容如下:外场-电子卡口系统链路连接状态、网络设备端口状态和网络时延,确保承载网络符合卡口系统运行质量要求;根据网管监控平台实时告警信息,发现异常状况,及时处理;检查设备电气和传输性能,应符合设备的技术指标要求;检查高清抓拍单元是否自动识别车牌号、车牌颜色、车身颜色、车型等信息,发现异常状况,及时处理;检测线圈是否正确运行,发现异常状况,及时处理;检测卡口闪光灯、补光灯是否正常,发现异常状况,及时处理;结构完

10、整,安装符合技术规范要求,部件齐全,设备流吉,设备安装环境符合要求;技术资料齐全、完整,与设省相符;设备长期使用,性能严重下降,元器件老化、经常出现不明故障难以修复的要及时更换,坏件及时返修;作业项目和周期如下:外场-电子卡口系统1外场-电子卡口系统摄像慎头网管监控存储告警、设备掉线告警、摄像机视频信号丢失告警等远程每日2智能机箱网管监控监控智能机箱的在线状态、柜门状态、供电输出、防雷状态、阻度状态等远程每日3图像监看时图像进行测试杳看,发现雪花、滚屏、模糊、抖动、偏色、iS面冻结、增靛失衡、图像丢失、图像失我、跳帧等问题远程每日4车辆信息自动识别检查检查高清抓拍单元是否自动识别车牌号、车牌前

11、色、车身颜色、车型等信息现场每周5检河1设圈检杳检查检测税圈能否正常触发现场每周6闪光灯检查检查闪光灯能否正常工作现场每周7补光灯检查检查补光灯能否正常工作现场每周8检查外场-电子卡口系统服务活运行情况服务器运行状况检查、存储空间检查远程或现场每周9检查外场-电子卡口系统系统收件版本、配置外场-电子卡11系统软件版本一致性检查、配置数据检杳远程或现场每周10接入践路检查光(电)缆的布放、网线的超五类达标测试、光纤的衰HfcifJiAs线路带宽测试、网络畅通性(丢包率、端口误码率等)现场每季11设名检杳安装规范、设备状态、设备整洁、标卷粘贴、设备接地、设备安放、所用电源的安全管理现场每季12立杆

12、检杏检查外场-电子卡F1.系统立杆杆体、立杆基础的结构和安装状态现场每季13网络仇荷检查检查网络负荷状态远程实时14网络设存运状况检查检查网络设备CPU利用率、内存利用率、网络端口工作情况以及各布口负收远程实时15备份网络设配式文件备份网络谀备配置文件远程每月外场-电子卡口系统16网络设翁监控网络负载告警、C1.HJ利用率告警、端口状态告警、内存利用率告警等告警信息远程实时17设翁安装环境匚作状态检查供电、室内、室外、温度、湿度、防雷接地和电源线路接口检查:设备工作状况,指示灯信息检查:撮像头遮挡情况如树枝等异物遮挡摄像头检查现场每季18社会公共安全视频图像管理软件软件系统内所有设法数据检直、

13、完善、实时更新变更情况现场每月3.故障处理及维修服务我公司将提供工程设备故障响应、排查及维修随,并派遣相应技术人员提供驻场技术支持.我公司将与本工程建设的总包方、供应商、电力供电公司、网络接入运营单位、外场原厂设备企业等干系单位积极对接,对业主上报的或通过日常监控及巡检发现的系统或设备故障,由我方进行排声分析,定位故阳原因,研判故獐的责任主体. 如为产品质量问题,对于处于质保期内的,协调上述相应的干系单位进彳亍处理; 超过质保期的,由我公司对治安监控中涉及到的主要设备提供维修。 如为工程故障,由我公司进行处理.在维修及维护工作中,若遇到特殊情况(如线路损坏、缺少备件等),无法立即修豆的情况,我

14、公司将立即提出维修方案。并采取有效措施(如使用同类型备件暂时替换使用)尽量使故障减少到中最小,以保证系统在最大限度内正常工作.我公司将满足以下外场故障响应和恢豆时间要求:序号作业项目项目内容响应时间恢复时间1故障处理受理业务部门前端故障申告重大故解:W30分钟重大故障:W2小时故嫄:W60分钟故障:W4小时,般故障:60分钟般故障:24小时其他故障:W60分钟其他故障:W48小时2摄像头监控区域蠲整根据业务部门需求工单,调整摄像头监控区域按需4.设密维保服务在运物及务期内,我公司将针对治安监控摄像机、卡口抓拍设备等垂要设备,立杆、机箱等主要设备,提供技术封寺、故障处理、硬件保障、软件服务等维保8艮务.具体服务内容如下:技术支持:提供7*24小时的技术支持服务,以远程技术支持为主、现场技术西寺为辅,在远程技术支持不能解决问题或故障的情况下,立即提供现场

展开阅读全文
相关资源
猜你喜欢
相关搜索

当前位置:首页 > 通信/电子 > 监控

copyright@ 2008-2023 1wenmi网站版权所有

经营许可证编号:宁ICP备2022001189号-1

本站为文档C2C交易模式,即用户上传的文档直接被用户下载,本站只是中间服务平台,本站所有文档下载所得的收益归上传人(含作者)所有。第壹文秘仅提供信息存储空间,仅对用户上传内容的表现方式做保护处理,对上载内容本身不做任何修改或编辑。若文档所含内容侵犯了您的版权或隐私,请立即通知第壹文秘网,我们立即给予删除!