省级油气管道建设和保护事故应急响应流程图.docx

上传人:p** 文档编号:333013 上传时间:2023-06-02 格式:DOCX 页数:5 大小:57.07KB
下载 相关 举报
省级油气管道建设和保护事故应急响应流程图.docx_第1页
第1页 / 共5页
省级油气管道建设和保护事故应急响应流程图.docx_第2页
第2页 / 共5页
省级油气管道建设和保护事故应急响应流程图.docx_第3页
第3页 / 共5页
省级油气管道建设和保护事故应急响应流程图.docx_第4页
第4页 / 共5页
省级油气管道建设和保护事故应急响应流程图.docx_第5页
第5页 / 共5页
亲,该文档总共5页,全部预览完了,如果喜欢就下载吧!
资源描述

《省级油气管道建设和保护事故应急响应流程图.docx》由会员分享,可在线阅读,更多相关《省级油气管道建设和保护事故应急响应流程图.docx(5页珍藏版)》请在第壹文秘上搜索。

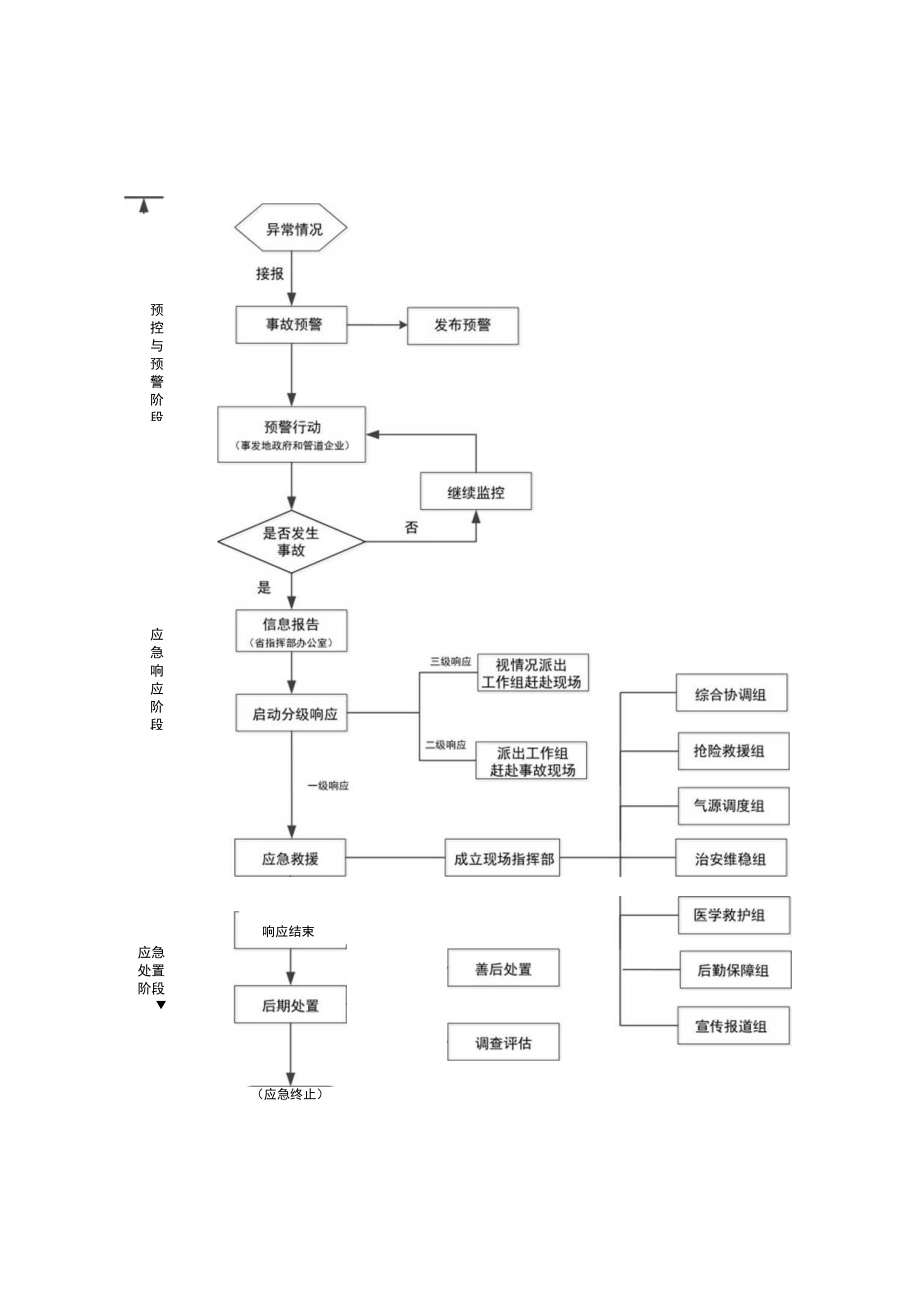
1、预控与预警阶段应急响应阶段响应结束(应急终止)应急处置阶段省级油气管道建设和保护事故应急指挥机构及职责指挥机构职务职责指省政府分管省油气管道建设和保护事故指挥部职责:贯彻落实省委、省政府及关于省级油气管道建设和保护挥长能源工作副省长事故工作的决策部署;统筹协调全省油气管道建设和保护事故防范工作;组织指挥重大油气管道建设和保护事故应急处置工作;指导协调重大及以上油气管道建设和保护事故调查评估和善后处置工作;贯彻落实上级领导指示批示精神和省委、省政府及省应急救援总指挥部交办的油气管道建设和保护事副省政府故应急处置的其他重大事项。指协管副秘书长省油气管道建设和保护事故指挥部办公室职责:制定、修订油气

2、管道建设和保护事故应急预案,协助省委、省政府指定的负责同志组织开展油气管道建设和保护事故应急处置工作;组织调动有关应挥省应急厅厅长急力量参加油气管道建设和保护事故应急处置行动;按规定报告和协助发布油气管道建设和保护事故应急处置信息;指导市、县油气管道建设和保护事故应对工作;完成省指挥部交办的其他任务。长省能源局局长成省委宣传部根据省指挥部发布的权威信息,组织协调新闻媒体开展应急新闻报道,积极引导舆论。员省发展改革委负责协调省粮食和储备局落实省级重要物资和应急储备物资动用计划和指令。省公安厅组织、指导、监督各级公安机关依法查处侵占、破坏、盗窃、哄抢油气输送管道设施、打孔盗油单等破坏油气管道的违法

3、犯罪行为,维护油气管道建设和保护事故现场治安秩序。位省财政厅落实油气管道沿线各级政府参与油气管道保护的激励政策,调动各级政府保护油气管道的积极性,协调事故应急处置所发生的费用补偿。指挥机构职务职责省自然资源厅组织、指导各市(县、区)自然资源部门依法制止和查处油气管道保护范围以及安全距离内非法占用土地的行为。省生态环境厅负责油气管道重大污染事件的现场环境监测工作,协助当地政府做好环境污染善后处置工作。省住建厅严格油气管道周边房建市政施工项目日常监督管理及违法施工行为查处,依法查处已取得建设工程规划许可但未办理建筑工程施工许可手续擅自施工的违法行为。省交通厅负责组织协调解决公路建设项目与油气管道建

4、设和安全运行相关的重大问题;为应急救援车辆提供绿色通道。省水利厅组织或参与协调解决水利工程建设与油气管道建设和安全运行相关的重大问题。配合当地政府查处并协调解决河道采砂对油气管道造成的安全隐患,制止或取缔违反防洪法规定的油气管道工程。省卫健委负责组织督导事发地卫生健康部门,协调调派专家团队,开展事故伤病员救治和相关人员医疗卫生保障。省应急厅负责油气管道安全生产的综合监督管理工作,负责油气管道工程建设项目安全设施与管道主体工程同时设计、同时施工、同时投入使用的审查,参与事故应急救援。省国资委督促相关省属企业加强油气管道保护工作,落实各项防范措施。省市场监管局负责督促管输企业依法落实监督检验和定期

5、检验法定责任,提供油气管道抢修保通技术支持。省能源局主管油气管道建设和保护工作,承担指挥部办公室有关职责;组织开展油气管道建设和保护事故应急演练;协调处理本行政区域油气输送管道保护的重大问题。指挥机构职务职责中国铁路太原局集团公司组织协调解决辖区内铁路建设项目与油气管道建设和安全运行相关的重大问题。省消防救援总队负责油气管道建设和保护事故现场的灭火救援和处置工作。华新燃气集团落实管道保护主体责任,加强油气管道周边巡查巡护,做好监测分析和风险管控;参与制定气源调度方案,向管道气供应受到影响的区域调配气源。山西省油气管道建设和保护事故分级特别重大事故重大事故较大事故一般事故指造成30人以上死亡,或

6、者100人以上重伤,或者1亿元以上直接经济损失的事故。指造成10人以上30人以下死亡,或者50人以上100人以下重伤,或者5000万元以上1亿元以下直接经济损失的事故。指造成3人以上10人以下死亡,或者10以上50人以下重伤,或者1000万元以上5000万元以下直接经济损失的事故。指造成3人以下死亡,或者10人以下重伤,或者IOOO万元以下直接经济损失的事故。上述所称“以上包括本数、“以下”不包括本数。省级油气管道建设和保护事故响应条件一级响应二级响应三级响应符合下列条件之一的启动一级响应:符合下列条件之一的启动二级响应:符合下列条件之一的启动三级响应:(1)发生重大及以上事故;(1)发生较大事故;(1)发生一般事故;(2)造成管道设施损坏,设计压力4MPa(2)造成管道设施损坏,设计压力4MPa(2)造成管道设施损坏,设计压力4MPa以上油气管道停输72小时以上;以上油气管道停输24小时以上,72小时以下;以上油气管道泄漏、停输24小时以下;(3)省指挥部认为需要启动一级响应的(3)省指挥部办公室认为需要启动二级(3)省指挥部办公室认为需要启动三级情形。响应的情形。响应的情形。上述所称“以上”包括本数、“以下”不包括本数。

展开阅读全文
相关资源
猜你喜欢
相关搜索

当前位置:首页 > 行业资料 > 公共安全/安全评价

copyright@ 2008-2023 1wenmi网站版权所有

经营许可证编号:宁ICP备2022001189号-1

本站为文档C2C交易模式,即用户上传的文档直接被用户下载,本站只是中间服务平台,本站所有文档下载所得的收益归上传人(含作者)所有。第壹文秘仅提供信息存储空间,仅对用户上传内容的表现方式做保护处理,对上载内容本身不做任何修改或编辑。若文档所含内容侵犯了您的版权或隐私,请立即通知第壹文秘网,我们立即给予删除!