精密工具企业财务资产管理.docx

上传人:p** 文档编号:435768 上传时间:2023-08-27 格式:DOCX 页数:7 大小:126.34KB
下载 相关 举报
精密工具企业财务资产管理.docx_第1页
第1页 / 共7页
精密工具企业财务资产管理.docx_第2页
第2页 / 共7页
精密工具企业财务资产管理.docx_第3页
第3页 / 共7页
精密工具企业财务资产管理.docx_第4页
第4页 / 共7页
精密工具企业财务资产管理.docx_第5页
第5页 / 共7页
精密工具企业财务资产管理.docx_第6页
第6页 / 共7页
精密工具企业财务资产管理.docx_第7页
第7页 / 共7页
亲,该文档总共7页,全部预览完了,如果喜欢就下载吧!
资源描述

《精密工具企业财务资产管理.docx》由会员分享,可在线阅读,更多相关《精密工具企业财务资产管理.docx(7页珍藏版)》请在第壹文秘上搜索。

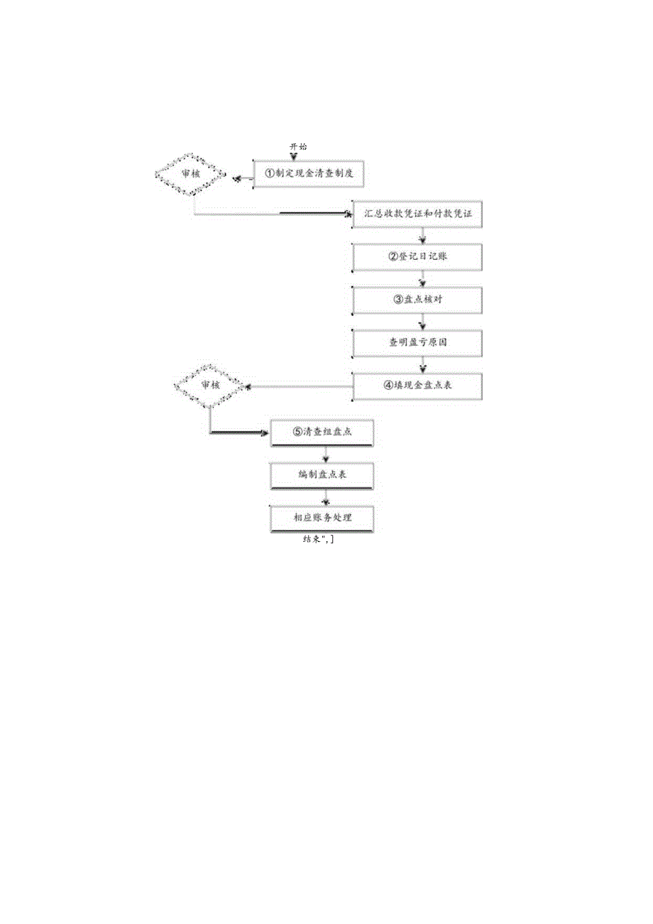
1、职责5职责6负责固定资产投资方案的制定与可行性分析职责7对存货进行清查,负责存货最佳数量、订货的分析与控制职责8 负责固定资产折旧基金定期提取工作的报表审核职责9 组织全公司的低值易耗品和固定资产的清查、盘点和不定期的抽查工作H每月负责汇总各部门的物资领用计划,督导采购部门和仓库落实计划的实施情况完成领导交待的其他事项职责11精密工具企业财务资产管理一、资产管理岗位职责在财务经理的直接领导下,负责低值易耗品、固定资产、商品、物料用品、原材料的制证、账簿管理和企业购买力的申报、记账和报表工作检查企业固定资产、低值易耗品、物料用品等财产物资的使用保管情况,注意发现和处理财产物资管理中存在的问题,确

2、保企业财产物资的合理使用和安全管理负责审核和编制商品、物料用品、原材料的记账和以上账户收支业务的登记、结眯升眯T佐I萨#ZI负责收集审核各部门的物资购置计划,根据库存情况核定购买量,按规定报有关I_空二7/领导批准后.组织安排采购。对固定资产账面与实物一致性、可用性进行检查核实,对货币资金进行管理二、资产管理会计肉位职责职责1职责2),建立固定资产、低值易耗品台账,与财务定期核对 )调查低值易耗品的使用周期,确定摊销比率职责3 负责固定资产购买的初审及备案以及管理货币资金职贲4职责5职责6)负贲资产转让费,使用费,资产税的账目管理)负责企业内部设备的调拨)定期巡查固定资产完好情况职责7企业清产核资工作职责8职责9),办理财产保险,确保财产安全)完成主管交待的其他事项开始结束,四、备用金收支麻务处理流程参与部门:财务经理/总监、财务部、出纳、各部门结束四、应收距款管理流程参与部门:业务部、财务经理、财务部、法务部交单L登记应收账款应收账期分析催款I/犷J否.产TS付款1.,尸、飞,审核fr.J催款存档4if手结束v姆六、固定资产盘点管理流程参与部门:财务总监、财务经理、财务部、行政部、各部门

展开阅读全文
相关资源
猜你喜欢
相关搜索

当前位置:首页 > 论文 > 管理论文

copyright@ 2008-2023 1wenmi网站版权所有

经营许可证编号:宁ICP备2022001189号-1

本站为文档C2C交易模式,即用户上传的文档直接被用户下载,本站只是中间服务平台,本站所有文档下载所得的收益归上传人(含作者)所有。第壹文秘仅提供信息存储空间,仅对用户上传内容的表现方式做保护处理,对上载内容本身不做任何修改或编辑。若文档所含内容侵犯了您的版权或隐私,请立即通知第壹文秘网,我们立即给予删除!