行政许可类事项流程图.docx

上传人:p** 文档编号:749853 上传时间:2024-02-26 格式:DOCX 页数:20 大小:688.08KB
下载 相关 举报
行政许可类事项流程图.docx_第1页
第1页 / 共20页
行政许可类事项流程图.docx_第2页
第2页 / 共20页
行政许可类事项流程图.docx_第3页
第3页 / 共20页
行政许可类事项流程图.docx_第4页
第4页 / 共20页
行政许可类事项流程图.docx_第5页
第5页 / 共20页
行政许可类事项流程图.docx_第6页
第6页 / 共20页
行政许可类事项流程图.docx_第7页
第7页 / 共20页
行政许可类事项流程图.docx_第8页
第8页 / 共20页
行政许可类事项流程图.docx_第9页
第9页 / 共20页
行政许可类事项流程图.docx_第10页
第10页 / 共20页
亲,该文档总共20页,到这儿已超出免费预览范围,如果喜欢就下载吧!
资源描述

《行政许可类事项流程图.docx》由会员分享,可在线阅读,更多相关《行政许可类事项流程图.docx(20页珍藏版)》请在第壹文秘上搜索。

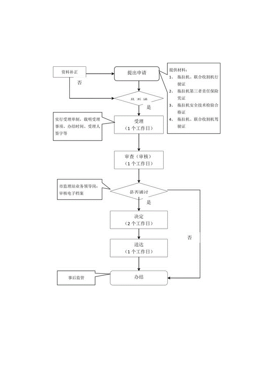
1、行政许可类事项流程图(农业机械维修技术合格证核发、换发)行政处罚类事项流程图(伪造变造证照、未取得或使用无效操作证件操作农业机械的处罚)(驾驶未经安全技术检验或者安全技术检验不合格的拖拉机、联合收割机以及其他自走式农业机械的处罚)主办机构:农机安全监理站监督主体:县农机中心监督电话:8923602(未按照规定办理登记手续并取得相应的证书和牌照,擅白将拖拉机、联合收割机投入使用,或者未按照规定办理变更登记手续的处罚(伪造、变造或者使用伪造、变造的拖拉机、联合收割机证书和牌照的,或者使用其他拖拉机、联合收割机的证书和牌照的处罚)行政处罚类事项运行流程图(未取得拖拉机、联合收割机操作证件而操作拖拉机

2、、联合收割机的处罚)(拖拉机、联合收割机操作人员操作与本人操作证件规定不相符的拖拉机、联合收割机,或者操作未按照规定登记、检验或者检验不合格、安全设施不全、机件失效的拖拉机、联合收割机的处罚)(使用拖拉机、联合收割机违反规定栽人的处罚)行政处罚类事项流程图(经检验、怆查发现农业机械存在事故隐患,经农业机械化主管部门告知拒不排除并继续使用的处罚)(对未取得维修技术合格证或者使用伪造、变造、过期从事维修经营的处罚)行政处罚类事项流程图(对农业机械维修经营者使用不符合安全技术配件维修农业机械,或者拼装、改装农业机械整机、或者承揽维修已达报废条件农业机械的处罚)行政检查事项流程图(农机安全宣传教育、农机安全执法检查和农机安全生产监管)行政检查事项流程图(联合收割机跨区作业管理)行政确认类事项流程图(农机事故处理及责任认定)其他类行政权力运行流程图(农业机械质量争议调解)

展开阅读全文
相关资源
猜你喜欢
相关搜索

当前位置:首页 > 法律/法学 > 行政法

copyright@ 2008-2023 1wenmi网站版权所有

经营许可证编号:宁ICP备2022001189号-1

本站为文档C2C交易模式,即用户上传的文档直接被用户下载,本站只是中间服务平台,本站所有文档下载所得的收益归上传人(含作者)所有。第壹文秘仅提供信息存储空间,仅对用户上传内容的表现方式做保护处理,对上载内容本身不做任何修改或编辑。若文档所含内容侵犯了您的版权或隐私,请立即通知第壹文秘网,我们立即给予删除!