安全监理工作程序及实施要点.docx

上传人:p** 文档编号:986306 上传时间:2024-06-06 格式:DOCX 页数:2 大小:84.69KB
下载 相关 举报
安全监理工作程序及实施要点.docx_第1页
第1页 / 共2页
安全监理工作程序及实施要点.docx_第2页
第2页 / 共2页
亲,该文档总共2页,全部预览完了,如果喜欢就下载吧!
资源描述

《安全监理工作程序及实施要点.docx》由会员分享,可在线阅读,更多相关《安全监理工作程序及实施要点.docx(2页珍藏版)》请在第壹文秘上搜索。

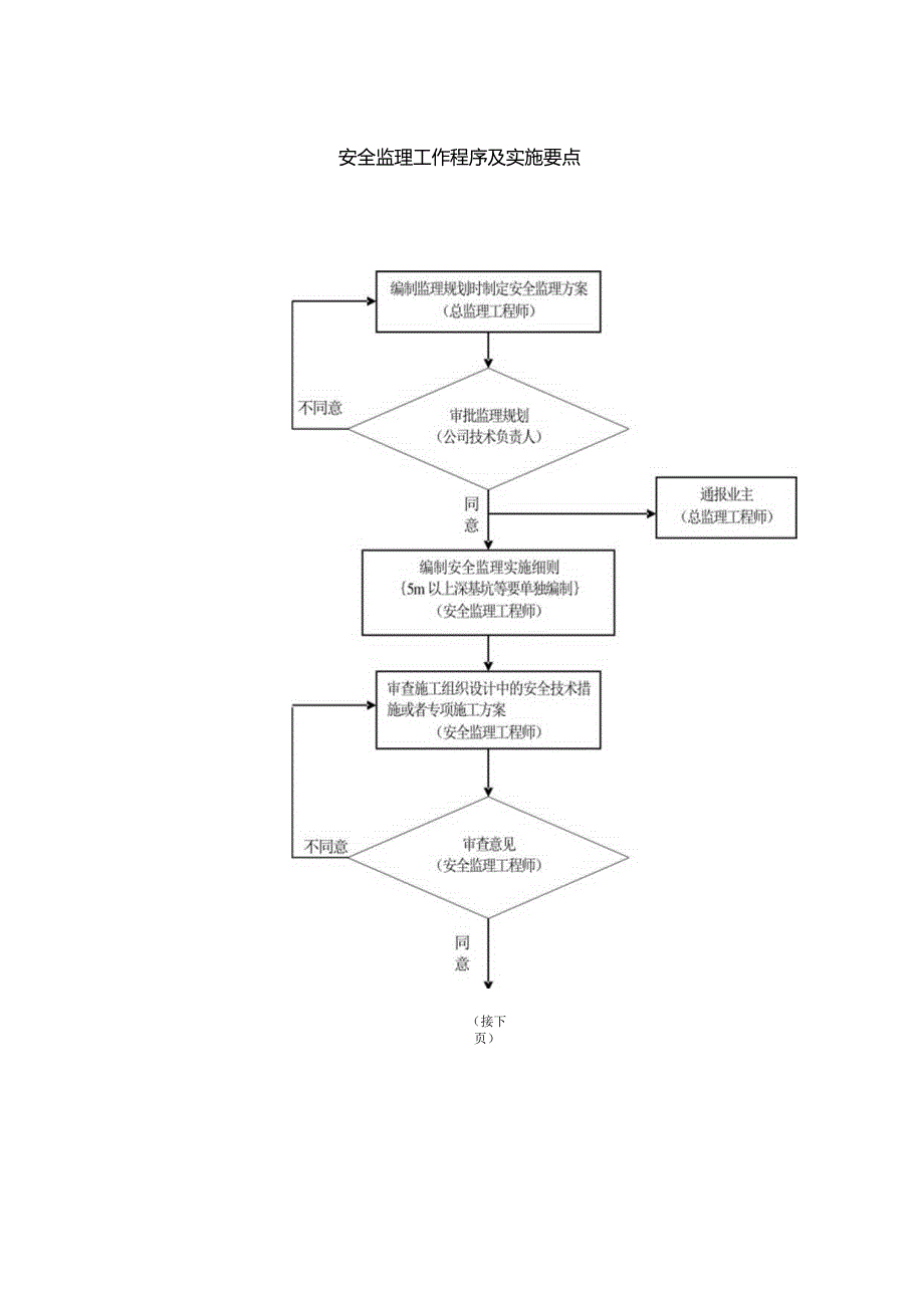
安全监理工作程序及实施要点(接下页)注:停工通知单、整改通知单、监理工作联系单签发、送达按原规定执行。

展开阅读全文
相关资源
猜你喜欢
相关搜索

当前位置:首页 > 办公文档 > 工作总结

copyright@ 2008-2023 1wenmi网站版权所有

经营许可证编号:宁ICP备2022001189号-1

本站为文档C2C交易模式,即用户上传的文档直接被用户下载,本站只是中间服务平台,本站所有文档下载所得的收益归上传人(含作者)所有。第壹文秘仅提供信息存储空间,仅对用户上传内容的表现方式做保护处理,对上载内容本身不做任何修改或编辑。若文档所含内容侵犯了您的版权或隐私,请立即通知第壹文秘网,我们立即给予删除!