行政职权运行流程图示例行政处罚类简易程序流程图.docx

上传人:p** 文档编号:557998 上传时间:2023-11-01 格式:DOCX 页数:3 大小:132.71KB
下载 相关 举报
行政职权运行流程图示例行政处罚类简易程序流程图.docx_第1页
第1页 / 共3页
行政职权运行流程图示例行政处罚类简易程序流程图.docx_第2页
第2页 / 共3页
行政职权运行流程图示例行政处罚类简易程序流程图.docx_第3页
第3页 / 共3页
亲,该文档总共3页,全部预览完了,如果喜欢就下载吧!
资源描述

《行政职权运行流程图示例行政处罚类简易程序流程图.docx》由会员分享,可在线阅读,更多相关《行政职权运行流程图示例行政处罚类简易程序流程图.docx(3页珍藏版)》请在第壹文秘上搜索。

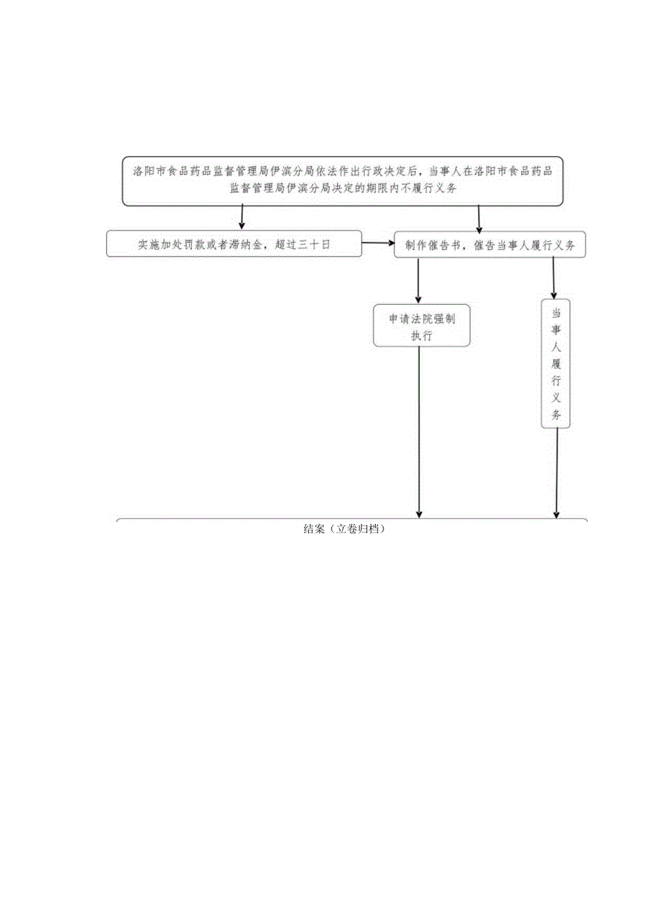
行政职权运行流程图示例三、行政处罚类简易程序流程图四、行政强制措施类流程图结案(立卷归档)

展开阅读全文
相关资源
猜你喜欢
相关搜索

当前位置:首页 > 法律/法学 > 行政法

copyright@ 2008-2023 1wenmi网站版权所有

经营许可证编号:宁ICP备2022001189号-1

本站为文档C2C交易模式,即用户上传的文档直接被用户下载,本站只是中间服务平台,本站所有文档下载所得的收益归上传人(含作者)所有。第壹文秘仅提供信息存储空间,仅对用户上传内容的表现方式做保护处理,对上载内容本身不做任何修改或编辑。若文档所含内容侵犯了您的版权或隐私,请立即通知第壹文秘网,我们立即给予删除!